TOP
|
特許
|
意匠
|
商標
特許ウォッチ
Twitter
他の特許を見る
公開番号
2025151129
公報種別
公開特許公報(A)
公開日
2025-10-09
出願番号
2024052394
出願日
2024-03-27
発明の名称
集塵システム及び報知システム
出願人
新東工業株式会社
代理人
個人
,
個人
,
個人
主分類
B01D
46/66 20220101AFI20251002BHJP(物理的または化学的方法または装置一般)
要約
【課題】フィルタから払い落とされた粉塵の容積を出力できる技術を提供する。
【解決手段】集塵システムは、外気が導入される吸気口を有する第1空気室と、第1空気室に配置され、第1空気室内の空気から粉塵を分離し、空気を通過させるフィルタと、フィルタを通過した空気が導入される導入口と、装置外に連通する排気口とを有する第2空気室と、第2空気室に配置され、排気口へ気流を発生させ、吸気口から第1空気室へ外気を送り込む送風機と、第2空気室に配置され、フィルタに付着した粉塵を払い落とす払落装置と、第1空気室に配置され、フィルタから払い落とされた粉塵を収容するボックスと、第1空気室と第2空気室との差圧を検出するセンサと、センサの検出結果を入力する制御部とを備え、制御部は、払落装置がフィルタに付着した粉塵を払い落とす動作の前後の差圧の変化に基づいて、フィルタから払い落とされた粉塵の容積に関する情報を出力する。
【選択図】図1
特許請求の範囲
【請求項1】
外気が導入される吸気口を有する第1空気室と、
前記第1空気室に配置され、前記第1空気室内の空気から粉塵を分離し、前記空気を通過させるフィルタと、
前記フィルタを通過した前記空気が導入される導入口と、装置外に連通する排気口とを有する第2空気室と、
前記第2空気室に配置され、前記排気口へ気流を発生させ、前記吸気口から前記第1空気室へ前記外気を送り込む送風機と、
前記第2空気室に配置され、前記フィルタに付着した粉塵を払い落とす払落装置と、
前記第1空気室に配置され、前記フィルタから払い落とされた粉塵を収容するボックスと、
前記第1空気室と前記第2空気室との差圧を検出するセンサと、
前記センサの検出結果を入力する制御部と、
を備え、
前記制御部は、前記払落装置が前記フィルタに付着した粉塵を払い落とす動作の前後の前記差圧の変化に基づいて、前記フィルタから払い落とされた粉塵の容積に関する情報を出力する、
集塵システム。
続きを表示(約 770 文字)
【請求項2】
前記制御部は、前記差圧の変化量と、前記粉塵の見かけ比重とに基づいて前記フィルタから払い落とされた粉塵の容積に関する情報を出力する、請求項1に記載の集塵システム。
【請求項3】
前記制御部は、前記フィルタから払い落とされた粉塵の容積に関する情報と、前記ボックスの容量とに基づいて、前記ボックスの貯留量に関する情報を出力する、請求項1又は2に記載の集塵システム。
【請求項4】
前記集塵システムの停止指示に応じて、
前記送風機は、送風を停止し、
前記制御部は、前記送風機の停止前に検出された前記差圧を記憶し、
前記払落装置は、前記送風機の送風の停止後に前記フィルタに付着した粉塵を払い落し、
前記集塵システムが再起動したことに応じて、
前記制御部は、前記送風機の停止前に検出された前記差圧と、前記集塵システムが再起動した後の前記差圧との変化に基づいて、前記送風機の停止後に前記払落装置によって前記フィルタから払い落とされた粉塵の容積に関する情報を出力する、請求項1又は2に記載の集塵システム。
【請求項5】
第1空気室、フィルタ、第2空気室の順に空気を通過させて空気中の粉塵を前記フィルタに分離させる集塵機に接続される報知システムであって、
前記第1空気室と前記第2空気室との差圧を検出するセンサと、
前記センサの検出結果を入力する制御部と、
を備え、
前記制御部は、前記集塵機が前記フィルタに付着した粉塵を払い落とす動作をしたことに応じて前記動作の前後の前記差圧の変化を取得し、前記差圧の変化に基づいて、前記フィルタから払い落とされた粉塵の容積に関する情報を出力する、
報知システム。
発明の詳細な説明
【技術分野】
【0001】
本開示は、集塵システム及び報知システムに関する。
続きを表示(約 1,800 文字)
【背景技術】
【0002】
特許文献1は、集塵機を開示する。集塵機は、集塵室に配置され、空気中の粉塵(ダスト)を捕集するフィルタと、フィルタに捕集された粉塵をエアで払い落とすエア噴射機構と、バケット室に払い落とされる粉塵を受容する粉塵ボックスと、バケット室内の底部に設けられ、粉塵ボックスを押し上げて集塵室の下面に押し当てるリフト機構と、を備える。リフト機構は、エアによって膨らむエアバッグを有する。エアバッグの内圧変動を検知する圧力検知器が所定以上の内圧変動を検知すると、集塵機から粉塵ボックスを取り出すダスト排除指令が出される。
【先行技術文献】
【特許文献】
【0003】
特開平7-51527号公報
【発明の概要】
【発明が解決しようとする課題】
【0004】
特許文献1に記載の装置においては、ダスト排除指令が適切なタイミングで出されないおそれがある。例えば、小型サイズの集塵機である場合、粉塵ボックスの容量が小さくなるため、エアバッグ内の圧力変動を正確に取得できないおそれがある。本開示は、フィルタから払い落とされた粉塵の容積を適切に出力できる技術を提供する。
【課題を解決するための手段】
【0005】
本開示の一側面に係る集塵システムは、外気が導入される吸気口を有する第1空気室と、第1空気室に配置され、第1空気室内の空気から粉塵を分離し、空気を通過させるフィルタと、フィルタを通過した空気が導入される導入口と、装置外に連通する排気口とを有する第2空気室と、第2空気室に配置され、排気口へ気流を発生させ、吸気口から第1空気室へ外気を送り込む送風機と、第2空気室に配置され、フィルタに付着した粉塵を払い落とす払落装置と、第1空気室に配置され、フィルタから払い落とされた粉塵を収容するボックスと、第1空気室と第2空気室との差圧を検出するセンサと、センサの検出結果を入力する制御部と、を備え、制御部は、払落装置がフィルタに付着した粉塵を払い落とす動作の前後の差圧の変化に基づいて、フィルタから払い落とされた粉塵の容積に関する情報を出力する。
【0006】
本開示の他の側面に係る報知システムは、第1空気室、フィルタ、第2空気室の順に空気を通過させて空気中の粉塵をフィルタに分離させる集塵機に接続される報知システムであって、第1空気室と第2空気室との差圧を検出するセンサと、センサの検出結果を入力する制御部と、を備え、制御部は、集塵機がフィルタに付着した粉塵を払い落とす動作をしたことに応じて動作の前後の差圧の変化を取得し、差圧の変化に基づいて、フィルタから払い落とされた粉塵の容積に関する情報を出力する。
【発明の効果】
【0007】
本開示によれば、フィルタから払い落とされた粉塵の容積を適切に出力できる。
【図面の簡単な説明】
【0008】
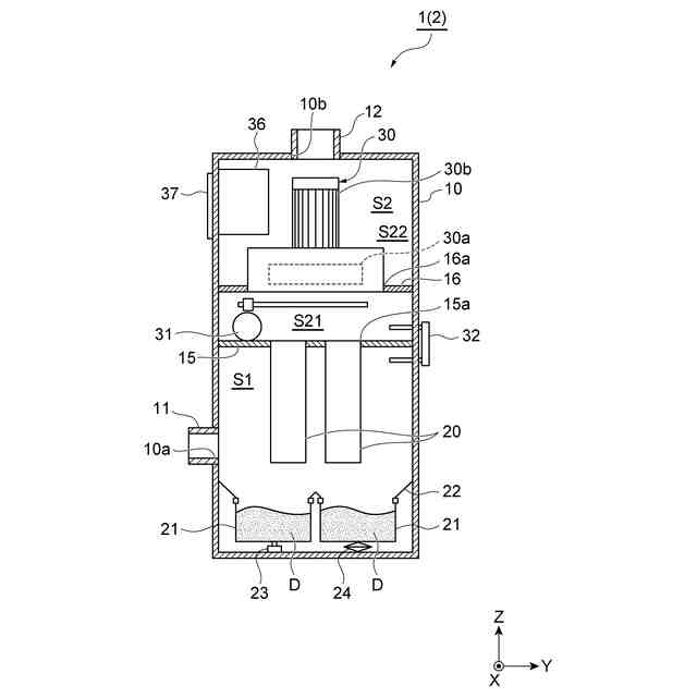
図1は、一実施形態に係る集塵システムの概要を示す断面図である。
図2は、図1に示される集塵システムの概要を示すブロック図である。
図3は、集塵システムの動作を説明するフローチャートである。
図4は、集塵システムの動作を説明するフローチャートである。
図5は、集塵システムの動作を説明するフローチャートである。
図6は、変形例に係る集塵システムの概要を示すブロック図である。
【発明を実施するための形態】
【0009】
以下、図面を参照しながら本開示の実施形態が詳細に説明される。図面の説明において同一要素には同一符号が付され、重複する説明は省略される。図面の寸法比率は、説明のものと必ずしも一致していない。「上」「下」「左」「右」の語は、図示する状態に基づくものであり、便宜的なものである。
【0010】
[集塵システムの構成]
一実施形態に係る集塵システムは、例えば工場などに配置され、空気中の粉塵(ダスト)を捕集する。粉塵とは、空気中に浮遊できる程度に微細な粉体であり、レーザ加工、プラズマ加工、および溶接などの際に発生するヒュームなどを含む。
(【0011】以降は省略されています)
この特許をJ-PlatPat(特許庁公式サイト)で参照する
関連特許
新東工業株式会社
培養システム
27日前
新東工業株式会社
体感システム
27日前
新東工業株式会社
粉体供給装置
3か月前
新東工業株式会社
ベルトクリーナ
1か月前
新東工業株式会社
中子セット装置
4か月前
新東工業株式会社
集塵装置及び集塵システム
26日前
新東工業株式会社
集塵システム及び報知システム
27日前
新東工業株式会社
情報処理装置、及び監視システム
8日前
新東工業株式会社
力覚センサ、及びセンサシステム
26日前
新東工業株式会社
ワークの加工方法、及び測定システム
2か月前
新東工業株式会社
ブラシ研磨装置、及びウエハ保持装置の製造方法
3か月前
新東工業株式会社
鉄基アモルファス合金、その粉粒体、及びその圧粉材
26日前
新東工業株式会社
試験システム
6日前
新東工業株式会社
アルミニウム合金部材の製造方法、及び、ショットピーニング装置
6日前
株式会社西部技研
除湿装置
20日前
株式会社日本触媒
ドロー溶質
14日前
サンノプコ株式会社
消泡剤
12日前
東レ株式会社
遠心ポッティング方法
6日前
個人
気液混合装置
12日前
松岡紙業 株式会社
油吸着体の製造方法
14日前
大和ハウス工業株式会社
反応装置
27日前
大陽日酸株式会社
CO2の回収方法
29日前
株式会社フクハラ
圧縮空気圧回路ユニット
12日前
本田技研工業株式会社
ガス回収装置
29日前
富士電機株式会社
ガス処理システム
9日前
株式会社明電舎
成膜装置
9日前
日本化薬株式会社
直鎖ブテン製造用触媒及びその使用
6日前
本田技研工業株式会社
二酸化炭素回収装置
27日前
本田技研工業株式会社
二酸化炭素回収装置
22日前
本田技研工業株式会社
二酸化炭素回収装置
27日前
ノリタケ株式会社
触媒材料およびその利用
27日前
本田技研工業株式会社
二酸化炭素回収装置
27日前
ノリタケ株式会社
触媒材料およびその利用
27日前
ノリタケ株式会社
触媒材料およびその利用
27日前
本田技研工業株式会社
二酸化炭素回収装置
27日前
本田技研工業株式会社
二酸化炭素回収装置
29日前
続きを見る
他の特許を見る