TOP
|
特許
|
意匠
|
商標
特許ウォッチ
Twitter
他の特許を見る
公開番号
2025168639
公報種別
公開特許公報(A)
公開日
2025-11-11
出願番号
2025034272
出願日
2025-03-05
発明の名称
半導体装置及びその製造方法
出願人
華邦電子股ふん有限公司
,
Winbond Electronics Corp.
代理人
個人
,
個人
主分類
H10B
12/00 20230101AFI20251104BHJP()
要約
【課題】半導体装置及びその製造方法を提供する。
【解決手段】半導体装置は、基板と、第一下部電極と、第一ストレージキャパシタと、第一上部電極と、第二下部電極と、第二ストレージキャパシタと、第二上部電極と、を有する。第一下部電極は、基板上に設置される。第一ストレージキャパシタは、第一下部電極上に設置される。第一上部電極は、第一ストレージキャパシタ上に設置される。第二下部電極は、第一上部電極上に設置され、且つ、電気的に結合される。第二ストレージキャパシタは、第二下部電極上に設置される。第二ストレージキャパシタは、第一ストレージキャパシタに垂直に重なる。第二上部電極は、第二ストレージキャパシタ上に設置される。
【選択図】図1C
特許請求の範囲
【請求項1】
半導体装置であって、
基板と、
前記基板上に設置された第一下部電極と、
前記第一下部電極上に設置された第一ストレージキャパシタと、
前記第一ストレージキャパシタ上に設置された第一上部電極と、
前記第一上部電極上に設置され、且つ、前記第一上部電極に電気的に結合された第二下部電極と、
前記第二下部電極上に設置され、且つ、前記第一ストレージキャパシタに垂直に重なる第二ストレージキャパシタと、
前記第二ストレージキャパシタ上に設置された第二上部電極と、
を有することを特徴とする半導体装置。
続きを表示(約 2,100 文字)
【請求項2】
前記第二上部電極を被覆するマスクを有し、前記マスク層の側壁は、前記第二上部電極の側壁と位置合わせされていることを特徴とする請求項1に記載の半導体装置。
【請求項3】
前記第二上部電極上に設置され、前記第一下部電極に電気的に結合された第三下部電極と、
前記第三下部電極上に設置され、前記第一ストレージキャパシタ及び前記第二ストレージキャパシタに垂直に重なる第三ストレージキャパシタと、
前記第三ストレージキャパシタ上に設置された第三上部電極と、
を有することを特徴とする請求項1又は2に記載の半導体装置。
【請求項4】
半導体装置であって、
基板と、
前記基板上に設置された第一下部電極と、
前記第一下部電極上に設置された第一ストレージキャパシタと、
前記第一ストレージキャパシタ上に設置された第一上部電極と、
前記第一上部電極上に設置され、前記第一下部電極に電気的に結合された第二下部電極と、
前記第二下部電極上に設置され、前記第一ストレージキャパシタと垂直に重なる第二ストレージキャパシタと、
前記第二ストレージキャパシタ上に設置され、前記第一上部電極に電気的に結合された第二上部電極と、
を有することを特徴とする半導体装置。
【請求項5】
前記第一下部電極を前記第二下部電極に電気的に結合する第一導電ビアと、
前記第二下部電極に隣接する金属層と、
前記金属層を前記第一上部電極に電気的に結合する第二導電ビアと、
を有することを特徴とする請求項4に記載の半導体装置。
【請求項6】
前記第一上部電極は第一尾部を有し、前記第二上部電極は、前記第一尾部に電気的に結合される第二尾部を有し、
前記第一尾部の長さは、前記第二尾部の長さよりも長いことを特徴とする請求項4又は5に記載の半導体装置。
【請求項7】
半導体装置の製造方法であって、
第一キャパシタ構造を基板上に形成する工程であって、第一下部電極を形成する工程と、第一ストレージキャパシタを前記第一下部電極上に形成する工程と、第一上部電極を前記第一ストレージキャパシタ上に形成する工程と、を有する、工程と、
前記第一キャパシタ構造を被覆するように第一誘電体層を形成する工程と、
複数の導電ビアを前記第一誘電体層に形成する工程と、
第二キャパシタ構造を前記第一誘電体層に形成する工程であって、第二下部電極を形成する工程と、第二ストレージキャパシタを前記第二下部電極上に形成する工程と、第二上部電極を前記第二ストレージキャパシタ上に形成する工程と、を有する、工程と、を含み、
前記第二キャパシタ構造は、前記第一キャパシタ構造に垂直に重なり、且つ、前記導電ビアを介して前記第一キャパシタ構造に電気的に結合されることを特徴とする半導体装置の製造方法。
【請求項8】
前記第二キャパシタ構造を被覆するように第二誘電体層を形成する工程と、
第三キャパシタ構造を前記第二誘電体層に形成する工程であって、第三下部電極を形成する工程と、第三ストレージキャパシタを前記第三下部電極上に形成する工程と、第三上部電極を前記第三ストレージキャパシタ上に形成する工程と、を有する、工程と、
前記第三キャパシタ構造を被覆するように第三誘電体層を形成する工程と、
第四キャパシタ構造を前記第三誘電体層上に形成する工程であって、第四下部電極を形成する工程と、第四ストレージキャパシタを前記第四下部電極上に形成する工程と、第四部電極を前記第四ストレージキャパシタ上に形成する工程と、を有する、工程と、を含み、
前記第四キャパシタ構造は、前記第一キャパシタ構造、前記第二キャパシタ構造及び前記第三キャパシタ構造と垂直に重なるとともに電気的に結合されることを特徴とする請求項7に記載の半導体装置の製造方法。
【請求項9】
前記第一下部電極は、前記第三下部電極に電気的に結合されており、
前記第一上部電極は、前記第二下部電極に電気的に結合されており、
前記第二上部電極は、前記第四上部電極に電気的に結合されており、
前記第三上部電極は、前記第四下部電極に電気的に結合されていることを特徴とする請求項8に記載の半導体装置の製造方法。
【請求項10】
前記第二下部電極の前記形成期間中に、第一金属層を形成する工程と、
前記第三下部電極の前記形成期間中に、第二金属層を形成する工程と、
前記第四下部電極の前記形成期間中に、第三金属層及び前記第四金属層を形成する工程と、を含み、
前記第一金属層は、前記第三金属層に電気的に結合されており、前記第二金属層は、前記第四金属層に電気的に結合されていることを特徴とする請求項8又は9に記載の半導体装置の製造方法。
発明の詳細な説明
【技術分野】
【0001】
本発明は半導体製造に関し、特に、半導体装置及びその製造方法に関する。
続きを表示(約 2,000 文字)
【背景技術】
【0002】
半導体装置は、パソコン、携帯電話、デジタルカメラ、その他の電子機器等の様々な電子機器に広く使われている。トランジスタや抵抗器等の電子部品は小型化が進んでいるが、キャパシタ(capacitors)は、その物理的特性から、他の電子部品に比べ、依然として大きなスペースを占めている。これは、半導体装置の小型化には不利である。したがって、半導体装置のさらなる改良が必要である。
【発明の概要】
【発明が解決しようとする課題】
【0003】
本発明は、半導体装置を提供することを目的とする。
【課題を解決するための手段】
【0004】
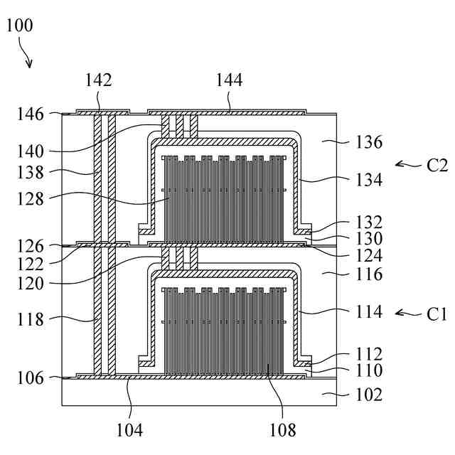
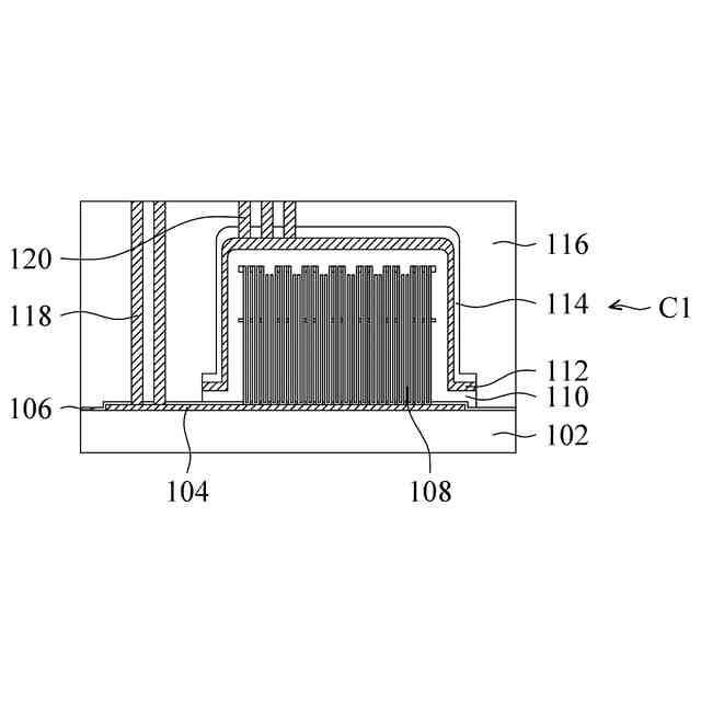
本発明は、半導体装置を提供する。半導体装置は、基板と、第一下部電極と、第一ストレージキャパシタと、第一上部電極と、第二下部電極と、第二ストレージキャパシタと、第二上部電極と、を有する。第一下部電極は、基板上に設置される。第一ストレージキャパシタは、第一下部電極上に設置される。第一上部電極は、第一ストレージキャパシタ上に設置される。第二下部電極は、第一上部電極上に設置される。第二下部電極は、第一ストレージキャパシタに電気的に結合される。第二ストレージキャパシタは、第二下部電極上に設置される。第二ストレージキャパシタは、第一ストレージキャパシタに垂直に重なる。第二上部電極は、第二ストレージキャパシタ上に設置される。
【0005】
半導体装置は、基板と、第一下部電極と、第一ストレージキャパシタと、第一上部電極と、第二下部電極と、第二ストレージキャパシタと、第二上部電極と、を有する。第一下部電極は、基板上に設置される。第一ストレージキャパシタは、第一下部電極上に設置される。第一上部電極は、第一ストレージキャパシタ上に設置される。第二下部電極は、第一上部電極上に設置され、且つ、第一下部電極に電気的に結合される。第二ストレージキャパシタは、第二下部電極上に設置され、且つ、第一ストレージキャパシタに垂直に重なる。第二上部電極は、第二ストレージキャパシタ上に設置され、且つ、第一上部電極に電気的に結合される。
【0006】
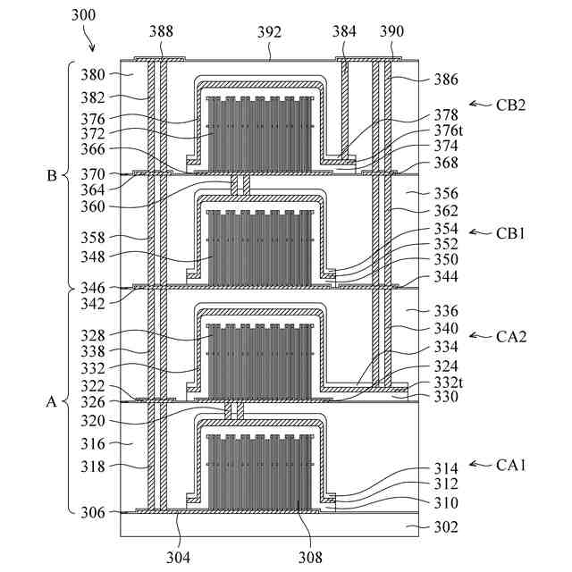
半導体装置の製造方法は、第一キャパシタ構造を基板上に形成する工程を有し、本工程は、第一下部電極を形成する工程と、第一ストレージキャパシタを第一下部電極上に形成する工程と、第一上部電極を第一ストレージキャパシタ上に形成する工程と、を有する。半導体装置の製造方法は、さらに、第一誘電体層を形成して、第一キャパシタ構造を被覆する工程を有する。半導体装置の製造方法は、さらに、複数の導電ビアを第一誘電体層内に形成する工程を有する。半導体装置の製造方法は、さらに、第二キャパシタ構造を第一誘電体層上に形成する工程を有し、本工程は、第二下部電極を形成する工程と、第二ストレージキャパシタを第二下部電極上に形成する工程と、第二上部電極を第二ストレージキャパシタ上に形成する工程と、を有する。第二キャパシタ構造は、第一キャパシタ構造に垂直に重なり、且つ、導電ビアを介して、第一キャパシタ構造に電気的に結合される。
【発明の効果】
【0007】
本発明により提供される半導体装置は、複数のキャパシタ構造を垂直にスタックし、これにより、占領面積を増加させることなく、破壊電圧及びキャパシタンスを増加させることができる。
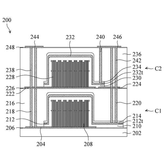
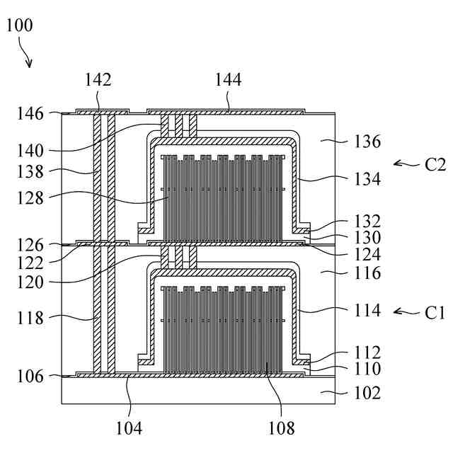
【図面の簡単な説明】
【0008】
いくつかの実施形態による半導体装置を製造する各種段階を説明する断面図である。
いくつかの実施形態による半導体装置を製造する各種段階を説明する断面図である。
いくつかの実施形態による半導体装置を製造する各種段階を説明する断面図である。
いくつかの実施形態による半導体装置の断面図である。
いくつかの実施形態による半導体装置の断面図である。
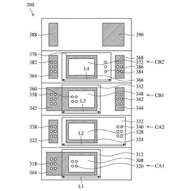
いくつかの実施形態による半導体装置の上面図である。
いくつかの実施形態による半導体装置の回路図である。
【発明を実施するための形態】
【0009】
図1Aを参照すると、半導体装置100は、基板102を有する。基板102は、半導体デバイスに適した任意の基板材料で形成することができ、バルク半導体基板であってもよいし、あるいは、異なる材料で形成された複合基板を含んでもよい。
【0010】
第一下部電極104を基板102上に形成する。第一下部電極104は、金属材(例えば、タングステン、あるいは、任意の適切な材料等)で形成される。絶縁層106を第一下部電極104上に形成する。絶縁層106は、第一下部電極104の上面及び側壁と、基板102の上面と、を被覆する。絶縁層106は、誘電材料(例えば、窒化ケイ素、あるいは、任意の適切な材料等)で形成される。
(【0011】以降は省略されています)
この特許をJ-PlatPat(特許庁公式サイト)で参照する
関連特許
個人
積和演算用集積回路
5日前
サンケン電気株式会社
半導体装置
4日前
エイブリック株式会社
縦型ホール素子
28日前
エイブリック株式会社
縦型ホール素子
28日前
旭化成株式会社
発光素子
14日前
ローム株式会社
抵抗チップ
19日前
三菱電機株式会社
半導体装置
13日前
株式会社半導体エネルギー研究所
表示装置
28日前
富士電機株式会社
半導体装置
25日前
ローム株式会社
半導体集積回路
13日前
日亜化学工業株式会社
発光装置
1か月前
日亜化学工業株式会社
発光装置
14日前
ローム株式会社
半導体装置
4日前
富士電機株式会社
半導体装置の製造方法
27日前
株式会社半導体エネルギー研究所
発光デバイス
12日前
ローム株式会社
窒化物半導体装置
19日前
ローム株式会社
窒化物半導体装置
28日前
ローム株式会社
半導体装置
18日前
ローム株式会社
半導体装置
20日前
日亜化学工業株式会社
発光素子
4日前
大日本印刷株式会社
太陽電池
21日前
株式会社カネカ
太陽電池モジュール
1か月前
サンケン電気株式会社
発光装置
1か月前
日本電気株式会社
超伝導量子回路装置
1か月前
株式会社MARUWA
発光装置及び照明器具
1か月前
日本ゼオン株式会社
構造体
6日前
日亜化学工業株式会社
発光装置
6日前
ローム株式会社
RAM
1か月前
日亜化学工業株式会社
発光装置
13日前
日亜化学工業株式会社
発光素子
4日前
ローム株式会社
光センサ
26日前
今泉工業株式会社
光発電装置及びその製造方法
18日前
住友化学株式会社
発光素子
28日前
住友化学株式会社
発光素子
28日前
住友化学株式会社
発光素子
28日前
株式会社東芝
半導体装置及びウエーハ
13日前
続きを見る
他の特許を見る