TOP
|
特許
|
意匠
|
商標
特許ウォッチ
Twitter
他の特許を見る
10個以上の画像は省略されています。
公開番号
2025168490
公報種別
公開特許公報(A)
公開日
2025-11-07
出願番号
2025146104,2023503313
出願日
2025-09-03,2021-03-05
発明の名称
作業装置
出願人
株式会社FUJI
代理人
弁理士法人アイテック国際特許事務所
主分類
H05K
13/02 20060101AFI20251030BHJP(他に分類されない電気技術)
要約
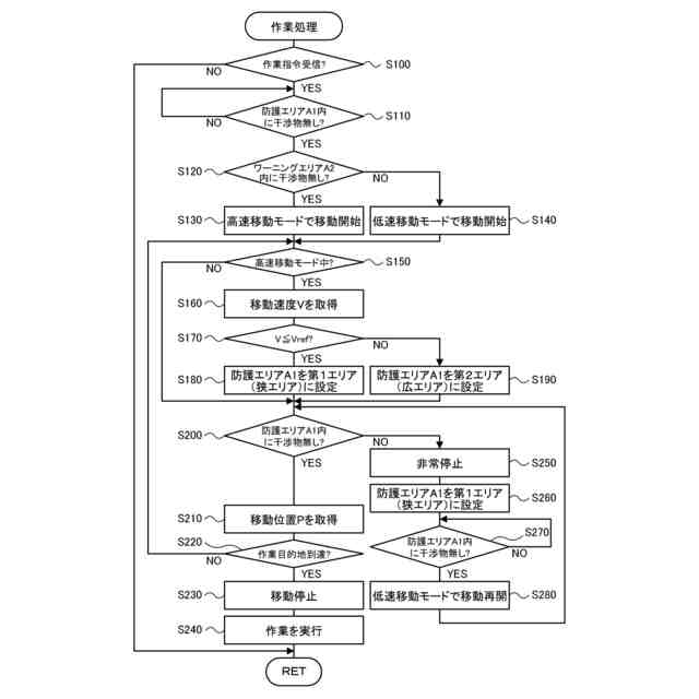
【課題】安全性を確保しつつ、稼働率を高める。
【解決手段】作業装置は、複数の実装装置が並設された実装ラインにおいて実装装置に対して作業を行なう作業装置である。作業装置は、作業装置本体を低速移動モードまたは低速移動モードよりは高速の高速移動モードで移動させる移動装置と、作業装置本体に設けられ、作業装置周辺の監視エリア内において干渉物の有無を検知する監視センサと、制御装置と、を備える。制御装置は、監視エリア内に干渉物が検知されたとき、移動装置の移動モードを高速移動モードから低速移動モードに切り替えて制御する。
【選択図】図10
特許請求の範囲
【請求項1】
複数の実装装置が並設された実装ラインにおいて前記実装装置に対して作業を行なう作業装置であって、
作業装置本体を低速移動モードまたは低速移動モードよりは高速の高速移動モードで移動させる移動装置と、
前記作業装置本体に設けられ、前記作業装置周辺の監視エリア内において干渉物の有無を検知する監視センサと、
前記監視エリア内に干渉物が検知されたとき、前記移動装置の移動モードを高速移動モードから低速移動モードに切り替えて制御する制御装置と、
を備える作業装置。
続きを表示(約 830 文字)
【請求項2】
請求項1に記載の作業装置であって、
前記制御装置は、前記高速移動モードのときは、前記低速移動モードよりも前記監視エリアを広くする制御を行なう、
作業装置。
【請求項3】
請求項1または2に記載の作業装置であって、
前記監視エリアは、前記作業装置本体を非常停止させる停止エリアを含む、
作業装置。
【請求項4】
請求項3に記載の作業装置であって、
前記制御装置は、前記作業装置本体が停止中に前記停止エリア外の前記監視エリア内に干渉物が検知されていないときには前記高速移動モードで前記移動装置の動作を開始させ、前記停止中に前記停止エリア外の前記監視エリア内に干渉物が検知されているときには前記低速移動モードで前記移動装置の動作を開始させる制御を行なう、
作業装置。
【請求項5】
請求項3または4に記載の作業装置であって、
前記制御装置は、前記作業装置本体が移動中に前記停止エリア内において干渉物が検知されると、前記作業装置本体の移動を一時停止させ、前記一時停止中に前記停止エリア内で前記干渉物が検知されなくなると、前記低速移動モードで前記作業装置本体の移動を再開させる制御を行なう、
作業装置。
【請求項6】
請求項3ないし5いずれか1項に記載の作業装置であって、
前記制御装置は、前記作業装置本体が前記高速移動モードで移動しているときには、前記低速移動モードで移動しているときに比して、前記停止エリアを広くする制御を行なう、
作業装置。
【請求項7】
請求項3ないし6いずれか1項に記載の作業装置であって、
前記制御装置は、前記作業装置本体が所定速度以上で移動しているときには、前記所定速度未満のときに比して、前記停止エリアを広くする制御を行なう、
作業装置。
発明の詳細な説明
【技術分野】
【0001】
本明細書は、作業装置について開示する。
続きを表示(約 1,600 文字)
【背景技術】
【0002】
従来、生産ラインを構成する複数台の生産装置の配列に沿って移動する作業装置において、周辺の監視エリア内に人が進入したか否かを監視する監視部を備えるものが提案されている(例えば、特許文献1参照)。この作業装置は、監視部により監視エリア内に人や物が進入したことが検出されたときに、衝突を回避するためにモータへの電源供給を遮断して非常停止する。監視部は、非常停止中も監視エリア内への人や物の進入を監視し、作業装置は、監視エリアから人や物が出て行ったことが検出されると、移動を再開する。監視エリアの広さは、ユーザ側で任意に変更可能とされている。
【先行技術文献】
【特許文献】
【0003】
特開2020-119578号公報
【発明の概要】
【発明が解決しようとする課題】
【0004】
しかしながら、上述した作業装置では、監視エリア内に人や物が進入すると、非常停止するため、監視エリアを広くすると、装置の稼働率が低下し、作業効率が悪くなる。一方、ユーザ設定により監視エリアを狭くすれば、非常停止の頻度を少なくすることができ、稼働率を高めることができるものの、安全性の確保が困難となる。
【0005】
本開示は、安全性を確保しつつ、稼働率を高めることができる作業装置を提供することを主目的とする。
【課題を解決するための手段】
【0006】
本開示は、上述の主目的を達成するために以下の手段を採った。
【0007】
本開示の作業装置は、
複数の実装装置が並設された実装ラインにおいて前記実装装置に対して作業を行なう作業装置であって、
作業装置本体を低速移動モードまたは低速移動モードよりは高速の高速移動モードで移動させる移動装置と、
前記作業装置本体に設けられ、前記作業装置周辺の監視エリア内において干渉物の有無を検知する監視センサと、
前記監視エリア内に干渉物が検知されたとき、前記移動装置の移動モードを高速移動モードから低速移動モードに切り替えて制御する制御装置と、
を備えることを要旨とする。
【0008】
この本開示の作業装置では、移動モードとして、低速で移動する低速モードと、高速で移動する高速モードと、を有する。作業装置は、その周辺の監視エリア内において干渉物の有無を検知する監視センサを備え、監視エリア内に干渉物が検知されたとき、移動装置の移動モードを高速移動モードから低速移動モードに切り替えて制御することとしている。低速移動モードへの切り替えにより、安全性を確保しつつ、作業装置の稼動率をより高めることができる。
【図面の簡単な説明】
【0009】
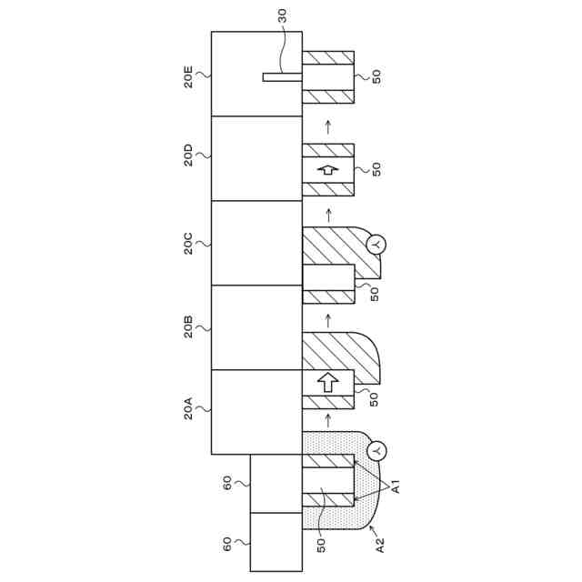
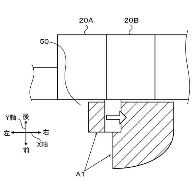
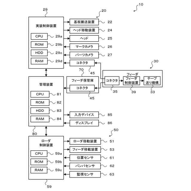
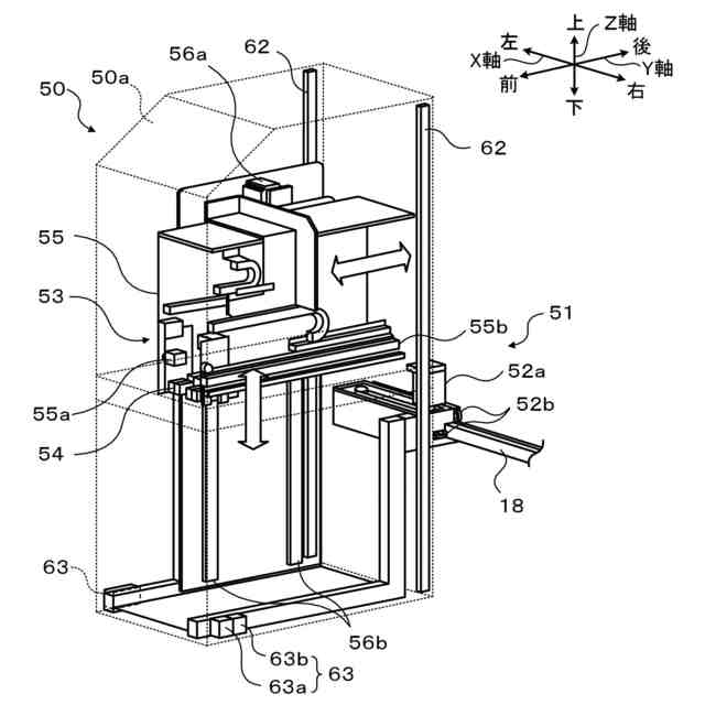
部品実装システムの概略構成図である。
部品実装機とフィーダの概略構成図である。
フィーダの概略構成図である。
ローダの概略構成図である。
部品実装システムの電気的な接続関係を示すブロック図である。
ローダ制御装置により実行される作業処理の一例を示すフローチャートである。
停止中の監視エリア(防護エリア,ワーニングエリア)を示す説明図である。
低速移動中の監視エリア(防護エリア)を示す説明図である。
高速移動中の監視エリア(防護エリア)を示す説明図である。
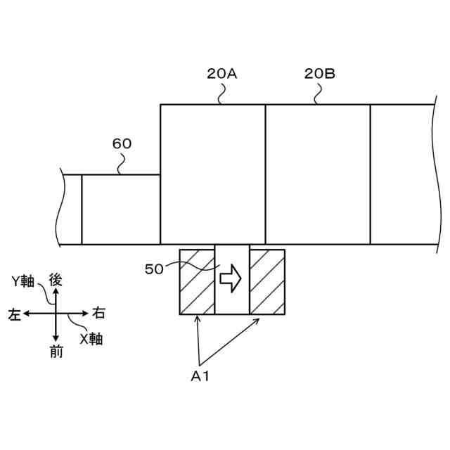
ローダが高速移動モードで移動を開始して作業目的地まで移動する様子を示す説明図である。
ローダが低速移動モードで移動を開始して作業目的地まで移動する様子を示す説明図である。
バンパセンサの作動の様子を示す説明図である。
【発明を実施するための形態】
【0010】
次に、本開示を実施するための形態について図面を参照しながら説明する。
(【0011】以降は省略されています)
この特許をJ-PlatPat(特許庁公式サイト)で参照する
関連特許
株式会社FUJI
制御盤
2か月前
株式会社FUJI
工作機械
1か月前
株式会社FUJI
工作機械
1か月前
株式会社FUJI
部品実装機
1か月前
株式会社FUJI
テープガイド
15日前
株式会社FUJI
対基板作業機
2か月前
株式会社FUJI
測定値処理装置
2か月前
株式会社FUJI
フィーダ制御装置
2か月前
株式会社FUJI
生産計画作成装置
24日前
株式会社FUJI
印刷装置及び印刷方法
1日前
株式会社FUJI
造形装置および造形方法
1か月前
株式会社FUJI
制御装置、印刷装置及び制御方法
9日前
株式会社FUJI
製造方法及び3次元造形システム
1か月前
株式会社FUJI
制御装置、印刷装置及び制御方法
1日前
株式会社FUJI
印刷装置及び印刷装置の制御方法
2か月前
株式会社FUJI
テープ剥離装置およびテープフィーダ
2か月前
株式会社FUJI
部品データの生成方法および生成装置
17日前
株式会社FUJI
電子部品装着方法、及び電子部品装着装置
11日前
株式会社FUJI
部品実装機および異物の有無を判定する方法
10日前
株式会社FUJI
印刷品質管理システムおよび印刷品質管理方法
23日前
株式会社FUJI
造形装置およびディスペンサヘッドの制御方法
1か月前
株式会社FUJI
アラーム情報表示装置、及びアラーム情報表示システム
1か月前
株式会社FUJI
印刷装置
1日前
株式会社FUJI
作業装置
22日前
株式会社FUJI
サイクルタイム表示装置、及びサイクルタイム表示システム
1か月前
株式会社FUJI
テープフィーダ
1日前
株式会社FUJI
部品実装ライン
24日前
株式会社FUJI
部品供給フィーダ、部品供給フィーダの管理システム及び管理方法
22日前
株式会社FUJI
対基板作業機、および雄型コネクタと雌型コネクタとの接続維持方法
1か月前
株式会社FUJI
搬送治具及び印刷装置
9日前
株式会社FUJI
印刷装置及び制御方法
1か月前
株式会社FUJI
搬送治具および支持部材の搬入方法
1日前
株式会社FUJI
実装システム、保守装置及び管理方法
9日前
株式会社FUJI
交換可能部材の交換方法及び印刷システム
1か月前
個人
電子部品の実装方法
1か月前
個人
非衝突型ガウス加速器
3か月前
続きを見る
他の特許を見る