TOP
|
特許
|
意匠
|
商標
特許ウォッチ
Twitter
他の特許を見る
公開番号
2025167251
公報種別
公開特許公報(A)
公開日
2025-11-07
出願番号
2024071693
出願日
2024-04-25
発明の名称
部品供給フィーダ、部品供給フィーダの管理システム及び管理方法
出願人
株式会社FUJI
代理人
弁理士法人 快友国際特許事務所
主分類
H05K
13/02 20060101AFI20251030BHJP(他に分類されない電気技術)
要約
【課題】エラーの発生状況を確認でき、原因の特定がしやすくなる技術を提供する。
【解決手段】部品供給フィーダ30は、検出センサ51~54と、制御部41と、メモリ43と、を備える。検出センサ51~54は、電子部品3が収納されたキャリアテープt1,t2または電子部品3を検出する。制御部41は、検出センサ51~54の検出結果に基づいて、キャリアテープt1,t2の供給動作を制御する。メモリ43は、検出センサ51~54の状態遷移情報を記憶する。制御部41は、検出センサ51~54の状態遷移情報をメモリ43から読み出して外部装置に出力可能である。
【選択図】図4
特許請求の範囲
【請求項1】
電子部品が収納されたキャリアテープまたは前記電子部品を検出する複数の検出センサと、
複数の前記検出センサの検出結果に基づいて、前記キャリアテープの供給動作を制御する制御部と、
複数の前記検出センサの状態遷移情報を記憶するメモリと、
を備え、
前記制御部は、複数の前記検出センサの前記状態遷移情報を前記メモリから読み出して外部装置に出力可能である、部品供給フィーダ。
続きを表示(約 1,400 文字)
【請求項2】
前記部品供給フィーダは、1つの前記キャリアテープを供給している状態で他の前記キャリアテープを補給して、他の前記キャリアテープの供給待機状態を保つように構成されたオートローディングフィーダである、請求項1に記載の部品供給フィーダ。
【請求項3】
複数の前記検出センサには、2つの前記キャリアテープの重ね合わせにより発生する段差を検出する段差センサが含まれる、請求項2に記載の部品供給フィーダ。
【請求項4】
複数の前記検出センサには、
2つの前記キャリアテープの重ね合わせにより発生する段差を検知する段差センサと、
前記段差センサを基準としてテープ搬送方向の上流側に配置された少なくとも1つの上流側テープ検出用センサと、
前記段差センサを基準として前記テープ搬送方向の下流側に配置された少なくとも1つの下流側テープ検出用センサと、が含まれる、請求項2に記載の部品供給フィーダ。
【請求項5】
複数のボタンを有する操作部をさらに備えるとともに、
前記キャリアテープの動作を指示する通常操作とは異なる態様で複数の前記ボタンを操作したときに、前記制御部が、複数の前記検出センサの前記状態遷移情報を前記メモリから読み出して外部装置に出力する、請求項1乃至4のいずれか1項に記載の部品供給フィーダ。
【請求項6】
前記制御部は、前記部品供給フィーダの検査及び調整を行うためのフィーダ検査治具に対して、複数の前記検出センサの前記状態遷移情報を出力可能である、請求項1乃至4のいずれか1項に記載の部品供給フィーダ。
【請求項7】
電子部品が収納されたキャリアテープまたは前記電子部品を検出する複数の検出センサと、複数の前記検出センサの検出結果に基づいて、前記キャリアテープの供給動作を制御する制御部と、を有する部品供給フィーダと、
複数の前記検出センサの状態遷移情報を記憶するメモリと、
前記部品供給フィーダ及び前記メモリとは別体で構成されるとともに、前記メモリから読み出された複数の前記検出センサの前記状態遷移情報に基づいて、エラーの発生原因の特定に用いるトレースファイルを生成する外部装置と、を備えた、部品供給フィーダの管理システム。
【請求項8】
電子部品が収納されたキャリアテープまたは前記電子部品を検出する複数の検出センサと、
複数の前記検出センサの検出結果に基づいて、前記キャリアテープの供給動作を制御する制御部と、
複数の前記検出センサの状態遷移情報を記憶するメモリと、を備える部品供給フィーダの管理方法であって、
前記メモリに複数の前記検出センサの状態遷移情報を記憶するステップと、
前記メモリから読み出した複数の前記検出センサの前記状態遷移情報に基づいて、エラーの発生原因を特定するステップと、を含む、部品供給フィーダの管理方法。
【請求項9】
前記メモリに記憶された複数の前記検出センサの前記状態遷移情報を前記メモリから読み出して外部装置に出力するステップと、
前記外部装置に出力された複数の前記検出センサの前記状態遷移情報に基づいて、エラーの発生原因の特定に用いるトレースファイルを生成するステップと、をさらに含む、請求項8に記載の部品供給フィーダの管理方法。
発明の詳細な説明
【技術分野】
【0001】
本明細書に開示する技術は、部品供給フィーダ、部品供給フィーダの管理システム及び管理方法に関する。
続きを表示(約 1,800 文字)
【背景技術】
【0002】
例えば、部品実装機に装着される部品供給フィーダとして、1つのキャリアテープを供給している状態で他のキャリアテープを補給することにより、他のキャリアテープを供給待機状態で保つように構成したオートローディングフィーダ(ALF)を用いることが考えられている。この場合、他のキャリアテープは自動で補給され、キャリアテープの状態は複数の検出センサによって監視される。
【0003】
ところで、部品供給フィーダに何らかのエラーが発生した場合、どのような原因でエラーとなったのかを見ただけでは判断できないことがあり、対処に困ることがある。特許文献1には、エラーが発生した場合に、部品供給フィーダのトレースログを部品供給フィーダ内のトレース用メモリに保存する技術が開示されている。この技術では、エラー発生後にトレース用メモリからトレースログを読み出すことにより、エラーの原因を調査することができる。
【先行技術文献】
【特許文献】
【0004】
国際公開2017/072889号公報
【発明の概要】
【発明が解決しようとする課題】
【0005】
しかしながら、トレースログには、キャリアテープを検出するセンサの状態遷移を示す情報までは含まれないため、エラーの発生状況を確認できず、エラーの発生原因を正確に特定できないという問題がある。そこで本明細書は、エラーの発生状況を確認でき、原因の特定がしやすくなる技術を提供する。
【課題を解決するための手段】
【0006】
本明細書が開示する部品供給フィーダは、複数の検出センサと、制御部と、メモリと、を備える。複数の検出センサは、電子部品が収納されたキャリアテープまたは電子部品を検出する。制御部は、複数の検出センサの検出結果に基づいて、キャリアテープの供給動作を制御する。メモリは、複数の検出センサの状態遷移情報を記憶する。制御部は、複数の検出センサの状態遷移情報をメモリから読み出して外部装置に出力可能である。従って、上述した構成によると、複数の検出センサの状態遷移情報によってエラーの発生状況を確認できるため、原因の特定がしやすくなる。
【0007】
また本明細書が開示する部品供給フィーダの管理システムは、部品供給フィーダと、メモリと、外部装置と、を備える。部品供給フィーダは、複数の検出センサと、制御部と、を有する。複数の検出センサは、電子部品が収納されたキャリアテープまたは電子部品を検出する。制御部は、複数の検出センサの検出結果に基づいて、キャリアテープの供給動作を制御する。メモリは、複数の検出センサの状態遷移情報を記憶する。外部装置は、部品供給フィーダ及びメモリとは別体で構成される。外部装置は、メモリから読み出された複数の検出センサの状態遷移情報に基づいて、エラーの発生原因の特定に用いるトレースファイルを生成する。
【0008】
また本明細書は、複数の検出センサと、制御部と、メモリと、を備える部品供給フィーダの管理方法を開示する。複数の検出センサは、電子部品が収納されたキャリアテープまたは電子部品を検出する。制御部は、複数の検出センサの検出結果に基づいて、キャリアテープの供給動作を制御する。メモリは、複数の検出センサの状態遷移情報を記憶する。この管理方法は、メモリに複数の検出センサの状態遷移情報を記憶するステップと、メモリから読み出した複数の検出センサの状態遷移情報に基づいて、エラーの発生原因を特定するステップとを含む。
【図面の簡単な説明】
【0009】
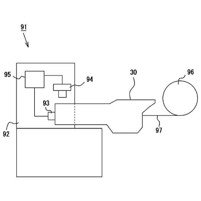
実施例の部品供給フィーダの管理システムを示す概略図である。
実施例の部品実装機を示す概略断面図である。
図2のA-A線断面図である。
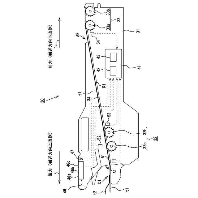
実施例の部品供給フィーダを示す側面図である。
実施例のフィーダ検査治具を示す概略図である。
部品供給フィーダの管理システムの電気的構成を示すブロック図である。
【発明を実施するための形態】
【0010】
本明細書に開示する部品供給フィーダは、1つのキャリアテープを供給している状態で他のキャリアテープを補給して、他のキャリアテープの供給待機状態を保つように構成されたオートローディングフィーダであってもよい。
(【0011】以降は省略されています)
この特許をJ-PlatPat(特許庁公式サイト)で参照する
関連特許
株式会社FUJI
制御盤
2か月前
株式会社FUJI
工作機械
1か月前
株式会社FUJI
工作機械
1か月前
株式会社FUJI
部品実装機
1か月前
株式会社FUJI
対基板作業機
2か月前
株式会社FUJI
テープガイド
15日前
株式会社FUJI
テープフィーダ
2か月前
株式会社FUJI
測定値処理装置
2か月前
株式会社FUJI
ストッカシステム
2か月前
株式会社FUJI
フィーダ制御装置
2か月前
株式会社FUJI
生産計画作成装置
24日前
株式会社FUJI
印刷装置及び印刷方法
1日前
株式会社FUJI
造形装置および造形方法
1か月前
株式会社FUJI
最適化装置および最適化方法
3か月前
株式会社FUJI
部品実装機及びテープ回収方法。
2か月前
株式会社FUJI
印刷装置及び印刷装置の制御方法
2か月前
株式会社FUJI
製造方法及び3次元造形システム
1か月前
株式会社FUJI
廃テープ搬送装置および実装装置
4か月前
株式会社FUJI
制御装置、印刷装置及び制御方法
1日前
株式会社FUJI
制御装置、印刷装置及び制御方法
9日前
株式会社FUJI
テープ剥離装置およびテープフィーダ
2か月前
株式会社FUJI
部品データの生成方法および生成装置
17日前
株式会社FUJI
電子部品装着方法、及び電子部品装着装置
11日前
株式会社FUJI
部品実装機および異物の有無を判定する方法
10日前
株式会社FUJI
造形装置およびディスペンサヘッドの制御方法
1か月前
株式会社FUJI
印刷品質管理システムおよび印刷品質管理方法
23日前
株式会社FUJI
アラーム情報表示装置、及びアラーム情報表示システム
1か月前
株式会社FUJI
交換装置
2か月前
株式会社FUJI
作業装置
22日前
株式会社FUJI
作業装置
2か月前
株式会社FUJI
印刷装置
1日前
株式会社FUJI
サイクルタイム表示装置、及びサイクルタイム表示システム
1か月前
株式会社FUJI
モータ制御装置、装着ヘッド及びモータ制御装置の制御方法
3か月前
株式会社FUJI
異物除去方法
2か月前
株式会社FUJI
実装システム
2か月前
株式会社FUJI
テープフィーダ
1日前
続きを見る
他の特許を見る