TOP
|
特許
|
意匠
|
商標
特許ウォッチ
Twitter
他の特許を見る
10個以上の画像は省略されています。
公開番号
2025166375
公報種別
公開特許公報(A)
公開日
2025-11-06
出願番号
2024070359
出願日
2024-04-24
発明の名称
印刷品質管理システムおよび印刷品質管理方法
出願人
株式会社FUJI
代理人
弁理士法人 共立特許事務所
主分類
H05K
3/34 20060101AFI20251029BHJP(他に分類されない電気技術)
要約
【課題】基板に印刷されたはんだの目標印刷位置に対する偏差が、はんだの位置ずれを判断する際の閾値に達する前に、マスクおよび基板の相対位置を印刷方向ごとに補正可能な印刷品質管理システムを開示する。
【解決手段】印刷品質管理システムは、取得部と、補正部とを備える。取得部は、スキージがマスクの上を摺動してマスクの開口部を介して基板に印刷されたはんだの目標印刷位置に対する偏差を印刷方向ごとに取得する。補正部は、取得部によって取得された偏差がはんだの位置ずれを判断する際の第一閾値よりも小さく設定される第二閾値を超えた場合に、偏差を低減するようにマスクおよび基板の相対位置を印刷方向ごとに補正する。
【選択図】図3
特許請求の範囲
【請求項1】
スキージがマスクの上を摺動して前記マスクの開口部を介して基板に印刷されたはんだの目標印刷位置に対する偏差を印刷方向ごとに取得する取得部と、
前記取得部によって取得された前記偏差が前記はんだの位置ずれを判断する際の第一閾値よりも小さく設定される第二閾値を超えた場合に、前記偏差を低減するように前記マスクおよび前記基板の相対位置を前記印刷方向ごとに補正する補正部と、
を備える印刷品質管理システム。
続きを表示(約 1,300 文字)
【請求項2】
前記取得部は、前記印刷方向ごとに所定枚数の前記基板について前記偏差を取得し、取得した前記偏差の平均値を前記印刷方向ごとの前記偏差とする請求項1に記載の印刷品質管理システム。
【請求項3】
前記印刷方向は、前記スキージが前記マスクの上を一の方向に摺動する往路方向と、前記スキージが前記マスクの上を前記往路方向と反対方向に摺動する復路方向とを備える請求項1または請求項2に記載の印刷品質管理システム。
【請求項4】
前記補正部は、前記印刷方向に沿った方向である第一方向の前記偏差、水平面において前記第一方向に直交する方向である第二方向の前記偏差、および、前記マスクおよび前記基板の一方に対する他方の回転方向の前記偏差のうちの少なくとも一つを補正する請求項1に記載の印刷品質管理システム。
【請求項5】
前記補正部は、前記取得部によって取得された前記偏差よりも少ない補正量で、前記マスクおよび前記基板の前記相対位置を徐々に補正する請求項1に記載の印刷品質管理システム。
【請求項6】
前記補正部は、前記取得部によって取得された前記偏差が、前記マスクおよび前記基板の前記相対位置を補正可能な最小補正量よりも大きい場合に、前記マスクおよび前記基板の前記相対位置を補正する請求項1に記載の印刷品質管理システム。
【請求項7】
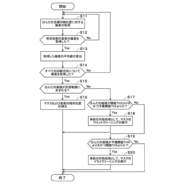
前記取得部は、前記基板に印刷された前記はんだの面積を取得し、
前記補正部は、前記取得部によって取得された前記はんだの前記面積が目標面積を基準に設定される許容範囲に含まれる場合に、前記マスクおよび前記基板の前記相対位置を補正する請求項1に記載の印刷品質管理システム。
【請求項8】
前記取得部は、前記基板に印刷された前記はんだの面積を取得し、
前記印刷品質管理システムは、前記取得部によって取得された前記はんだの前記面積が目標面積を基準に設定される許容範囲に含まれず、且つ、前記面積が前記はんだのかすれを判断する際の閾値よりも大きく設定される予備閾値よりも小さい場合に、前記はんだの前記かすれが生じたときに実行すべき対処処理を事前に実行させる事前処理部を備える請求項1に記載の印刷品質管理システム。
【請求項9】
前記事前処理部は、前記対処処理として、前記マスクのウエットクリーニングを実行する請求項8に記載の印刷品質管理システム。
【請求項10】
前記取得部は、前記基板に印刷された前記はんだの面積を取得し、
前記印刷品質管理システムは、前記取得部によって取得された前記はんだの前記面積が目標面積を基準に設定される許容範囲に含まれず、且つ、前記面積が前記はんだの滲みまたはブリッジを判断する際の閾値よりも小さく設定される予備閾値よりも大きい場合に、前記はんだの前記滲みまたは前記ブリッジが生じたときに実行すべき対処処理を事前に実行させる事前処理部を備える請求項1に記載の印刷品質管理システム。
(【請求項11】以降は省略されています)
発明の詳細な説明
【技術分野】
【0001】
本明細書は、印刷品質管理システムおよび印刷品質管理方法に関する技術を開示する。
続きを表示(約 2,000 文字)
【背景技術】
【0002】
特許文献1に記載の事前処理部は、印刷検査機によって測定された印刷状態の測定結果が、印刷検査機が印刷状態の不良を判断する際の検査閾値よりも厳しく設定される予備閾値を超えたときに、印刷状態の不良が生じたときに実行すべき対処処理を事前に実行させる。また、印刷状態の測定結果には、基板に印刷されたはんだの目標印刷位置に対する偏差が含まれる。これにより、特許文献1に記載の印刷品質管理システムは、事前の対処処理を行わない場合と比べて、印刷検査機によって印刷状態の不良(はんだの位置ずれ)が判断される不良発生件数を低減しようとしている。
【0003】
また、特許文献2に記載の印刷装置の印刷制御部は、検査結果のデータのフィードバックを受けて、検査結果のデータに基づいて、基板とスクリーンマスクとの相対的な位置を変更可能な基板保持テーブル移動機構または印刷ヘッドなどを移動するように、印刷パラメータ(印刷条件)を変更することができる。これにより、特許文献2に記載の印刷装置は、はんだの位置ずれを抑制しようとしている。
【先行技術文献】
【特許文献】
【0004】
国際公開第2022/024326号
特開2023-173291号公報
【発明の概要】
【発明が解決しようとする課題】
【0005】
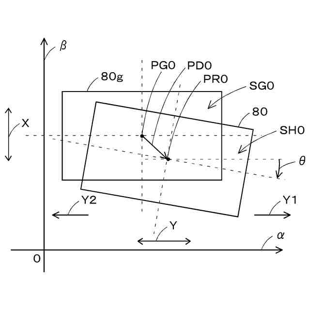
例えば、マスクは、枠部材に掛けられた紗(ポリエステルメッシュなど)に設けられており、マスクの使用に伴ってマスクの張力が変動する可能性がある。マスクの張力が変動すると、マスクおよび基板の相対位置が変動し、はんだの位置ずれが生じて印刷品質を低下させる可能性がある。また、マスクの張力の変動による影響は、印刷方向によって異なる場合がある。
【0006】
このような事情に鑑みて、本明細書は、基板に印刷されたはんだの目標印刷位置に対する偏差が、はんだの位置ずれを判断する際の閾値に達する前に、マスクおよび基板の相対位置を印刷方向ごとに補正可能な印刷品質管理システムおよび印刷品質管理方法を開示する。
【課題を解決するための手段】
【0007】
本明細書は、取得部と、補正部とを備える印刷品質管理システムを開示する。前記取得部は、スキージがマスクの上を摺動して前記マスクの開口部を介して基板に印刷されたはんだの目標印刷位置に対する偏差を印刷方向ごとに取得する。前記補正部は、前記取得部によって取得された前記偏差が前記はんだの位置ずれを判断する際の第一閾値よりも小さく設定される第二閾値を超えた場合に、前記偏差を低減するように前記マスクおよび前記基板の相対位置を前記印刷方向ごとに補正する。
【0008】
また、本明細書は、取得工程と、補正工程とを備える印刷品質管理方法を開示する。前記取得工程は、スキージがマスクの上を摺動して前記マスクの開口部を介して基板に印刷されたはんだの目標印刷位置に対する偏差を印刷方向ごとに取得する。前記補正工程は、前記取得工程によって取得された前記偏差が前記はんだの位置ずれを判断する際の第一閾値よりも小さく設定される第二閾値を超えた場合に、前記偏差を低減するように前記マスクおよび前記基板の相対位置を前記印刷方向ごとに補正する。
【0009】
なお、本明細書には、願書に最初に添付した特許請求の範囲(以下、当初特許請求の範囲という。)に記載の請求項4において、「請求項1に記載の印刷品質管理システム」を「請求項1~請求項3のいずれか一項に記載の印刷品質管理システム」に変更した技術的思想が開示されている。また、本明細書には、当初特許請求の範囲に記載の請求項5において、「請求項1に記載の印刷品質管理システム」を「請求項1~請求項4のいずれか一項に記載の印刷品質管理システム」に変更した技術的思想が開示されている。さらに、本明細書には、当初特許請求の範囲に記載の請求項6において、「請求項1に記載の印刷品質管理システム」を「請求項1~請求項5のいずれか一項に記載の印刷品質管理システム」に変更した技術的思想が開示されている。
【0010】
また、本明細書には、当初特許請求の範囲に記載の請求項7において、「請求項1に記載の印刷品質管理システム」を「請求項1~請求項6のいずれか一項に記載の印刷品質管理システム」に変更した技術的思想が開示されている。さらに、本明細書には、当初特許請求の範囲に記載の請求項8において、「請求項1に記載の印刷品質管理システム」を「請求項1~請求項7のいずれか一項に記載の印刷品質管理システム」に変更した技術的思想が開示されている。
(【0011】以降は省略されています)
この特許をJ-PlatPat(特許庁公式サイト)で参照する
関連特許
株式会社FUJI
制御盤
2か月前
株式会社FUJI
工作機械
1か月前
株式会社FUJI
工作機械
1か月前
株式会社FUJI
部品実装機
1か月前
株式会社FUJI
対基板作業機
2か月前
株式会社FUJI
テープガイド
15日前
株式会社FUJI
測定値処理装置
2か月前
株式会社FUJI
ストッカシステム
2か月前
株式会社FUJI
生産計画作成装置
24日前
株式会社FUJI
フィーダ制御装置
2か月前
株式会社FUJI
印刷装置及び印刷方法
1日前
株式会社FUJI
造形装置および造形方法
1か月前
株式会社FUJI
製造方法及び3次元造形システム
1か月前
株式会社FUJI
制御装置、印刷装置及び制御方法
1日前
株式会社FUJI
印刷装置及び印刷装置の制御方法
2か月前
株式会社FUJI
制御装置、印刷装置及び制御方法
9日前
株式会社FUJI
部品データの生成方法および生成装置
17日前
株式会社FUJI
テープ剥離装置およびテープフィーダ
2か月前
株式会社FUJI
電子部品装着方法、及び電子部品装着装置
11日前
株式会社FUJI
部品実装機および異物の有無を判定する方法
10日前
株式会社FUJI
印刷品質管理システムおよび印刷品質管理方法
23日前
株式会社FUJI
造形装置およびディスペンサヘッドの制御方法
1か月前
株式会社FUJI
アラーム情報表示装置、及びアラーム情報表示システム
1か月前
株式会社FUJI
交換装置
2か月前
株式会社FUJI
印刷装置
1日前
株式会社FUJI
作業装置
22日前
株式会社FUJI
サイクルタイム表示装置、及びサイクルタイム表示システム
1か月前
株式会社FUJI
実装システム
2か月前
株式会社FUJI
部品実装ライン
24日前
株式会社FUJI
テープフィーダ
1日前
株式会社FUJI
部品供給フィーダ、部品供給フィーダの管理システム及び管理方法
22日前
株式会社FUJI
対基板作業機、および雄型コネクタと雌型コネクタとの接続維持方法
1か月前
株式会社FUJI
搬送治具及び印刷装置
9日前
株式会社FUJI
印刷装置及び制御方法
1か月前
株式会社FUJI
搬送治具および支持部材の搬入方法
1日前
株式会社FUJI
実装システム、保守装置及び管理方法
9日前
続きを見る
他の特許を見る