TOP
|
特許
|
意匠
|
商標
特許ウォッチ
Twitter
他の特許を見る
10個以上の画像は省略されています。
公開番号
2025172165
公報種別
公開特許公報(A)
公開日
2025-11-20
出願番号
2025153039,2024200299
出願日
2025-09-16,2016-12-05
発明の名称
搬送治具及び印刷装置
出願人
株式会社FUJI
代理人
弁理士法人アイテック国際特許事務所
主分類
B41F
15/08 20060101AFI20251113BHJP(印刷;線画機;タイプライター;スタンプ)
要約
【課題】印刷装置の交換可能部材の自動交換を可能にする。
【解決手段】本開示の印刷装置は、印刷対象に対してスクリーンマスクを用いて粘性流体の印刷処理を行う印刷装置であって、前記粘性流体を収容するカートリッジと、スキージと、前記スクリーンマスクの清掃に用いられる清掃部材と、前記スクリーンマスクと、前記印刷対象を固定する支持部材と、のうち前記カートリッジと前記スキージと前記清掃部材との少なくともいずれか1種を含む2種以上の交換可能部材の各々について、該交換可能部材の交換位置への移動と該交換可能部材の搬出入との少なくとも一方を行う移動部と、前記移動部を制御して前記交換可能部材を交換する交換処理を実行する交換制御部と、を備える。
【選択図】図2
特許請求の範囲
【請求項1】
印刷対象に対してスクリーンマスクを用いて粘性流体の印刷処理を行う印刷装置であって、
前記粘性流体を収容するカートリッジと、スキージと、前記スクリーンマスクの清掃に用いられる清掃部材と、前記スクリーンマスクと、前記印刷対象を固定する支持部材と、のうち前記カートリッジと前記スキージと前記清掃部材との少なくともいずれか1種を含む2種以上の交換可能部材の各々について、該交換可能部材の交換位置への移動と該交換可能部材の搬出入との少なくとも一方を行う移動部と、
前記移動部を制御して前記交換可能部材を交換する交換処理を実行する交換制御部と、
を備えた印刷装置。
続きを表示(約 1,300 文字)
【請求項2】
前記移動部は、前記交換可能部材に含まれる2種以上の部材を移動させる共通の移動機構を有している、
請求項1に記載の印刷装置。
【請求項3】
請求項1又は2に記載の印刷装置であって、
前記交換可能部材に含まれる2種以上の部材に共通して、該部材及び該部材の搬送治具の少なくとも一方に付された識別情報を読み取る読取部、
を備えた印刷装置。
【請求項4】
前記印刷装置は、前記交換可能部材を収納する収納装置との間で前記交換可能部材の搬出入が可能であり、
前記交換制御部は、前記収納装置に収納された前記交換可能部材のうち1種以上の識別情報を、前記印刷処理中に前記読取部に読み取らせる、
請求項3に記載の印刷装置。
【請求項5】
前記交換制御部は、前記印刷処理中に前記交換可能部材のうち1種以上の識別情報を前記読取部に読み取らせるにあたり、前記収納装置に収納された前記交換可能部材を該読取部が読取可能な位置まで移動させるよう、前記収納装置に指令を出力する、
請求項4に記載の印刷装置。
【請求項6】
印刷対象に対してスクリーンマスクを用いて粘性流体の印刷処理を行う印刷装置で用いられる部材であって、前記粘性流体を収容するカートリッジと、スキージと、前記スクリーンマスクの清掃に用いられる清掃部材と、前記スクリーンマスクと、前記印刷対象を固定する支持部材と、のうち前記カートリッジと前記スキージと前記清掃部材との少なくともいずれか1種を含む2種以上の交換可能部材を収納する収納部と、
前記収納部と前記印刷装置との間で前記交換可能部材のうち1種以上の搬出入を行う搬送部と、
を備えた収納装置。
【請求項7】
請求項6に記載の収納装置であって、
前記収納部を昇降する昇降部、
を備え、
前記収納部は、前記交換可能部材の少なくとも1種を収納する収納領域を上下方向に複数段有している、
収納装置。
【請求項8】
前記収納部は、前記交換可能部材のうち前記印刷装置への搬入高さが最も高い部材を複数段の前記収納領域のうち最上段に収納するか、前記交換可能部材のうち前記印刷装置への搬入高さが最も低い部材を複数段の前記収納領域のうち最下段に収納するか、の少なくとも一方を行うように構成されている、
請求項7に記載の収納装置。
【請求項9】
請求項6~8のいずれか1項に記載の収納装置であって、
前記収納部を昇降する昇降部、
を備え、
前記収納部は、前記交換可能部材のうち1種以上の部材を、ホルダに取り付けた状態で収納し、
前記昇降部は、前記収納部の昇降により前記ホルダを昇降させることで、前記印刷装置から受け取る前記交換可能部材を該ホルダに取り付けるか、該ホルダに取り付けられた前記交換可能部材を該ホルダから取り外して印刷装置に渡すか、の少なくとも一方を行う、
収納装置。
発明の詳細な説明
【技術分野】
【0001】
本開示は、印刷装置及び収納装置に関する。
続きを表示(約 2,600 文字)
【背景技術】
【0002】
従来、基板などの印刷対象に対してスクリーンマスクを用いて粘性流体の印刷処理を行う印刷装置において、スクリーンマスクの自動交換を行うものが知られている。例えば、特許文献1には、下方に突出したロッドと、ロッドを移動させることによりスクリーンマスクを摺動させて本体フレームへの出し入れを行う摺動子と、を備えた印刷装置が記載されている。
【先行技術文献】
【特許文献】
【0003】
特開平04-107146号公報
【発明の概要】
【発明が解決しようとする課題】
【0004】
ところで、印刷装置には、スクリーンマスク以外にも例えばスキージなどの交換を要する部材が存在する。従来は、これらの部材の交換は作業者が手作業で行っていた。そのため、交換に作業者の手間がかかるという問題があった。
【0005】
本開示は、上述した課題を解決するためになされたものであり、印刷装置の交換可能部材の自動交換を可能にすることを主目的とする。
【課題を解決するための手段】
【0006】
本開示は、上述した主目的を達成するために以下の手段を採った。
【0007】
本開示の印刷装置は、
印刷対象に対してスクリーンマスクを用いて粘性流体の印刷処理を行う印刷装置であって、
前記粘性流体を収容するカートリッジと、スキージと、前記スクリーンマスクの清掃に用いられる清掃部材と、前記スクリーンマスクと、前記印刷対象を固定する支持部材と、のうち前記カートリッジと前記スキージと前記清掃部材との少なくともいずれか1種を含む2種以上の交換可能部材の各々について、該交換可能部材の交換位置への移動と該交換可能部材の搬出入との少なくとも一方を行う移動部と、
前記移動部を制御して前記交換可能部材を交換する交換処理を実行する交換制御部と、
を備えたものである。
【0008】
この印刷装置は、2種以上の交換可能部材の各々について交換可能部材の交換位置への移動と交換可能部材の搬出入との少なくとも一方を行う移動部を備えている。そして、この印刷装置は、この移動部を用いて、交換可能部材を交換する交換処理を行う。これにより、この印刷装置は、2種以上の交換可能部材の自動交換を行うことができる。ここで、「交換位置」は、引渡位置と受取位置とを含む。
【図面の簡単な説明】
【0009】
印刷システム1の構成の概略の一例を示す構成図。
印刷装置10及び収納装置100の概略縦断面図
印刷システム1の電気的な接続関係を示すブロック図。
スキージ固定部24,スキージ30,及びスキージ搬送治具110の斜視図。
供給部40及びカートリッジ搬送治具120の平面図。
供給部40及びホルダ122の斜視図。
基板支持部材70及び支持部材搬送治具130の斜視図。
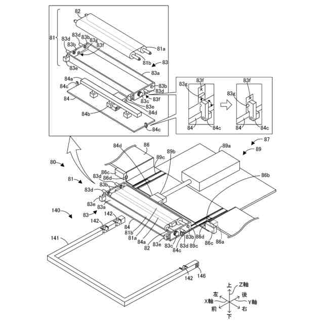
突出状態の清掃部80及び清掃部材搬送治具140の斜視図。
非突出状態の清掃部80の斜視図。
印刷処理と読取処理とを並行して行う様子を示す説明図。
交換処理ルーチンの一例を示すフローチャート。
カートリッジ49を供給ヘッド41に装着する動作の説明図。
清掃部材搬出処理の様子を示す説明図。
清掃部材搬入処理の様子を示す説明図。
マスク搬出処理の様子を示す説明図。
スキージ搬出処理の説明図。
スキージ30をスキージ固定部24に装着する動作の説明図。
基板支持部材搬出処理の説明図。
基板支持部材搬出処理の説明図。
【発明を実施するための形態】
【0010】
次に、本開示の実施の形態を図面を用いて説明する。図1は、本開示の一実施形態である印刷システム1の構成の概略の一例を示す構成図である。図2は、印刷装置10及び収納装置100の概略縦断面図である。図3は、印刷システム1の電気的な接続関係を示すブロック図である。図4は、スキージ固定部24,スキージ30,及びスキージ搬送治具110の斜視図である。図5は、供給部40及びカートリッジ搬送治具120の平面図である。図6は、供給部40及びホルダ122の斜視図である。図7は、基板支持部材70及び支持部材搬送治具130の斜視図である。図8は、突出状態の清掃部80及び清掃部材搬送治具140の斜視図である。図9は、非突出状態の清掃部80の斜視図である。印刷システム1は、粘性流体としてのはんだペースト(以下、単にはんだと称する)をスクリーンマスク55を用いて印刷対象(ここでは基板S)上に印刷処理する印刷装置10を備えている。また、印刷システム1は、印刷装置10で用いられる1種以上の交換可能部材13を収納する収納装置100と、印刷装置10での処理に関する情報を管理する管理コンピュータ(PC)150とを備えている。なお、印刷システム1は、電子部品を基板S上に実装する図示しない実装装置などの他の対基板作業装置をさらに備えた実装システムとして構成されていてもよい。粘性流体としては、はんだのほか、例えば導電性ペースト、接着剤などが挙げられる。印刷装置10は、印刷対象を異なる種類の基板Sに変更する段取り替えを行う際に、印刷処理に用いる交換可能部材13の自動交換が可能な装置として構成されている。交換可能部材13としては、はんだを収容するカートリッジ49と、スキージ30と、清掃部材82と、スクリーンマスク55と、基板支持部材70と、のうち1種以上が挙げられる。本実施形態の印刷装置10は、これら5種の全てが交換可能部材13として自動交換可能に構成されている。また、これら5種のうちスクリーンマスク55以外の交換処理は、図2に示すスキージ搬送治具110,カートリッジ搬送治具120,支持部材搬送治具130,清掃部材搬送治具140を用いて行われる。本実施形態において、左右方向(X軸)、前後方向(Y軸)及び上下方向(Z軸)は、図1,2に示した通りとする。
(【0011】以降は省略されています)
この特許をJ-PlatPat(特許庁公式サイト)で参照する
関連特許
株式会社FUJI
テープガイド
28日前
株式会社FUJI
操作ユニット
3日前
株式会社FUJI
生産計画作成装置
1か月前
株式会社FUJI
印刷装置及び印刷方法
14日前
株式会社FUJI
造形装置および造形方法
1か月前
株式会社FUJI
部品供給装置及び部品供給方法
1日前
株式会社FUJI
作業装置および支持部材採取装置
1日前
株式会社FUJI
製造方法及び3次元造形システム
1か月前
株式会社FUJI
制御装置、印刷装置及び制御方法
14日前
株式会社FUJI
制御装置、印刷装置及び制御方法
22日前
株式会社FUJI
情報検索システムおよび情報検索方法
7日前
株式会社FUJI
部品データの生成方法および生成装置
1か月前
株式会社FUJI
電子部品装着方法、及び電子部品装着装置
24日前
株式会社FUJI
部品実装機および異物の有無を判定する方法
23日前
株式会社FUJI
印刷品質管理システムおよび印刷品質管理方法
1か月前
株式会社FUJI
印刷装置
14日前
株式会社FUJI
作業装置
1か月前
株式会社FUJI
部品実装ライン
1か月前
株式会社FUJI
テープフィーダ
14日前
株式会社FUJI
部品供給フィーダ、部品供給フィーダの管理システム及び管理方法
1か月前
株式会社FUJI
対基板作業機、および雄型コネクタと雌型コネクタとの接続維持方法
1か月前
株式会社FUJI
搬送治具及び印刷装置
22日前
株式会社FUJI
印刷装置及び制御方法
1か月前
株式会社FUJI
搬送治具および支持部材の搬入方法
14日前
株式会社FUJI
部品供給ユニットの入出庫システム
9日前
株式会社FUJI
実装システム、保守装置及び管理方法
22日前
株式会社FUJI
交換可能部材の交換方法及び印刷システム
1か月前
個人
印鑑
7日前
個人
箔熱転写装置
3か月前
シヤチハタ株式会社
印判
6か月前
キヤノン株式会社
記録装置
2か月前
三光株式会社
感熱記録材料
8か月前
キヤノン株式会社
電子機器
1か月前
株式会社リコー
画像形成装置
2か月前
株式会社リコー
液体吐出装置
7か月前
株式会社リコー
画像形成装置
3か月前
続きを見る
他の特許を見る