TOP
|
特許
|
意匠
|
商標
特許ウォッチ
Twitter
他の特許を見る
10個以上の画像は省略されています。
公開番号
2025173761
公報種別
公開特許公報(A)
公開日
2025-11-28
出願番号
2024079508
出願日
2024-05-15
発明の名称
印刷装置及び印刷方法
出願人
株式会社FUJI
代理人
弁理士法人アイテック国際特許事務所
主分類
B29C
64/393 20170101AFI20251120BHJP(プラスチックの加工;可塑状態の物質の加工一般)
要約
【課題】より安定な状態で流体の吐出を行う。
【解決手段】印刷装置は、対象物に吐出する流体を収容する収容部と、収容部に接続された流路を介して供給された流体を吐出するノズルと、収容部に収容された流体を検出する検出部と、検出部が検出した流体の液面が所定位置に設定されている上限と下限とを含む基準範囲内にあるときにノズルからこの流体を吐出させ、検出部が検出した流体の液面が基準範囲内にないときには、流体の液面が検出部の検出範囲内且つ所定の液面許容範囲内にあるときには基準範囲を変更した位置に設定してノズルからこの流体を吐出させる制御部と、を備える。
【選択図】図1
特許請求の範囲
【請求項1】
対象物に吐出する流体を収容する収容部と、
前記収容部に接続された流路を介して供給された前記流体を吐出するノズルと、
前記収容部に収容された前記流体を検出する検出部と、
前記検出部が検出した前記流体の液面が所定位置に設定されている上限と下限とを含む基準範囲内にあるときに前記ノズルから該流体を吐出させ、前記検出部が検出した前記流体の液面が前記基準範囲内にないときには、前記流体の液面が前記検出部の検出範囲内且つ所定の液面許容範囲内にあるときには前記基準範囲を変更した位置に設定して前記ノズルから該流体を吐出させる制御部と、
を備えた印刷装置。
続きを表示(約 1,300 文字)
【請求項2】
前記制御部は、前記基準範囲を前記所定位置以外に設定するときには前記収容部内の圧力を前記液面の範囲内に対応する値に変更する、請求項1に記載の印刷装置。
【請求項3】
前記制御部は、前記収容部内の圧力を変更するに際して、前記流体の液面がより上方にあると前記収容部内の圧力をより減圧にする傾向に設定する、請求項2に記載の印刷装置。
【請求項4】
前記制御部は、前記流体の液面の位置に応じて前記基準範囲の位置を変更する際に前記基準範囲の上限が前記検出部の検出範囲内における液面許容上限以下にあれば前記基準範囲の位置を上方へ変更し、及び/又は前記流体の液面の位置に応じて前記基準範囲の位置を変更する際に前記基準範囲の下限が前記検出部の検出範囲内における液面許容下限以上にあれば前記基準範囲の位置を下方へ変更する、請求項1~3のいずれか1項に記載の印刷装置。
【請求項5】
前記制御部は、前記流体の液面の位置に応じて前記基準範囲の位置を変更する際に、前記基準範囲の上限が前記液面許容上限より上方、及び/又は前記基準範囲の下限が前記液面許容下限より下方にあるとき、警告を出力する、請求項4に記載の印刷装置。
【請求項6】
前記制御部は、前記流体の液面の位置に応じて前記基準範囲の位置を変更する際に、前記基準範囲の上限が前記液面許容上限より上方、及び/又は前記基準範囲の下限が前記液面許容下限より下方にあるとき、前記基準範囲の位置を前記所定位置へ戻す、請求項4に記載の印刷装置。
【請求項7】
前記収容部は、導電粒子を含有し吐出後に導電体となる導電流体を収容し、
前記制御部は、前記導電流体を収容した収容部の前記基準範囲の位置を変更する、請求項1又は2に記載の印刷装置。
【請求項8】
請求項1又は2に記載の印刷装置であって、
対象物へ造形物を構成する基材となる構造流体を吐出する第1吐出ヘッドを有する第1吐出ユニットと、
前記対象物へ導電粒子を含有し吐出後に導電体となる導電流体を吐出する前記ノズルを備えた第2吐出ヘッドを有する第2吐出ユニットと、を備え、
前記制御部は、前記構造流体及び前記導電流体を吐出して造形物を造形する3次元造形処理を実行する、印刷装置。
【請求項9】
対象物に吐出する流体を収容する収容部と、前記収容部に接続された流路を介して供給された前記流体を吐出するノズルと、を備えた印刷装置に用いられ、コンピュータが実行する印刷方法であって、
(a)前記収容部に収容された前記流体を検出するステップと、
(b)前記ステップ(a)で検出した前記収容部に収容されている前記流体の液面が所定位置に設定されている上限と下限とを含む基準範囲内にあるときに前記ノズルから該流体を吐出させるステップと、
(c)前記ステップ(a)で検出した前記流体の液面が前記基準範囲内にないときには、前記流体の液面が前記検出部の検出範囲内且つ所定の液面許容範囲内にあるときには前記基準範囲を変更した位置に設定して前記ノズルから該流体を吐出させるステップと、
を含む印刷方法。
発明の詳細な説明
【技術分野】
【0001】
本明細書は、印刷装置及び印刷方法を開示する。
続きを表示(約 1,700 文字)
【背景技術】
【0002】
従来、印刷装置としては、液滴を吐出するノズルを有するヘッドと、ヘッドの下端よりも所定高さ分高い位置に配置され、液滴吐出部に供給する液体を収容するタンクと、タンク内に負圧を与える真空発生装置と、液体収容部内の液面の高さを検出する液面センサと、タンク内の液面高さとヘッド下端との高低差に基づいて真空発生装置を制御してタンク内の圧力を所定値に調整する制御部とを備えるものが提案されている(例えば、特許文献1参照)。この装置では、気泡やゴミの混入を防ぎつつ、ノズル部を微小負圧に保って安定したインク吐出が可能である、としている。
【先行技術文献】
【特許文献】
【0003】
特開2015-16662号公報
【発明の概要】
【発明が解決しようとする課題】
【0004】
しかしながら、特許文献1の印刷装置では、タンク内の圧力を調整して安定したインク吐出が可能であるが、インクの消費や補充などによってタンク内の状態が変化することから、圧力調整だけでは流体の吐出を安定的に行うには不十分であり、更なる改良が求められていた。
【0005】
本開示は、このような課題に鑑みなされたものであり、より安定な状態で流体の吐出を行うことができる印刷装置及び印刷方法を提供することを主目的とする。
【課題を解決するための手段】
【0006】
本開示は、上述の主目的を達成するために以下の手段を採った。
【0007】
即ち、本開示の印刷装置は、
対象物に吐出する流体を収容する収容部と、
前記収容部に接続された流路を介して供給された前記流体を吐出するノズルと、
前記収容部に収容された前記流体を検出する検出部と、
前記検出部が検出した前記流体の液面が所定位置に設定されている上限と下限とを含む基準範囲内にあるときに前記ノズルから該流体を吐出させ、前記検出部が検出した前記流体の液面が前記基準範囲内にないときには、前記流体の液面が前記検出部の検出範囲内且つ所定の液面許容範囲内にあるときには前記基準範囲を変更した位置に設定して前記ノズルから該流体を吐出させる制御部と、
を備えたものである。
【0008】
この印刷装置では、基準範囲を用い、収容部内の流体の液面に応じてより安定した状態で流体の吐出を実行することができる。また、この印刷装置では、基準範囲を液面が外れた場合においても、液面の検出範囲及び液面許容範囲を用い、基準範囲の位置を変更して流体の吐出を行うことができる。したがって、この印刷装置では、より安定な状態で流体の吐出を行うことができる。
【図面の簡単な説明】
【0009】
3次元造形システム10の一例を示す概略説明図。
前方から見た印刷装置11の構造の一例を示す概略説明図。
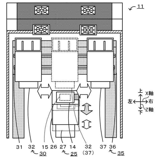
各吐出ユニット及び移動ユニット25の概略の一例を示す説明図。
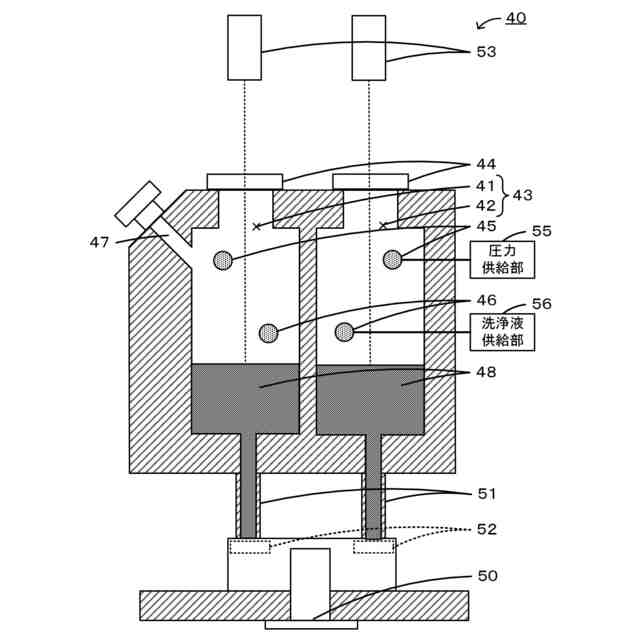
流体供給ユニット40の概略の一例を示す説明図。
造形物生産処理ルーチンの一例を示すフローチャート。
造形処理の概要の一例を示す説明図。
流体管理処理ルーチンの一例を示すフローチャート。
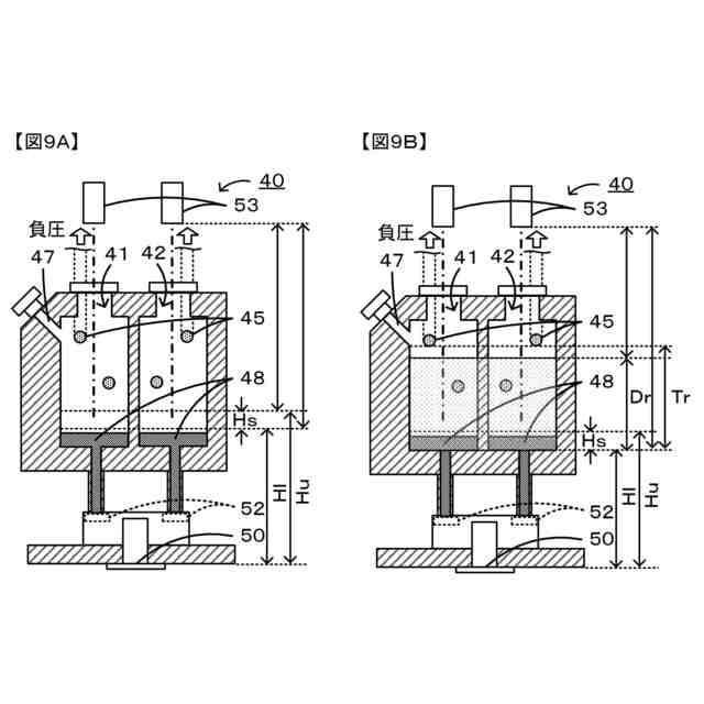
基準範囲Hsと導電流体48の液面高さの関係の一例を示す説明図。
基準範囲Hsを下方へ変更する一例を示す説明図。
基準範囲Hsを上方へ変更する一例を示す説明図。
【発明を実施するための形態】
【0010】
本実施形態を、図面を参照しながら以下に説明する。図1は、本開示の一例である3次元造形システム10の一例を示す概略説明図である。図2は、前方から見た印刷装置11の構造の一例を示す概略説明図である。図3は、各吐出ユニット及び移動ユニット25の概略の一例を示す説明図である。図4は、第2吐出ユニット35に用いられる流体供給ユニット40の概略の一例を示す説明図である。なお、本実施形態において、左右方向(X軸)、前後方向(Y軸)及び上下方向(Z軸)は、図1~3に示した通りとする。
(【0011】以降は省略されています)
この特許をJ-PlatPat(特許庁公式サイト)で参照する
関連特許
株式会社FUJI
制御盤
2か月前
株式会社FUJI
工作機械
1か月前
株式会社FUJI
工作機械
1か月前
株式会社FUJI
部品実装機
1か月前
株式会社FUJI
対基板作業機
2か月前
株式会社FUJI
テープガイド
15日前
株式会社FUJI
測定値処理装置
2か月前
株式会社FUJI
フィーダ制御装置
2か月前
株式会社FUJI
ストッカシステム
2か月前
株式会社FUJI
生産計画作成装置
24日前
株式会社FUJI
印刷装置及び印刷方法
1日前
株式会社FUJI
造形装置および造形方法
1か月前
株式会社FUJI
製造方法及び3次元造形システム
1か月前
株式会社FUJI
部品実装機及びテープ回収方法。
2か月前
株式会社FUJI
制御装置、印刷装置及び制御方法
9日前
株式会社FUJI
印刷装置及び印刷装置の制御方法
2か月前
株式会社FUJI
制御装置、印刷装置及び制御方法
1日前
株式会社FUJI
部品データの生成方法および生成装置
17日前
株式会社FUJI
テープ剥離装置およびテープフィーダ
2か月前
株式会社FUJI
電子部品装着方法、及び電子部品装着装置
11日前
株式会社FUJI
部品実装機および異物の有無を判定する方法
10日前
株式会社FUJI
造形装置およびディスペンサヘッドの制御方法
1か月前
株式会社FUJI
印刷品質管理システムおよび印刷品質管理方法
23日前
株式会社FUJI
アラーム情報表示装置、及びアラーム情報表示システム
1か月前
株式会社FUJI
作業装置
22日前
株式会社FUJI
交換装置
2か月前
株式会社FUJI
印刷装置
1日前
株式会社FUJI
サイクルタイム表示装置、及びサイクルタイム表示システム
1か月前
株式会社FUJI
実装システム
2か月前
株式会社FUJI
テープフィーダ
1日前
株式会社FUJI
部品実装ライン
24日前
株式会社FUJI
部品供給フィーダ、部品供給フィーダの管理システム及び管理方法
22日前
株式会社FUJI
対基板作業機、および雄型コネクタと雌型コネクタとの接続維持方法
1か月前
株式会社FUJI
印刷装置及び制御方法
1か月前
株式会社FUJI
搬送治具及び印刷装置
9日前
株式会社FUJI
搬送治具および支持部材の搬入方法
1日前
続きを見る
他の特許を見る