TOP
|
特許
|
意匠
|
商標
特許ウォッチ
Twitter
他の特許を見る
10個以上の画像は省略されています。
公開番号
2025139976
公報種別
公開特許公報(A)
公開日
2025-09-29
出願番号
2024039090
出願日
2024-03-13
発明の名称
測定値処理装置
出願人
株式会社FUJI
代理人
弁理士法人中部国際特許事務所
主分類
G01R
31/00 20060101AFI20250919BHJP(測定;試験)
要約
【課題】測定子の汚れの程度を良好に取得する。
【解決手段】本測定値処理装置においては、電気的特性を表す値が設定値より小さい対象物について、測定子により測定された電気的特性の測定値に関連する値に基づいて、測定子の汚れの程度が取得される。電気的特性を表す値が設定値より小さい対象物については設定値以上の対象物に比較して、測定値に対する測定子の汚れに起因する影響分の比率が高い。また、測定値のバラツキが小さいことが多い。以上により、電気的特性を表す値が設定値より小さい対象物の測定値に関連する値に基づけば、測定子の汚れの程度を良好に取得することができる。
【選択図】図9
特許請求の範囲
【請求項1】
測定子によって測定された対象物の電気的特性の測定値を処理する測定値処理装置であって、
前記対象物が、前記対象物の前記電気的特性を表す値が予め定められた設定値より小さいものであり、
当該測定値処理装置が、前記測定子により測定された前記対象物の前記電気的特性の測定値に関連する値に基づいて、前記測定子の汚れの程度を取得する汚れ程度取得部を含む測定値処理装置。
続きを表示(約 350 文字)
【請求項2】
前記汚れ程度取得部が、前記測定値に関連する値として前記測定値についての誤差が予め定められたしきい値より大きくなった場合に、前記測定子の汚れの程度が設定程度に達したと取得するものである請求項1に記載の測定値処理装置。
【請求項3】
前記汚れ程度取得部が、前記誤差の移動平均を取得し、前記誤差の移動平均が前記しきい値より大きくなった場合に、前記測定子の汚れの程度が設定程度に達したと取得するものである請求項2に記載の測定値処理装置。
【請求項4】
当該測定値処理装置が、前記汚れ程度取得部によって、前記測定子の汚れの程度が設定程度に達したと取得された場合に、そのことを報知する報知部を含む請求項1ないし3のいずれか1つに記載の測定値処理装置。
発明の詳細な説明
【技術分野】
【0001】
本願発明は、対象物の電気的特性の測定値を処理する測定値処理装置に関するものである。
続きを表示(約 1,800 文字)
【背景技術】
【0002】
特許文献1には、対象物の電気的特性の測定値を処理する測定値処理装置が記載されている。特許文献1に記載の測定値処理装置において、対象物の電気的特性の測定値が急激に大きくなった場合に、測定子が汚れ、クリーニングの必要があることが取得される。
【先行技術文献】
【特許文献】
【0003】
特開2023-7002号公報
【本発明が解決しようとする課題】
【0004】
本発明の課題は、測定子の汚れの程度を良好に取得することである。
【課題を解決するための手段、作用および効果】
【0005】
本発明に係る測定値処理装置においては、電気的特性を表す値が予め定められた設定値より小さい対象物について、測定子により電気的特性が測定され、この対象物の電気的特性の測定値に関連する値に基づいて、測定子の汚れの程度が取得される。
【0006】
電気的特性を表す値が設定値より小さい対象物については設定値以上の対象物に比較して、測定値に対する測定子の汚れに起因する影響分の比率が高い。また、電気的特性を表す値が設定値より小さい対象物の測定値は設定値以上の対象物の測定値に比較して、測定値のバラツキが小さいことが多い。
以上により、電気的特性を表す値が予め定められた設定値より小さい対象物の測定値に関連する値に基づけば、測定子の汚れの程度を良好に取得することができる。
【図面の簡単な説明】
【0007】
本発明の一実施形態である測定値処理装置を備えた電気的特性取得装置を含む装着機の斜視図である。
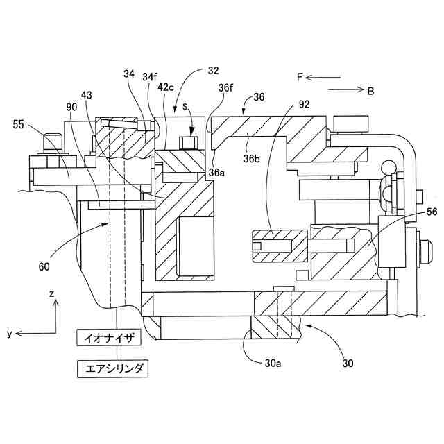
上記電気的特性取得装置の要部の斜視図である。
上記電気的特性取得装置の要部の断面図である。
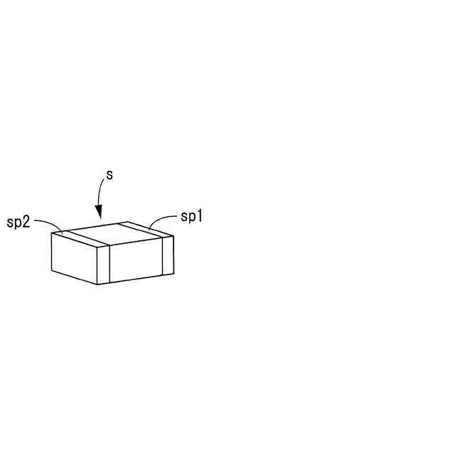
上記電気的特性取得によって電気的特性が取得される対象物としての部品の斜視図である。
上記測定値処理装置の構造を概念的に示す図である。
上記測定値処理装置の記憶部に記憶された電気的特性取得プログラムを表すフローチャートである。
上記記憶部に記憶された汚れ程度取得プログラムを表すフローチャートである。
上記電気的特性取得プログラムの一部を表すフローチャートである。
上記電気的特性取得装置によって取得された電気的特性の測定値の誤差の変化を示す図である。
【本発明の実施の形態】
【0008】
以下、本発明の一実施形態である測定値処理装置を備えた電気的特性取得装置を含む装着機について図面に基づいて詳細に説明する。
【 実施例】
【0009】
図1に示す装着機は、部品を回路基板に装着するものであり、本体2,回路基板搬送保持装置4,部品供給装置6,ヘッド移動装置8等を含む。
回路基板搬送保持装置4は、回路基板P(以下、基板Pと略称する)を水平な姿勢で搬送して保持するものであり、図1において、基板Pの搬送方向をx方向、基板Pの幅方向をy方向、基板Pの厚み方向をz方向とする。y方向、z方向は、それぞれ、装着機の前後方向、上下方向である。これら、x方向、y方向、z方向は互いに直交する。部品供給装置6は、基板Pに装着される電子部品(以下、部品と略称する)sを供給するものであり、複数のテープフィーダ14等を含む。ヘッド移動装置8は、作業ヘッド16を保持してx、y、z方向へ移動させるものであり、作業ヘッド16は、部品sをピックアップして保持する吸着ノズル18を有する。
【0010】
装着機は、さらに、カメラ20、測定装置22等も含む。カメラ20は、吸着ノズル18によって保持された部品sを撮像するものである。カメラ20によって撮像された画像に基づいて、部品sが回路基板Pに装着される予定のものであるか否かが判定される。測定装置22は、基板Pに装着されていない部品sの電気的特性を測定するものである。部品sの電気的特性としては、L(インダクタンス)、C(キャパシタンス)、R(レジスタンス,抵抗)、X(リアクタンス)、Z′(インピーダンス)等が該当し、測定装置22によってこれらのうちの1つ以上が測定される。
(【0011】以降は省略されています)
この特許をJ-PlatPat(特許庁公式サイト)で参照する
関連特許
株式会社FUJI
制御盤
2か月前
株式会社FUJI
工作機械
1か月前
株式会社FUJI
工作機械
1か月前
株式会社FUJI
部品実装機
1か月前
株式会社FUJI
対基板作業機
2か月前
株式会社FUJI
テープガイド
15日前
株式会社FUJI
測定値処理装置
2か月前
株式会社FUJI
フィーダ制御装置
2か月前
株式会社FUJI
ストッカシステム
2か月前
株式会社FUJI
生産計画作成装置
24日前
株式会社FUJI
印刷装置及び印刷方法
1日前
株式会社FUJI
造形装置および造形方法
1か月前
株式会社FUJI
製造方法及び3次元造形システム
1か月前
株式会社FUJI
部品実装機及びテープ回収方法。
2か月前
株式会社FUJI
制御装置、印刷装置及び制御方法
9日前
株式会社FUJI
印刷装置及び印刷装置の制御方法
2か月前
株式会社FUJI
制御装置、印刷装置及び制御方法
1日前
株式会社FUJI
部品データの生成方法および生成装置
17日前
株式会社FUJI
テープ剥離装置およびテープフィーダ
2か月前
株式会社FUJI
電子部品装着方法、及び電子部品装着装置
11日前
株式会社FUJI
部品実装機および異物の有無を判定する方法
10日前
株式会社FUJI
造形装置およびディスペンサヘッドの制御方法
1か月前
株式会社FUJI
印刷品質管理システムおよび印刷品質管理方法
23日前
株式会社FUJI
アラーム情報表示装置、及びアラーム情報表示システム
1か月前
株式会社FUJI
作業装置
22日前
株式会社FUJI
交換装置
2か月前
株式会社FUJI
印刷装置
1日前
株式会社FUJI
サイクルタイム表示装置、及びサイクルタイム表示システム
1か月前
株式会社FUJI
実装システム
2か月前
株式会社FUJI
テープフィーダ
1日前
株式会社FUJI
部品実装ライン
24日前
株式会社FUJI
部品供給フィーダ、部品供給フィーダの管理システム及び管理方法
22日前
株式会社FUJI
対基板作業機、および雄型コネクタと雌型コネクタとの接続維持方法
1か月前
株式会社FUJI
印刷装置及び制御方法
1か月前
株式会社FUJI
搬送治具及び印刷装置
9日前
株式会社FUJI
搬送治具および支持部材の搬入方法
1日前
続きを見る
他の特許を見る