TOP
|
特許
|
意匠
|
商標
特許ウォッチ
Twitter
他の特許を見る
公開番号
2025159798
公報種別
公開特許公報(A)
公開日
2025-10-22
出願番号
2024062562
出願日
2024-04-09
発明の名称
造形装置および造形方法
出願人
株式会社FUJI
代理人
弁理士法人アイテック国際特許事務所
主分類
B29C
64/393 20170101AFI20251015BHJP(プラスチックの加工;可塑状態の物質の加工一般)
要約
【課題】造形物と平坦化部材との干渉を適切に防止して、造形物の形状精度や寸法精度を確保する。
【解決手段】流体の吐出処理と平坦化処理と硬化処理とを繰り返し行うことにより、造形台に基材層を含む造形物を積層造形する造形装置は、平坦化処理で用いられる平坦化部材を、造形台に対して相対的に昇降させる昇降部と、対象物の高さ位置を測定する測定部と、造形台の上面高さを測定部に測定させ、造形台に対する平坦化部材の目標高さに、基材層の目標厚みに基づく高さを上面高さの測定値に基づいて補正した高さを設定する設定部と、平坦化部材を目標高さとするように昇降部を制御する制御部と、を備える。
【選択図】図7
特許請求の範囲
【請求項1】
流体の吐出処理と平坦化処理と硬化処理とを繰り返し行うことにより、造形台に基材層を含む造形物を積層造形する造形装置であって、
前記平坦化処理で用いられる平坦化部材を、前記造形台に対して相対的に昇降させる昇降部と、
対象物の高さ位置を測定する測定部と、
前記造形台の上面高さを前記測定部に測定させ、前記造形台に対する前記平坦化部材の目標高さに、前記基材層の目標厚みに基づく高さを前記上面高さの測定値に基づいて補正した高さを設定する設定部と、
前記平坦化部材を前記目標高さとするように前記昇降部を制御する昇降制御部と、
を備える造形装置。
続きを表示(約 1,600 文字)
【請求項2】
前記造形台は、上面視で矩形状に形成され、
前記設定部は、前記造形台上の造形領域外において前記矩形の四辺のうち少なくとも二辺の各々の近傍領域に設定された少なくとも三個の測定点の前記上面高さを前記測定部に測定させる、
請求項1に記載の造形装置。
【請求項3】
前記設定部は、前記基材層の一層目の造形では、該一層目の造形の最初の前記平坦化処理までに複数の測定点の前記上面高さを前記測定部に測定させ、前記複数の測定点の測定値に基づいて定めた基準高さと、前記複数の測定点のうち最も高い測定値との差分を、前記基準高さと前記基材層の目標厚みとの和に加えることで補正した高さに前記目標高さを設定する、
請求項1または2に記載の造形装置。
【請求項4】
前記設定部は、前記基材層の二層目以降の造形では、該二層目以降の造形の最初の前記平坦化処理までに前記複数の測定点の前記上面高さを前記測定部に測定させ、前記複数の測定点の測定値と、前回の前記目標高さを設定した際の測定値との前記測定点毎の変化量のうち最大の変化量を、前回の前記目標高さと前記基材層の目標厚みとの和に加えることで補正した高さに前記目標高さを設定する、
請求項3に記載の造形装置。
【請求項5】
前記設定部は、前記基材層の造形における最初の前記吐出処理の前に、前記上面高さを前記測定部に測定させて前記目標高さを設定し、
前記昇降制御部は、前記基材層の造形における最初の前記平坦化処理の開始までに、前記平坦化部材を前記目標高さとするように前記昇降部を制御する、
請求項1または2に記載の造形装置。
【請求項6】
前記昇降制御部は、一層分の前記基材層の造形が終了するまで、前記平坦化部材を前記目標高さで保持するように前記昇降部を制御する、
請求項5に記載の造形装置。
【請求項7】
前記造形装置は、吐出処理と硬化処理とを繰り返し行うことにより、前記基材層上に回路を造形し、
前記設定部は、少なくとも、前記回路が造形された後の次の前記基材層の造形における前記吐出処理の前に、前記上面高さを前記測定部に測定させる、
請求項1または2に記載の造形装置。
【請求項8】
前記設定部は、前記基材層の二層目以降の造形では、前記上面高さに加えて造形済みの前記基材層の表面高さを前記測定部に測定させ、前記上面高さの測定値と前記表面高さの測定値とから算出した前記基材層の造形厚みに基づいてさらに補正した高さに前記目標高さを設定可能である、
請求項1に記載の造形装置。
【請求項9】
流体の吐出処理と平坦化処理と硬化処理とを繰り返し行うことにより、造形台に基材層を含む造形物を積層造形する造形装置であって、
前記平坦化処理で用いられる平坦化部材を、前記造形台に対して相対的に昇降させる昇降部と、
対象物の高さ位置を測定する測定部と、
前記造形台の上面高さと造形済みの前記基材層の表面高さとを前記測定部に測定させ、前記上面高さの測定値と前記表面高さの測定値とから前記基材層の造形厚みを算出し、前記造形台に対する前記平坦化部材の目標高さに、前記基材層の目標厚みに基づく高さを前記基材層の造形厚みに基づいて補正した高さを設定する設定部と、
前記平坦化部材を前記目標高さとするように前記昇降部を制御する昇降制御部と、
を備える造形装置。
【請求項10】
前記造形装置は、前記造形物が設計値通りに造形されるように、前記造形厚みに基づいて前記基材層の目標厚みを補正して前記吐出処理を行う、
請求項8または9に記載の造形装置。
(【請求項11】以降は省略されています)
発明の詳細な説明
【技術分野】
【0001】
本明細書は、造形装置および造形方法について開示する。
続きを表示(約 1,600 文字)
【背景技術】
【0002】
従来、造形台上に流体を吐出してから平坦化部材で平坦化することで基材層(固化層)を造形する造形装置が提案されている。例えば、特許文献1には、基材層から突出する突起部の有無を検出し、突起部を検出すると、その突起部を除去してから平坦化することで、突起部と平坦化部材との干渉(衝突)を回避して平坦化部材の損傷を防止するものが記載されている。
【先行技術文献】
【特許文献】
【0003】
特開2020-026577号公報
【発明の概要】
【発明が解決しようとする課題】
【0004】
上述したように、平坦化部材の損傷を防止することは、平坦化を適切に行って造形物の形状精度や寸法精度を確保するために重要である。一方で、突起部以外の他の要因によって基材層と平坦化部材とが干渉し、平坦化部材が損傷したり造形物の形状や寸法が損なわれたりする場合がある。
【0005】
本開示は、造形物と平坦化部材との干渉を適切に防止して、造形物の形状精度や寸法精度を確保することを主目的とする。
【課題を解決するための手段】
【0006】
本開示は、上述の主目的を達成するために以下の手段を採った。
【0007】
本開示の造形装置は、
流体の吐出処理と平坦化処理と硬化処理とを繰り返し行うことにより、造形台に基材層を含む造形物を積層造形する造形装置であって、
前記平坦化処理で用いられる平坦化部材を、前記造形台に対して相対的に昇降させる昇降部と、
対象物の高さ位置を測定する測定部と、
前記造形台の上面高さを前記測定部に測定させ、前記造形台に対する前記平坦化部材の目標高さに、前記基材層の目標厚みに基づく高さを前記上面高さの測定値に基づいて補正した高さを設定する設定部と、
前記平坦化部材を前記目標高さとするように前記昇降部を制御する制御部と、
を備えることを要旨とする。
【0008】
本開示の造形装置では、造形台に対する平坦化部材の目標高さに、基材層の目標厚みに基づく高さを造形台の上面高さの測定値に基づいて補正した高さを設定し、平坦化部材を目標高さとするように昇降部を制御する。これにより、造形台が上方に歪むなどの変形が生じた場合でも、造形物と平坦化部材との干渉を適切に防止して、造形物の形状精度や寸法精度を確保することができる。
【図面の簡単な説明】
【0009】
造形装置10を含む生産システム1の構成の概略を示す構成図。
造形装置10の構成の概略を示すブロック図。
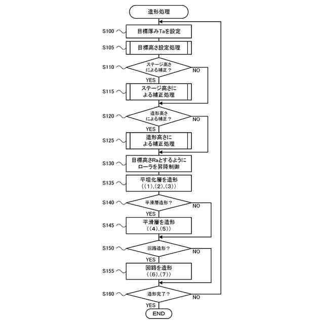
造形処理の一例を示すフローチャート。
造形処理の概要の一例を示す説明図。
目標高さ設定処理の一例を示すフローチャート。
高さ測定箇所の一例を示す説明図。
ステージ高さによる補正処理の一例を示すフローチャート。
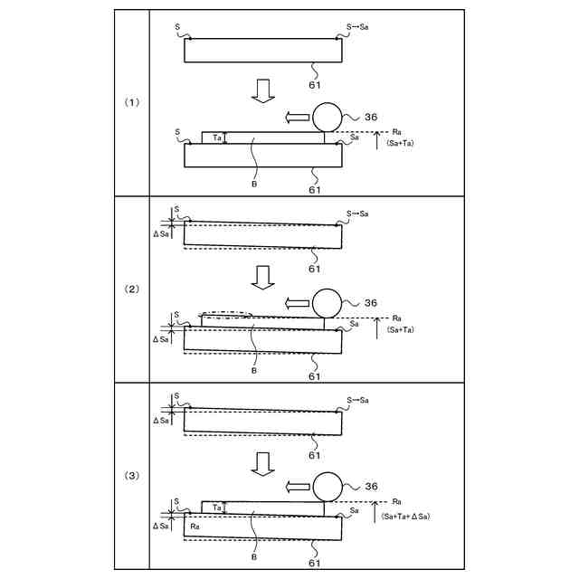
ステージ高さによる補正の一例を示す説明図。
ステージ高さによる補正の一例を示す説明図。
マークMを含む造形物の一例を示す説明図。
造形高さによる補正処理の一例を示すフローチャート。
造形高さによる補正の一例を示す説明図。
造形高さによる補正の一例を示す説明図。
台座部BPを含む造形箇所の一例を示す説明図。
【発明を実施するための形態】
【0010】
本開示の実施形態について図面を用いて説明する。図1は、造形装置10を含む生産システム1の構成の概略を示す構成図である。図2は、造形装置10の構成の概略を示すブロック図である。なお、本実施形態において、左右方向(X軸)、前後方向(Y軸)、上下方向(Z軸)は、図1に示した通りとする。
(【0011】以降は省略されています)
この特許をJ-PlatPat(特許庁公式サイト)で参照する
関連特許
株式会社FUJI
工作機械
1か月前
株式会社FUJI
工作機械
1か月前
株式会社FUJI
部品実装機
1か月前
株式会社FUJI
テープガイド
8日前
株式会社FUJI
測定値処理装置
1か月前
株式会社FUJI
生産計画作成装置
17日前
株式会社FUJI
フィーダ制御装置
1か月前
株式会社FUJI
造形装置および造形方法
1か月前
株式会社FUJI
制御装置、印刷装置及び制御方法
2日前
株式会社FUJI
印刷装置及び印刷装置の制御方法
1か月前
株式会社FUJI
製造方法及び3次元造形システム
1か月前
株式会社FUJI
テープ剥離装置およびテープフィーダ
1か月前
株式会社FUJI
部品データの生成方法および生成装置
10日前
株式会社FUJI
電子部品装着方法、及び電子部品装着装置
4日前
株式会社FUJI
部品実装機および異物の有無を判定する方法
3日前
株式会社FUJI
造形装置およびディスペンサヘッドの制御方法
1か月前
株式会社FUJI
印刷品質管理システムおよび印刷品質管理方法
16日前
株式会社FUJI
アラーム情報表示装置、及びアラーム情報表示システム
1か月前
株式会社FUJI
作業装置
15日前
株式会社FUJI
サイクルタイム表示装置、及びサイクルタイム表示システム
1か月前
株式会社FUJI
部品実装ライン
17日前
株式会社FUJI
部品供給フィーダ、部品供給フィーダの管理システム及び管理方法
15日前
株式会社FUJI
対基板作業機、および雄型コネクタと雌型コネクタとの接続維持方法
1か月前
株式会社FUJI
搬送治具及び印刷装置
2日前
株式会社FUJI
印刷装置及び制御方法
25日前
株式会社FUJI
実装システム、保守装置及び管理方法
2日前
株式会社FUJI
交換可能部材の交換方法及び印刷システム
1か月前
個人
気泡緩衝材減容装置
1か月前
東レ株式会社
吹出しノズル
11か月前
豊田鉄工株式会社
金型
3か月前
CKD株式会社
型用台車
11か月前
シーメット株式会社
光造形装置
11か月前
東レ株式会社
フィルムの製造方法
8か月前
グンゼ株式会社
ピン
11か月前
東レ株式会社
フィルムの製造方法
4か月前
株式会社 型善
射出成形型
3日前
続きを見る
他の特許を見る