TOP
|
特許
|
意匠
|
商標
特許ウォッチ
Twitter
他の特許を見る
10個以上の画像は省略されています。
公開番号
2025172195
公報種別
公開特許公報(A)
公開日
2025-11-20
出願番号
2025154860,2024037990
出願日
2025-09-18,2018-04-04
発明の名称
実装システム、保守装置及び管理方法
出願人
株式会社FUJI
代理人
弁理士法人アイテック国際特許事務所
主分類
H05K
13/00 20060101AFI20251113BHJP(他に分類されない電気技術)
要約
【課題】実装システムを構成する構成物の使用状況を把握し、より容易に保守計画をたてる。
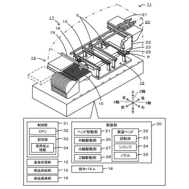
【解決手段】本開示の管理装置は、部品を採取する採取部と基板を移動固定する基板処理部とを構成物として備え部品を基板に実装する実装装置を含む実装システムの保守に関する装置である。この管理装置は、実装装置の構成物の項目ごとに作動回数及び/又は作動時間に対応する保守時期が設定された対応情報を記憶する記憶部と、実装装置から作動回数及び/又は作動時間を含む使用状況の情報を取得し、取得した情報と対応情報とに基づき、いずれの項目が保守時期に至っているかを視認可能に一覧形式で表示出力する制御部と、を備えている。
【選択図】図1
特許請求の範囲
【請求項1】
部品を採取する採取部と基板を移動固定する基板処理部とを構成物として備え部品を基板に実装する実装装置を含む実装システムの保守に関する管理装置であって、
前記実装装置の構成物の項目ごとに作動回数及び/又は作動時間に対応する保守時期が設定された対応情報を記憶する記憶部と、
前記実装装置から前記作動回数及び/又は作動時間を含む使用状況の情報を取得し、該取得した情報と前記対応情報とに基づき、いずれの前記項目が保守時期に至っているかを視認可能に一覧形式で表示出力する制御部と、
を備えた管理装置。
続きを表示(約 1,800 文字)
【請求項2】
前記制御部は、保守時期に至った前記構成物を使用不可状態とする使用不可情報を該構成物に対応付け、前記構成物を有する装置へ該構成物に対応付けられた使用不可情報を出力する、請求項1に記載の管理装置。
【請求項3】
前記実装システムは、前記構成物を保守する保守装置を含んでおり、
前記制御部は、前記使用不可情報を出力したのち前記保守装置から保守時期に至った前記構成物を保守した旨の保守済情報を取得すると前記使用不可状態を解除する解除情報を前記構成物を有する装置へ出力する、請求項2に記載の管理装置。
【請求項4】
部品を採取する採取部と基板を移動固定する基板処理部とを構成物として備え部品を基板に実装する実装装置と、前記構成物を保守する保守装置とを含む実装システムの保守に関する管理装置であって、
前記実装装置の構成物の項目ごとに作動回数及び/又は作動時間に対応する保守時期が設定された対応情報を記憶する記憶部と、
前記実装装置から前記作動回数及び/又は作動時間を含む使用状況の情報を取得し、該取得した情報と前記対応情報とに基づき、保守時期に至った前記構成物を使用不可状態とする使用不可情報を該構成物に対応付け、前記構成物を有する装置へ該構成物に対応付けられた使用不可情報を出力し、そのあと前記保守装置から保守時期に至った前記構成物を保守した旨の保守済情報を取得すると前記使用不可状態を解除する解除情報を前記構成物を有する装置へ出力する制御部と、
を備えた管理装置。
【請求項5】
前記保守装置は、前記実装システムに含まれる実装装置の前記採取部の構成物の洗浄を行う洗浄部及び/又は前記構成物へ給油を行う給油部を備えている、請求項3又は4に記載の管理装置。
【請求項6】
請求項2~5のいずれか1項に記載の管理装置であって、
作業者からの指令を入力する入力部、を備え、
前記制御部は、前記使用不可情報を出力したのちに、該使用不可情報が対応付けられた構成物を保守した旨の保守済情報が前記入力部から入力されると、前記使用不可状態を解除する解除情報を前記構成物を有する装置へ出力する、管理装置。
【請求項7】
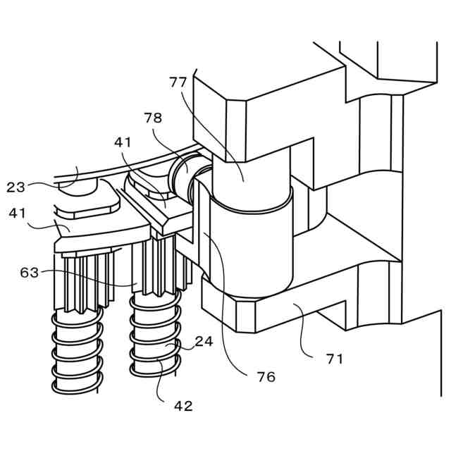
前記採取部は、圧力経路に配設されたフィルタとシリンジとバルブとバルブの密閉部材とのうち1以上、及び/又はメカ機構としてのギヤとガイドシャフトとカムフォロアとのうち1以上、及び/又は光経路に配設されたプリズム、のうち1以上を前記構成物として備えている、請求項1~6のいずれか1項に記載の管理装置。
【請求項8】
部品を採取する採取部と基板を移動固定する基板処理部とを構成物として備え部品を基板に実装する実装装置を含む実装システムの保守に関する管理方法であって、
(a)前記実装装置の構成物の項目ごとに作動回数及び/又は作動時間に対応する保守時期が設定された対応情報を取得するステップと、
(b)前記実装装置から前記作動回数及び/又は作動時間を含む使用状況の情報を取得するステップと、
(c)前記ステップ(b)で取得した情報と前記対応情報とに基づき、いずれの前記項目が保守時期に至っているかを視認可能に一覧形式で表示出力するステップと、
を含む管理方法。
【請求項9】
部品を採取する採取部と基板を移動固定する基板処理部とを構成物として備え部品を基板に実装する実装装置と、前記構成物を保守する保守装置と、を含む実装システムの保守に関する管理方法であって、
(a)前記実装装置の構成物の項目ごとに作動回数及び/又は作動時間に対応する保守時期が設定された対応情報を取得するステップと、
(b)前記実装装置から前記作動回数及び/又は作動時間を含む使用状況の情報を取得するステップと、
(c)前記ステップ(b)で取得した情報と前記対応情報とに基づき、保守時期に至った前記構成物を使用不可状態とする使用不可情報を該構成物に対応付け、前記構成物を有する装置へ該構成物に対応付けられた使用不可情報を出力するステップと、
(d)前記ステップ(c)で前記使用不可情報を出力したのち前記保守装置から保守時期に至った前記構成物を保守した旨の保守済情報を取得すると前記使用不可状態を解除する解除情報を前記構成物を有する装置へ出力するステップと、
を含む管理方法。
発明の詳細な説明
【技術分野】
【0001】
本明細書は、管理装置及び管理方法を開示する。
続きを表示(約 1,700 文字)
【背景技術】
【0002】
従来、実装システムを管理する管理装置としては、構成部品のメンテナンス情報を構成部品のICタグから取得し、メンテナンス時期の判定を行い、メンテナンス時期であるときには警告をして実装装置の運転を停止するものが提案されている(例えば、特許文献1参照)。この管理装置では、構成部品のメンテナンス時期を一括的、且つ定量的に検出できるとしている。また、実装システムに含まれる実装装置としては、実装ヘッドに表示装置を設け、実装ヘッドのショット数を積算して累積使用量を算出し、この累積使用数をインジケータとして表示装置に表示させるものが提案されている(例えば、特許文献2参照)。この装置では、実装装置の構成ユニットの使用状況を適切に把握することができる。
【先行技術文献】
【特許文献】
【0003】
特開2006-108322号公報
特開2015-176892号公報
【発明の概要】
【発明が解決しようとする課題】
【0004】
しかしながら、特許文献1、2に記載された実装システムでは、実装装置の全体における使用状況を把握することはできなかった。装置のメンテナンスは、メンテナンスをする部分によってそのサイクルの尺度が異なることがあり、装置全体におけるメンテナンス状況を把握したいということが望まれていた。
【0005】
本開示は、このような課題に鑑みなされたものであり、実装システムを構成する構成物の使用状況を把握し、より容易に保守計画をたてることができる管理装置及び管理方法を提供することを主目的とする。
【課題を解決するための手段】
【0006】
本明細書で開示する管理装置及び管理方法は、上述の主目的を達成するために以下の手段を採った。
【0007】
本明細書で開示する管理装置は、
部品を採取する採取部と基板を移動固定する基板処理部とを構成物として備え部品を基板に実装する実装装置を含む実装システムの保守に関する管理装置であって、
前記実装装置の構成物の項目ごとに作動回数及び/又は作動時間に対応する保守時期が設定された対応情報を記憶する記憶部と、
前記実装装置から前記作動回数及び/又は作動時間を含む使用状況の情報を取得し、該取得した情報と前記対応情報とに基づき、いずれの前記項目が保守時期に至っているかを視認可能に一覧形式で表示出力する制御部と、
を備えたものである。
【0008】
この管理装置では、実装装置から作動回数及び/又は作動時間を含む使用状況の情報を取得し、この取得した情報と、実装装置の構成物の項目ごとに作動回数及び/又は作動時間に対応する保守時期が設定された対応情報とに基づき、いずれの項目が保守時期に至っているかを視認可能に一覧形式で表示出力する。この管理装置では、項目ごとに保守時期の情報が一覧形式で表示されるため、実装システムを構成する構成物の使用状況を把握し、より容易に保守計画をたてることができる。
【0009】
本開示の管理装置において、前記制御部は、保守時期に至った前記構成物を使用不可状態とする使用不可情報を該構成物に対応付け、前記構成物を有する装置へ該構成物に対応付けられた使用不可情報を出力するものとしてもよい。この管理装置では、保守時期に至った構成物を使用不可状態とすることにより、適切な保守を行うことができる。
【0010】
使用不可情報を出力する態様の管理装置において、前記実装システムは、前記構成物を保守する保守装置を含んでおり、前記制御部は、前記使用不可情報を出力したのち前記保守装置から保守時期に至った前記構成物を保守した旨の保守済情報を取得すると前記使用不可状態を解除する解除情報を前記構成物を有する装置へ出力するものとしてもよい。この管理装置では、保守装置からの情報に基づいて構成物の使用を可能とするため、適切な保守運用を行うことができる。
(【0011】以降は省略されています)
この特許をJ-PlatPat(特許庁公式サイト)で参照する
関連特許
株式会社FUJI
工作機械
1か月前
株式会社FUJI
工作機械
1か月前
株式会社FUJI
部品実装機
1か月前
株式会社FUJI
テープガイド
8日前
株式会社FUJI
生産計画作成装置
17日前
株式会社FUJI
フィーダ制御装置
1か月前
株式会社FUJI
造形装置および造形方法
1か月前
株式会社FUJI
製造方法及び3次元造形システム
1か月前
株式会社FUJI
制御装置、印刷装置及び制御方法
2日前
株式会社FUJI
部品データの生成方法および生成装置
10日前
株式会社FUJI
電子部品装着方法、及び電子部品装着装置
4日前
株式会社FUJI
部品実装機および異物の有無を判定する方法
3日前
株式会社FUJI
印刷品質管理システムおよび印刷品質管理方法
16日前
株式会社FUJI
造形装置およびディスペンサヘッドの制御方法
1か月前
株式会社FUJI
アラーム情報表示装置、及びアラーム情報表示システム
1か月前
株式会社FUJI
作業装置
15日前
株式会社FUJI
サイクルタイム表示装置、及びサイクルタイム表示システム
1か月前
株式会社FUJI
部品実装ライン
17日前
株式会社FUJI
部品供給フィーダ、部品供給フィーダの管理システム及び管理方法
15日前
株式会社FUJI
対基板作業機、および雄型コネクタと雌型コネクタとの接続維持方法
1か月前
株式会社FUJI
印刷装置及び制御方法
25日前
株式会社FUJI
搬送治具及び印刷装置
2日前
株式会社FUJI
実装システム、保守装置及び管理方法
2日前
株式会社FUJI
交換可能部材の交換方法及び印刷システム
1か月前
個人
電子部品の実装方法
1か月前
個人
非衝突型ガウス加速器
3か月前
個人
電気式バーナー
1か月前
愛知電機株式会社
装柱金具
1か月前
日本精機株式会社
回路基板
2か月前
日星電気株式会社
面状ヒータ
8日前
日本放送協会
基板固定装置
2か月前
アイホン株式会社
電気機器
2か月前
個人
節電材料
3か月前
アイホン株式会社
電気機器
3か月前
イビデン株式会社
配線基板
1か月前
キヤノン株式会社
電子機器
2か月前
続きを見る
他の特許を見る