TOP
|
特許
|
意匠
|
商標
特許ウォッチ
Twitter
他の特許を見る
公開番号
2025179883
公報種別
公開特許公報(A)
公開日
2025-12-11
出願番号
2024086791
出願日
2024-05-29
発明の名称
フレキシブルプリント基板
出願人
メクテック株式会社
代理人
個人
主分類
H05K
1/02 20060101AFI20251204BHJP(他に分類されない電気技術)
要約
【課題】より信頼性の高い構造のフレキシブルプリント基板を提供する。
【解決手段】フレキシブルプリント基板は、基材10と、基材10上に印刷形成されている導体層20と、基材10上に形成されていて導体層20の一部分を覆っている絶縁カバー層30と、を備え、導体層20は、配線部50と、配線部50と繋がっている電極部60と、を有し、絶縁カバー層30は、電極部60の一部分を露出させる開口33を有し、電極部60において平面視にて開口33の内周縁33aが重なる部位の膜厚T1が、電極部60の中央部60aの膜厚T2よりも大きい。
【選択図】図2
特許請求の範囲
【請求項1】
基材と、
前記基材上に印刷形成されている導体層と、
前記基材上に形成されていて前記導体層の一部分を覆っている絶縁カバー層と、
を備え、
前記導体層は、配線部と、前記配線部と繋がっている電極部と、を有し、
前記絶縁カバー層は、前記電極部の一部分を露出させる開口を有し、
前記電極部において平面視にて前記開口の内周縁が重なる部位の膜厚が、前記電極部の中央部の膜厚よりも大きいフレキシブルプリント基板。
続きを表示(約 900 文字)
【請求項2】
前記電極部は、前記開口の内側に配置されている露出電極部と、前記開口の内周縁に沿って延在している周縁配置部と、を有し、
前記電極部において平面視にて前記開口の内周縁が重なる部位は、前記周縁配置部において平面視にて前記開口の内周縁が重なる部位であり、
前記電極部の中央部は、前記露出電極部の中央部である請求項1に記載のフレキシブルプリント基板。
【請求項3】
前記周縁配置部として、前記配線部と前記電極部との接続箇所を横切って前記配線部に対して交差する方向に延在している交差方向延在部を含む請求項2に記載のフレキシブルプリント基板。
【請求項4】
前記電極部は、前記周縁配置部と前記露出電極部とを接続している接続部を有する請求項2又は3に記載のフレキシブルプリント基板。
【請求項5】
前記電極部は、複数の前記接続部を有する請求項4に記載のフレキシブルプリント基板。
【請求項6】
前記周縁配置部として、第1方向に延在している第1方向延在部と、第1方向に対して交差する第2方向に延在している第2方向延在部と、を含み、
前記接続部として、前記第1方向延在部と前記露出電極部とを接続している第1接続部と、前記第2方向延在部と前記露出電極部とを接続している第2接続部と、を含む請求項5に記載のフレキシブルプリント基板。
【請求項7】
前記周縁配置部の幅寸法が0.5mm以上1.5mm以下である請求項2又は3に記載のフレキシブルプリント基板。
【請求項8】
一の前記電極部に対して複数本の前記配線部が繋がっている請求項1から3のいずれか一項に記載のフレキシブルプリント基板。
【請求項9】
前記電極部において平面視にて前記開口の内周縁が重なる部位は、上に凸に隆起している請求項1から3のいずれか一項に記載のフレキシブルプリント基板。
【請求項10】
前記導体層は伸縮性である請求項1から3のいずれか一項に記載のフレキシブルプリント基板。
発明の詳細な説明
【技術分野】
【0001】
本発明は、フレキシブルプリント基板に関する。
続きを表示(約 1,700 文字)
【背景技術】
【0002】
基材上に形成されている導体層が、配線部と、配線部と繋がっている電極部と、を有し、基材上に形成されている絶縁カバー層が、電極部の一部分を露出させる開口を有するフレキシブルプリント基板がある(例えば特許文献1)。
【先行技術文献】
【特許文献】
【0003】
特開2013-20667号公報
【発明の概要】
【発明が解決しようとする課題】
【0004】
しかしながら、本願発明者等の検討によれば、絶縁カバー層の開口の内周縁と対応する箇所において、導体層にクラックや断線等の不具合が発生する場合があり、歩留まりに影響する。
【0005】
本発明は、上記の課題に鑑みてなされたものであり、より信頼性の高い構造のフレキシブルプリント基板を提供するものである。
【課題を解決するための手段】
【0006】
本発明によれば、基材と、
前記基材上に印刷形成されている導体層と、
前記基材上に形成されていて前記導体層の一部分を覆っている絶縁カバー層と、
を備え、
前記導体層は、配線部と、前記配線部と繋がっている電極部と、を有し、
前記絶縁カバー層は、前記電極部の一部分を露出させる開口を有し、
前記電極部において平面視にて前記開口の内周縁が重なる部位の膜厚が、前記電極部の中央部の膜厚よりも大きいフレキシブルプリント基板が提供される。
【発明の効果】
【0007】
本発明によれば、フレキシブルプリント基板をより信頼性の高い構造とすることができる。
【図面の簡単な説明】
【0008】
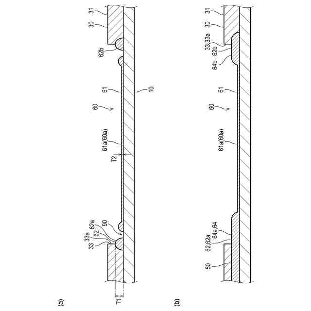
実施形態に係るフレキシブルプリント基板の電極部及びその周辺の構造を示す平面図である。
図2(a)は図1のA-A線に沿った切断端面図であり、図2(b)は図1のB-B線に沿った切断端面図である。
図1のA-A線に沿った切断端面図であり、フレキシブルプリント基板の表裏にそれぞれ剥離フィルムが貼り付いている状態を示す。
実施形態に係るフレキシブルプリント基板の平面図である。
変形例1に係るフレキシブルプリント基板の電極部及びその周辺の構造を示す平面図である。
変形例2に係るフレキシブルプリント基板の電極部及びその周辺の構造を示す平面図である。
変形例3に係るフレキシブルプリント基板の電極部及びその周辺の構造を示す平面図である。
図8(a)は変形例4に係るフレキシブルプリント基板の電極部及びその周辺の構造を示す平面図であり、図8(b)は図8(a)のA-A線に沿った切断端面図である。
【発明を実施するための形態】
【0009】
以下、本発明の実施形態及び変形例について、図面を用いて説明する。なお、すべての図面において、同様の構成要素には同一の符号を付し、適宜に説明を省略する。
【0010】
先ず、図1から図4を用いて実施形態を説明する。
図1、図2(a)及び図2(b)に示すように、本実施形態に係るフレキシブルプリント基板100(図4)は、基材10と、基材10上に印刷形成されている導体層20と、基材10上に形成されていて導体層20の一部分を覆っている絶縁カバー層30と、を備える。
ここで、絶縁カバー層30は、主カバー層31のみにより構成されていてもよいし、主カバー層31と剥離フィルム32とにより構成されていてもよい。
導体層20は、配線部50と、配線部50と繋がっている電極部60と、を有する。よって、電極部60は、配線部50と電気的及び機械的に繋がっている(接続されている)。
絶縁カバー層30は、電極部60の一部分を露出させる開口33を有する。すなわち、開口33を介して、電極部60の一部分が露出している。電極部60において平面視にて開口33の内周縁33aが重なる部位の膜厚T1(図2(a))が、電極部60の中央部60aの膜厚T2(図2(a))よりも大きい。
(【0011】以降は省略されています)
この特許をJ-PlatPat(特許庁公式サイト)で参照する
関連特許
他の特許を見る