TOP
|
特許
|
意匠
|
商標
特許ウォッチ
Twitter
他の特許を見る
公開番号
2025158570
公報種別
公開特許公報(A)
公開日
2025-10-17
出願番号
2024061248
出願日
2024-04-05
発明の名称
製造方法及び3次元造形システム
出願人
株式会社FUJI
代理人
弁理士法人アイテック国際特許事務所
主分類
B29C
64/379 20170101AFI20251009BHJP(プラスチックの加工;可塑状態の物質の加工一般)
要約
【課題】より適正な造形物を作製する。
【解決手段】造形物の製造方法は、部品を配置した基材に対して液状物を塗布する塗布部と、液状物を塗布された基材を載置部材に載置して加熱押圧処理する押圧部とを備えた3次元造形システムに用いられる造形物の製造方法であって、部品が配置され液状物が塗布され載置部材に載置された基材を加熱押圧処理し部品の固定を実行する押圧工程と、載置部材から剥離したあとの加熱押圧処理済みの基材を更に加熱押圧する再処理工程と、を含む。
【選択図】図1
特許請求の範囲
【請求項1】
部品を配置した基材に対して液状物を塗布する塗布部と、前記液状物を塗布された前記基材を載置部材に載置して加熱押圧処理する押圧部とを備えた3次元造形システムに用いられる造形物の製造方法であって、
前記部品が配置され前記液状物が塗布され前記載置部材に載置された前記基材を加熱押圧処理し前記部品の固定を実行する押圧工程と、
前記載置部材から剥離したあとの前記加熱押圧処理済みの前記基材を更に加熱押圧する再処理工程と、
を含む製造方法。
続きを表示(約 1,100 文字)
【請求項2】
前記再処理工程では、前記押圧工程の加熱温度より高く、且つ前記基材のガラス転移点以下の温度で加熱押圧する、請求項1に記載の製造方法。
【請求項3】
前記再処理工程では、前記押圧工程よりも高い押圧力で加熱押圧する、請求項1又は2に記載の製造方法。
【請求項4】
前記再処理工程では、剛体の載置部側に前記基材を接触させ、柔軟性を有する押圧部材で前記部品側を加熱押圧する、請求項1又は2に記載の製造方法。
【請求項5】
前記再処理工程では、前記基材に対して所定処理を行い該基材を前記載置部材から剥離させたのち、該剥離した前記基材に対して加熱押圧する、請求項1又は2に記載の製造方法。
【請求項6】
前記押圧工程と前記再処理工程とを前記押圧部が実行する、請求項1又は2に記載の製造方法。
【請求項7】
前記3次元造形システムは、前記塗布部と前記押圧部とを備えた印刷装置と、前記基材を加熱押圧する加熱押圧装置と、を備え、
前記押圧工程を前記印刷装置の前記押圧部が実行し、
前記再処理工程を前記加熱押圧装置が実行する、請求項1又は2に記載の製造方法。
【請求項8】
造形物を製造する3次元造形システムであって、
部品を配置した基材に対して液状物を塗布する塗布部と、
前記液状物を塗布された前記基材を載置部材に載置して加熱押圧する押圧部と、
前記部品が配置され前記液状物が塗布され前記載置部材に載置された前記基材を加熱押圧処理し前記部品の固定を実行する加熱押圧処理を前記押圧部に実行させ、前記載置部材から剥離したあとの前記加熱押圧処理済みの前記基材を更に加熱押圧する再処理を実行させる制御部と、
を備えた3次元造形システム。
【請求項9】
流体を対象物に対して吐出する吐出ヘッドと、
前記対象物に対して吐出された前記流体を硬化し前記基材を作製する硬化ユニットと、
前記基材上に前記部品を配置する実装装置と、を備え、
前記塗布部は、作製された前記基材に前記液状物を塗布し、
前記押圧部は、前記加熱押圧処理を実行する、請求項8に記載の3次元造形システム。
【請求項10】
前記基材上に前記部品を配置する実装装置と、
前記塗布部と前記押圧部と前記制御部とを備え前記加熱押圧処理を実行する印刷装置と、
前記基材に対して前記再処理を実行する加熱押圧装置と、を備える請求項8又は9に記載の3次元造形システム。
発明の詳細な説明
【技術分野】
【0001】
本明細書は、製造方法及び3次元造形システムを開示する。
続きを表示(約 1,600 文字)
【背景技術】
【0002】
従来、3次元造形物を製造する装置としては、ベース部材のうえに樹脂材料を塗布硬化したのち、得られた樹脂層のうえに金属粒子を含む流体を塗布し、ベース部材を冷却しつつ樹脂層の上に塗布した金属粒子を含む流体を加熱して硬化させ、金属配線を形成するものが提案されている(例えば、特許文献1参照)。この3次元造形物の製造装置では、金属配線の膨れや割れを抑制することができる。
【先行技術文献】
【特許文献】
【0003】
国際公開第2021/106179号
【発明の概要】
【発明が解決しようとする課題】
【0004】
ところで、3次元造形物の製造工程では、加熱冷却があり、その膨張収縮の影響によって部品及び配線などの電気的接続が不十分になるなどの不具合が生じることがあった。このように、より適切な造形物を作製することができる3次元造形物の製造方法が求められていた。
【0005】
本開示は、このような課題を解決するためになされたものであり、より適切な造形物を作製することができる造形物の製造方法及び3次元造形システムを提供することを主目的とする。
【課題を解決するための手段】
【0006】
本開示は、上述の主目的を達成するために以下の手段を採った。
【0007】
本開示の製造方法は、
部品を配置した基材に対して液状物を塗布する塗布部と、前記液状物を塗布された前記基材を載置部材に載置して加熱押圧処理する押圧部とを備えた3次元造形システムに用いられる造形物の製造方法であって、
前記部品が配置され前記液状物が塗布され前記載置部材に載置された前記基材を加熱押圧処理し前記部品の固定を実行する押圧工程と、
前記載置部材から剥離したあとの前記加熱押圧処理済みの前記基材を更に加熱押圧する再処理工程と、
前記加熱押圧処理済みの前記基材を更に加熱押圧する再処理工程と、
を含むものである。
【0008】
この製造方法では、加熱押圧処理を実行して部品の固定を実行したのち、載置部材から剥離したあとの加熱押圧処理済みの基材を更に加熱押圧するため、例えば、膨張収縮の影響によって生じうる電気的接続の不具合や、部品の位置ずれにより生じうる不具合などを解消することができる。このように、この製造方法では、不具合の発生をより抑制し、より適切な造形物を作製することができる。
【図面の簡単な説明】
【0009】
3次元造形システム10の一例を示す概略説明図。
前方から見た印刷装置11の構造の一例を示す概略説明図。
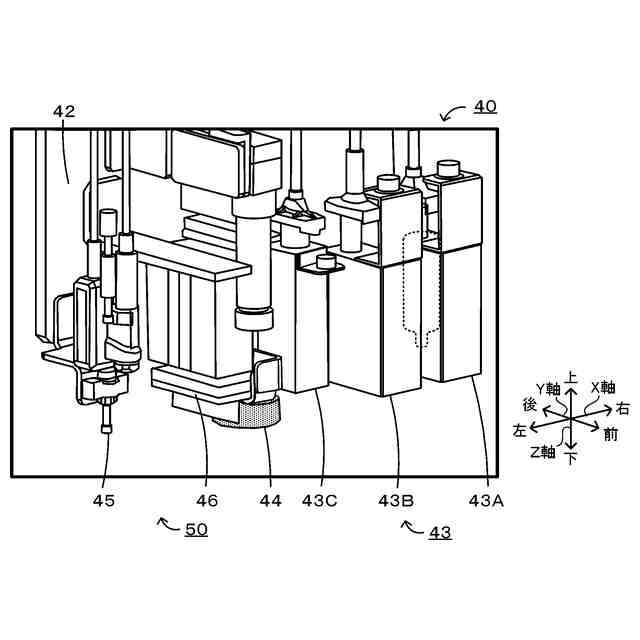
ディスペンサユニット40の概略の一例を示す説明図。
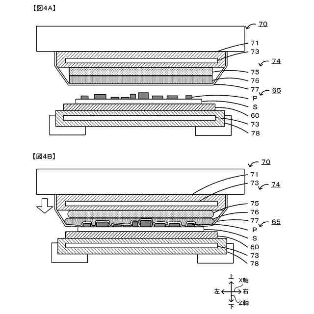
押圧ユニット70の概略の一例を示す説明図。
造形物生産処理ルーチンの一例を示すフローチャート。
造形処理の概要の一例を示す説明図。
再処理前の対象物65の一例を示す説明図。
3次元造形システム10Bの加熱押圧装置80の一例を示す説明図。
【発明を実施するための形態】
【0010】
本実施形態を、図面を参照しながら以下に説明する。図1は、本開示の一例である3次元造形システム10の一例を示す概略説明図である。図2は、前方から見た印刷装置11の構造の一例を示す概略説明図である。図3は、ディスペンサユニット40の概略の一例を示す説明図である。図4は、押圧ユニット70の概略の一例を示す説明図であり、図4Aが押圧前、図4Bが押圧時の説明図である。なお、本実施形態において、左右方向(X軸)、前後方向(Y軸)及び上下方向(Z軸)は、図1~4に示した通りとする。
(【0011】以降は省略されています)
この特許をJ-PlatPat(特許庁公式サイト)で参照する
関連特許
株式会社FUJI
制御盤
1か月前
株式会社FUJI
工作機械
1か月前
株式会社FUJI
工作機械
1か月前
株式会社FUJI
部品実装機
1か月前
株式会社FUJI
テープガイド
5日前
株式会社FUJI
測定値処理装置
1か月前
株式会社FUJI
フィーダ制御装置
1か月前
株式会社FUJI
生産計画作成装置
14日前
株式会社FUJI
造形装置および造形方法
28日前
株式会社FUJI
印刷装置及び印刷装置の制御方法
1か月前
株式会社FUJI
製造方法及び3次元造形システム
1か月前
株式会社FUJI
部品データの生成方法および生成装置
7日前
株式会社FUJI
テープ剥離装置およびテープフィーダ
1か月前
株式会社FUJI
電子部品装着方法、及び電子部品装着装置
1日前
株式会社FUJI
部品実装機および異物の有無を判定する方法
今日
株式会社FUJI
造形装置およびディスペンサヘッドの制御方法
1か月前
株式会社FUJI
印刷品質管理システムおよび印刷品質管理方法
13日前
株式会社FUJI
アラーム情報表示装置、及びアラーム情報表示システム
1か月前
株式会社FUJI
作業装置
12日前
株式会社FUJI
サイクルタイム表示装置、及びサイクルタイム表示システム
1か月前
株式会社FUJI
部品実装ライン
14日前
株式会社FUJI
部品供給フィーダ、部品供給フィーダの管理システム及び管理方法
12日前
株式会社FUJI
対基板作業機、および雄型コネクタと雌型コネクタとの接続維持方法
1か月前
株式会社FUJI
印刷装置及び制御方法
22日前
株式会社FUJI
交換可能部材の交換方法及び印刷システム
1か月前
個人
気泡緩衝材減容装置
1か月前
東レ株式会社
吹出しノズル
11か月前
豊田鉄工株式会社
金型
3か月前
CKD株式会社
型用台車
11か月前
シーメット株式会社
光造形装置
10か月前
東レ株式会社
フィルムの製造方法
4か月前
株式会社 型善
射出成形型
今日
東レ株式会社
フィルムの製造方法
4か月前
東レ株式会社
フィルムの製造方法
8か月前
グンゼ株式会社
ピン
11か月前
株式会社エフピコ
賦形シート
14日前
続きを見る
他の特許を見る