TOP
|
特許
|
意匠
|
商標
特許ウォッチ
Twitter
他の特許を見る
公開番号
2025159123
公報種別
公開特許公報(A)
公開日
2025-10-17
出願番号
2025134599,2023521991
出願日
2025-08-13,2021-05-17
発明の名称
交換可能部材の交換方法及び印刷システム
出願人
株式会社FUJI
代理人
弁理士法人アイテック国際特許事務所
主分類
B41F
15/12 20060101AFI20251009BHJP(印刷;線画機;タイプライター;スタンプ)
要約
【課題】印刷装置に用いられる交換可能部材を自動交換する際に、収容ラックのコンパクト化を図る。
【解決手段】本開示の交換ユニットは、処理対象物に対してスクリーンマスクを用いて粘性流体の印刷処理を行う印刷部を備えた印刷装置に設けられる交換ユニットであって、スクリーンマスクを含む交換可能部材を支持する枠を収容する複数の棚部を有する収容ラックを受け入れる受入部と、受入部に配置された収容ラックの所定高さの棚部と印刷装置との間で枠に当接して駆動することにより交換可能部材を交換する交換部と、収容ラックを上下動させる昇降部と、を備えたものである。
【選択図】図1
特許請求の範囲
【請求項1】
処理対象物に対してスクリーンマスクを用いて粘性流体の印刷処理を行う印刷部を備えた印刷装置に設けられる交換ユニットであって、
前記スクリーンマスクを含む交換可能部材を支持する枠を収容する複数の棚部を有する収容ラックを受け入れる受入部と、
前記受入部に配置された前記収容ラックの所定高さの前記棚部と前記印刷装置との間で前記枠に当接して駆動することにより前記交換可能部材を交換する交換部と、
前記収容ラックを上下動させる昇降部と、
を備えた、交換ユニット。
続きを表示(約 1,500 文字)
【請求項2】
前記交換ユニットは、一対のユニット構成部を有し、
前記交換部は、一対の前記ユニット構成部のいずれか一方に設けられており、表面の摩擦力により前記枠を前記印刷装置側又は前記収容ラック側に移動させるベルト及び前記ベルトを回転させる駆動部を有する送出部と、前記送出部の前記ベルトの表面が前記枠に対して接近又は離間するように前記送出部を移動させる移動部と、を備えている、
請求項1に記載の交換ユニット。
【請求項3】
前記収容ラックの側面には、前記交換部の前記送出部が挿入される挿入空間が設けられており、
前記交換部は、前記送出部が前記挿入空間に挿入されて前記交換可能部材を交換する、 請求項2に記載の交換ユニット。
【請求項4】
請求項1~3のいずれか1項に記載の交換ユニットであって、
前記印刷装置から送られた前記枠が前記棚部に入り込んだあと前記印刷装置から引入れ指令を受けると前記枠を前記棚部へ引き入れるよう前記交換部を制御する交換制御部、を備えた交換ユニット。
【請求項5】
請求項1~4のいずれか1項に記載の交換ユニットであって、
前記印刷装置へ枠を送り出すよう前記交換部を制御したのち前記印刷装置へ送出指令を出力する交換制御部、を備えた交換ユニット。
【請求項6】
請求項1~5のいずれか1項に記載の交換ユニットであって、
前記収容ラックから前記枠を送り出す際には、前記印刷装置の通過面よりも高い位置に前記棚部を移動させ、前記印刷装置から枠を引き入れる際には前記通過面よりも低い位置に前記棚部を移動するよう前記昇降部を制御する交換制御部、を備えた交換ユニット。
【請求項7】
請求項1~6のいずれか1項に記載の交換ユニットが配設される印刷装置であって、
前記交換ユニットとの間で前記枠を移動させる際に該枠が通過する通過口に設けられ、前記枠を前記印刷部で印刷処理する際に該枠が固定される固定位置へ導くテーパ部、を備えた印刷装置。
【請求項8】
処理対象物に対してスクリーンマスクを用いて粘性流体の印刷処理を行う印刷部を備えた印刷装置に配設される交換ユニットに受け入れられる収容ラックであって、
前記スクリーンマスクを含む交換可能部材を支持する枠を前記印刷装置との間で交換する際に該枠が通過する開口部が形成された本体部と、
前記本体部の内部に配設され、前記枠を収容する複数の棚部と、
前記開口部に形成され、前記棚部の収容位置へ前記枠を導くよう通路が狭くなるよう形成されたテーパ部と、
を備えた収容ラック。
【請求項9】
前記テーパ部は、前記棚部の側面側、前記棚部の先端のうち1以上に形成されている、請求項8に記載の収容ラック。
【請求項10】
前記交換ユニットは、一対のユニット構成部により構成され、前記ユニット構成部のいずれか一方に設けられ表面の摩擦力により前記枠を前記印刷装置側又は前記収容ラック側に移動させるベルト及び前記ベルトを駆動させる駆動部を有する送出部と、前記送出部の前記ベルトの表面が前記枠に対して接近又は離間するように前記送出部を移動させる移動部と、を有する交換部、を備えており、
前記本体部には、前記交換部の前記送出部が挿入される挿入空間が形成され、
前記棚部には、前記送出部が前記枠に当接した際に該枠の移動に従動する従動部、を備えている、請求項8又は9に記載の収容ラック。
(【請求項11】以降は省略されています)
発明の詳細な説明
【技術分野】
【0001】
本開示は、交換ユニット、印刷装置、収容ラック及び印刷システムを開示する。
続きを表示(約 2,700 文字)
【背景技術】
【0002】
従来、例えば、基板などの印刷対象に対してスクリーンマスクを用いて粘性流体の印刷処理を行う印刷装置において、印刷装置に用いられるスクリーンマスクなどを含む交換可能部材の自動交換を行うものが知られている。例えば、特許文献1には、印刷装置の前方に収納装置を配置し、収納装置と印刷装置との間で交換可能部材を自動交換する印刷システムが記載されている。
【先行技術文献】
【特許文献】
【0003】
国際公開2019/225002号
【発明の概要】
【発明が解決しようとする課題】
【0004】
しかしながら、上述した印刷システムにおける収納装置は、交換可能部材が載置される載置部を上下方向に複数段有し、載置部を上下方向の交換位置へ移動させるための昇降部及び交換位置で交換可能部材を把持して、印刷装置と自動交換する対象物移動部を備えている。そのため、収納装置自体が大型化する。このような、収納装置が印刷装置の前面に配置されると、作業者は印刷装置の前面にて作業することが困難であった。
【0005】
本開示は、このような課題に鑑みなされたものであり、印刷装置に用いられる交換可能部材を自動交換する際に、収容ラックのコンパクト化を図ることができる交換ユニット、印刷装置、収容ラック及び印刷システムを提供することを主目的とする。
【課題を解決するための手段】
【0006】
本開示の交換ユニットは、
処理対象物に対してスクリーンマスクを用いて粘性流体の印刷処理を行う印刷部を備えた印刷装置に設けられる交換ユニットであって、
前記スクリーンマスクを含む交換可能部材を支持する枠を収容する複数の棚部を有する収容ラックを受け入れる受入部と、
前記受入部に配置された前記収容ラックの所定高さの前記棚部と前記印刷装置との間で前記枠に当接して駆動することにより前記交換可能部材を交換する交換部と、
前記収容ラックを上下動させる昇降部と、
を備えたものである。
【0007】
この交換ユニットは、受入部に配置された収容ラックの所定高さの棚部と印刷装置との間で枠に当接して駆動することにより交換可能部材を交換する交換部と、収容ラックを上下動させる昇降部とを備える。そのため、交換部や昇降部を収容ラックに設ける必要がない。したがって、印刷装置に用いられる交換可能部材を自動交換する際に、収容ラックをコンパクト化することができる。
【図面の簡単な説明】
【0008】
実装システム10及び印刷システム12の一例を示す概略説明図。
印刷装置11、交換ユニット40及び収容ラック90の概略説明図。
図2のA部分の拡大図。
交換部44の概略説明図。
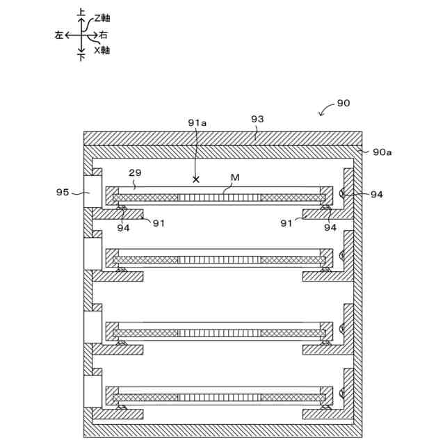
収容ラック90の概略説明図。
収容ラック90の概略説明図。
交換ユニット40と収容ラック90との概略説明図。
収容ラック90の概略説明図。
収容ラック90の概略説明図。
印刷システム12の電気的な接続関係を示すブロック図。
部材交換処理ルーチンの一例を示すフローチャート。
収容ラック90が枠29を引き入れる様子を示した説明図。
交換位置における枠29と棚部91との高さの関係を示す説明図。
収容ラック90が枠29を引き入れる様子を示した説明図。
収容ラック90が枠29を送り出す様子を示した説明図。
交換位置における枠29と棚部91との高さの関係を示す説明図。
収容ラック90が枠29を送り出す様子を示した説明図。
【発明を実施するための形態】
【0009】
本実施形態を図面を参照しながら以下に説明する。図1は、本開示の一例である印刷装置11を含む実装システム10及び印刷システム12の一例を示す概略説明図である。図2は、印刷装置11、交換ユニット40及び収容ラック90の概略説明図である。図3は、図2のA部分の拡大図である。図4は、交換部44の概略説明図である。図5は、収容ラック90の概略説明図である。図6は、収容ラック90の概略説明図である。図7は、交換部44と収容ラック90との概略説明図である。図8は、収容ラック90の概略説明図である。図9は、収容ラック90の概略説明図である。図10は、印刷システム12の電気的な接続関係を示すブロック図である。実装システム10は、例えば部品を処理対象としての基板Sに実装するシステムである。この実装システム10は、印刷装置11と、実装装置13と、自動搬送車18と、管理コンピュータ(PC)60とを備えている。実装システム10は、印刷装置11の下流側に部品を基板Sに実装する複数の実装装置13が配置された実装ラインとして構成されている。印刷システム12は、印刷装置11と、交換ユニット40と、収容ラック90と、印刷装置11を管理する機能を主とする管理PC80とにより構成されている。なお、本実施形態において、左右方向(X軸)、前後方向(Y軸)及び上下方向(Z軸)は、図1~9に示した通りとする。
【0010】
倉庫エリア15は、実装システム10で使用する交換可能部材(以下単に部材とも称する)などを準備するエリアである。実装システム10で使用する部材としては、例えば、印刷装置11では、スクリーンマスクMや、処理対象を固定する支持部材32、印刷処理で粘性流体としてのはんだペーストを塗布するスキージ25、粘性流体を収容するカートリッジ36、スクリーンマスクMを清掃する清掃部材34などが挙げられる。この倉庫エリア15には、アームロボット16と、準備台17とが配設されている。アームロボット16は、次に使用されるよう準備された収容ラック90を準備台17から自動搬送車18へ載置する作業や、自動搬送車18によって回収された使用済みの収容ラック90を準備台17へ移動する作業を行う。準備台17は、新たな収容ラック90や、使用済みの収容ラック90を載置する作業台である。アームロボット16は、図示しない制御PCによって制御される。この制御PCは、管理PC80からの交換指令をネットワーク回線を介して受信し、アームロボット16の作業状況などの情報を管理PC80へ出力する。なお、倉庫エリア15では、収容ラック90の移動や準備を作業者が行うものとしてもよい。
(【0011】以降は省略されています)
この特許をJ-PlatPat(特許庁公式サイト)で参照する
関連特許
株式会社FUJI
テープガイド
13日前
株式会社FUJI
生産計画作成装置
22日前
株式会社FUJI
造形装置および造形方法
1か月前
株式会社FUJI
制御装置、印刷装置及び制御方法
7日前
株式会社FUJI
製造方法及び3次元造形システム
1か月前
株式会社FUJI
部品データの生成方法および生成装置
15日前
株式会社FUJI
電子部品装着方法、及び電子部品装着装置
9日前
株式会社FUJI
部品実装機および異物の有無を判定する方法
8日前
株式会社FUJI
印刷品質管理システムおよび印刷品質管理方法
21日前
株式会社FUJI
作業装置
20日前
株式会社FUJI
部品実装ライン
22日前
株式会社FUJI
部品供給フィーダ、部品供給フィーダの管理システム及び管理方法
20日前
株式会社FUJI
対基板作業機、および雄型コネクタと雌型コネクタとの接続維持方法
1か月前
株式会社FUJI
印刷装置及び制御方法
1か月前
株式会社FUJI
搬送治具及び印刷装置
7日前
株式会社FUJI
実装システム、保守装置及び管理方法
7日前
株式会社FUJI
交換可能部材の交換方法及び印刷システム
1か月前
個人
箔熱転写装置
2か月前
シヤチハタ株式会社
印判
6か月前
キヤノン株式会社
電子機器
20日前
三光株式会社
感熱記録材料
7か月前
キヤノン株式会社
記録装置
2か月前
独立行政法人 国立印刷局
貼付装置
3か月前
株式会社リコー
液体吐出装置
6か月前
株式会社リコー
液体吐出装置
5か月前
株式会社リコー
液体吐出装置
3か月前
独立行政法人 国立印刷局
貼付機構
3か月前
株式会社リコー
液体吐出装置
7か月前
株式会社リコー
印刷システム
1か月前
株式会社リコー
画像形成装置
1か月前
株式会社リコー
画像形成装置
2か月前
株式会社リコー
画像形成装置
1か月前
株式会社リコー
液体吐出装置
6か月前
ブラザー工業株式会社
液体吐出ヘッド
2か月前
キヤノン株式会社
画像処理装置
5か月前
キヤノン株式会社
画像形成装置
1か月前
続きを見る
他の特許を見る