TOP
|
特許
|
意匠
|
商標
特許ウォッチ
Twitter
他の特許を見る
10個以上の画像は省略されています。
公開番号
2025175111
公報種別
公開特許公報(A)
公開日
2025-11-28
出願番号
2025153076,2023518582
出願日
2025-09-16,2021-05-07
発明の名称
搬送治具および支持部材の搬入方法
出願人
株式会社FUJI
代理人
弁理士法人アイテック国際特許事務所
主分類
B41F
15/12 20060101AFI20251120BHJP(印刷;線画機;タイプライター;スタンプ)
要約
【課題】支持部材を容易に交換することができる搬送治具または作業装置を提供する。
【解決手段】搬送治具は、テーブルに設置される支持部材上の基板に対して作業を行なう作業装置に支持部材を搬入出するのに用いられるものである。搬送治具は、一対のアーム部材を備える。一対のアーム部材は、互いに平行に延在する回動軸を中心に回動可能に構成される。そして、一対のアーム部材は、互いの先端部が向かい合う所定の回動位置において支持部材を両側から保持し、互いに押下されることで支持部材の保持を解除する。
【選択図】図6
特許請求の範囲
【請求項1】
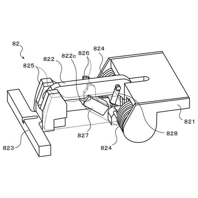
テーブルに設置される支持部材上の基板に対して作業を行なう作業装置に前記支持部材を搬入出するための搬送治具であって、
互いに平行に延在する回動軸を中心に回動可能に構成され、互いの先端部が向かい合う所定の回動位置において前記支持部材を両側から保持し、互いに押下されることで前記支持部材の保持を解除する一対のアーム部材を備える、
搬送治具。
続きを表示(約 1,500 文字)
【請求項2】
請求項1に記載の搬送治具であって、
前記一対のアーム部材は、それぞれ、前記回動軸を中心に回動可能であると共に前記所定の回動位置で前記支持部材を保持するアーム部材本体と、前記所定の回動位置で前記アーム部材本体をロックするロック機構と、を有する、
搬送治具。
【請求項3】
請求項1または2に記載の搬送治具であって、
前記ロック機構は、前記アーム部材本体に対して独立して回動可能なロック片と、前記ロック片を回動方向における一方に付勢する付勢部材と、を有し、前記付勢部材の付勢力により前記ロック片が前記アーム部材本体に形成された被係合部に係合することで該アーム部材本体をロックし、前記ロック片の係合が解除されるように前記ロック片が前記付勢部材の付勢力に抗して前記回動方向における他方に押下されることで前記アーム部材本体のロックを解除する、
搬送治具。
【請求項4】
テーブルに設置される支持部材上の基板に対して作業を行なうと共に搬送治具を用いた前記支持部材の交換が可能な作業装置であって、
押下部材と、
前記押下部材を昇降させる昇降装置と、
前記搬送治具として、互いに平行に延在する回動軸を中心に回動可能に構成され、互いの先端部が向かい合う所定の回動位置において前記支持部材を両側から保持し、互いに押下されることで前記支持部材の保持を解除する一対のアーム部材を含む搬送治具が前記支持部材を保持した状態で前記テーブルの上方に搬入されたとき、前記昇降装置を制御して前記押下部材を下降させることで、前記押下部材により前記一対のアーム部材を押下して前記支持部材を前記テーブル上に載置する制御装置と、
を備える作業装置。
【請求項5】
請求項4に記載の作業装置であって、
前記一対のアーム部材は、それぞれ、前記回動軸を中心に回動可能であると共に前記所定の回動位置で前記支持部材を保持するアーム部材本体と、前記所定の回動位置で前記アーム部材本体をロックするロック機構と、を有し、
前記ロック機構は、前記アーム部材本体に対して独立して回動可能なロック片と、前記ロック片を回動方向における一方に付勢する付勢部材と、を有し、前記付勢部材の付勢力により前記ロック片が前記アーム部材本体に形成された被係合部に係合することで該アーム部材本体をロックし、前記ロック片の係合が解除されるように前記ロック片が前記付勢部材の付勢力に抗して前記回動方向における他方に押下されることで前記アーム部材本体のロックを解除し、
前記押下部材は、前記ロック片を押下する第1押下部と、前記アーム部材本体を押下する第2押下部と、を有し、前記昇降装置により下降することで、前記第1押下部により前記ロック片を押下し、前記昇降装置により更に下降することで、前記第2押下部により前記アーム部材本体を押下する、
作業装置。
【請求項6】
請求項4または5に記載の作業装置であって、
前記テーブルと前記搬送治具とを相対的に移動させる移動装置と、
前記支持部材の位置を検出する位置検出装置と、
を備え、
前記制御装置は、前記支持部材を保持した前記搬送治具が搬入されたときに前記位置検出装置により検出された前記支持部材の位置に基づいて前記移動装置を制御して前記支持部材と前記テーブルとを位置合わせした後、前記支持部材が前記テーブルに載置されるよう前記昇降装置を制御して前記押下部材を下降させる、
作業装置。
発明の詳細な説明
【技術分野】
【0001】
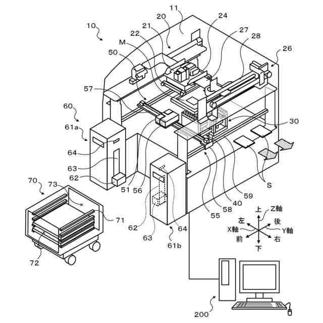
本明細書は、搬送治具および作業装置について開示する。
続きを表示(約 1,800 文字)
【背景技術】
【0002】
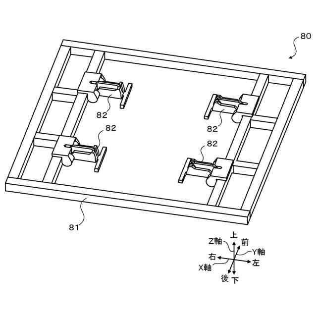
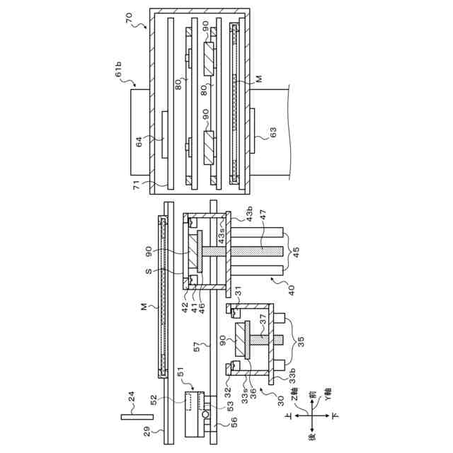
従来、基板を支持する基板支持部材を自動交換可能な作業装置が知られている。例えば、特許文献1には、基板支持部材が予め取り付けられた搬送治具を内部に搬入し、搬入した搬送治具から基板支持部材を取り出して支持台(テーブル)上に配置し、基板支持部材を取り出した後の搬送治具を搬出する印刷装置が開示されている。搬送治具は、枠体と、枠体から内側に延びる複数の腕部と、各腕部の先端上面部に配設された突起保持部(凹部)と、を有する。基板支持部材には、搬送治具の対応する突起保持部にそれぞれ保持される複数の突起部が設けられている。印刷装置は、基板支持部材が支持台の上方に位置するように当該基板支持部材が取り付けられた搬送治具を前方に搬送(搬入)する。続いて、印刷装置は、支持台を上昇させて基板支持部材の複数の突起部を搬送治具の各突起保持部から浮かせる。そして、印刷装置は、搬送治具を後方に移動させてから支持台を下降させ、搬送治具を後方に搬送(搬出)すると共に、支持台上に基板支持部材を固定する。
【先行技術文献】
【特許文献】
【0003】
国際公開第2016/199207号
【発明の概要】
【発明が解決しようとする課題】
【0004】
上述した作業装置では、搬送治具を用いて支持部材を自動交換することができるものの、支持部材を搬送治具から取り外すために支持台(テーブル)の昇降制御と搬送治具の搬送制御とを協調する必要があり、制御が複雑化するという問題があった。
【0005】
本開示は、支持部材を容易に交換することができる搬送治具または作業装置を提供することを主目的とする。
【課題を解決するための手段】
【0006】
本開示は、上述の主目的を達成するために以下の手段を採った。
【0007】
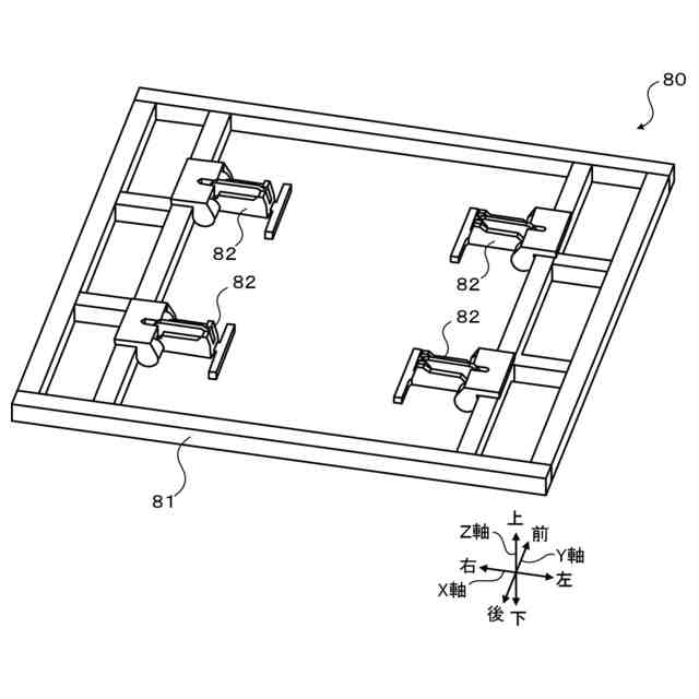
本開示の搬送治具は、テーブルに設置される支持部材上の基板に対して作業を行なう作業装置に前記支持部材を搬入出するための搬送治具であって、互いに平行に延在する回動軸を中心に回動可能に構成され、互いの先端部が向かい合う所定の回動位置において前記支持部材を両側から保持し、互いに押下されることで前記支持部材の保持を解除する一対のアーム部材を備えることを要旨とする。
【0008】
この本開示の搬送治具は、一対のアーム部材を備える。一対のアーム部材は、互いに平行に延在する回動軸を中心に回動可能に構成される。そして、一対のアーム部材は、互いの先端部が向かい合う所定の回動位置において支持部材を両側から保持し、互いに押下されることで支持部材の保持を解除する。これにより、一対のアーム部材に支持部材を保持した搬送治具をテーブルの上方に搬入し、一対のアーム部材を押下することで、支持部材を搬送治具から脱離させてテーブル上に載置することが可能となる。この結果、支持部材の交換が容易になる。
【0009】
本開示の作業装置は、テーブルに設置される支持部材上の基板に対して作業を行なうと共に搬送治具を用いた前記支持部材の交換が可能な作業装置であって、押下部材と、前記押下部材を昇降させる昇降装置と、前記搬送治具として、互いに平行に延在する回動軸を中心に回動可能に構成され、互いの先端部が向かい合う所定の回動位置において前記支持部材を両側から保持し、互いに押下されることで前記支持部材の保持を解除する一対のアーム部材を含む搬送治具が前記支持部材を保持した状態で前記テーブルの上方に搬入されたとき、前記昇降装置を制御して前記押下部材を下降させることで、前記押下部材により前記一対のアーム部材を押下して前記支持部材を前記テーブル上に載置する制御装置と、を備えることを要旨とする。
【0010】
この本開示の作業装置は、搬送治具を用いた支持部材の交換が可能なものであり、押下部材と昇降部材と制御装置とを備える。制御装置は、搬送治具がテーブルの上方に搬入された状態において、昇降装置を制御して押下部材を下降させることで、押下部材により一対のアーム部材を押下して支持部材をテーブル上に載置する。これにより、簡易な制御により支持部材を自動交換することができる。
【図面の簡単な説明】
(【0011】以降は省略されています)
この特許をJ-PlatPat(特許庁公式サイト)で参照する
関連特許
個人
箔熱転写装置
2か月前
シヤチハタ株式会社
印判
6か月前
東レ株式会社
凸版印刷版原版
11か月前
シヤチハタ株式会社
反転式印判
10か月前
キヤノン株式会社
記録装置
2か月前
独立行政法人 国立印刷局
印刷物
8か月前
キヤノン株式会社
電子機器
22日前
三光株式会社
感熱記録材料
7か月前
株式会社リコー
画像形成装置
1か月前
株式会社リコー
液体吐出装置
7か月前
株式会社リコー
液体吐出装置
5か月前
株式会社リコー
液体吐出装置
10か月前
株式会社リコー
液体吐出装置
6か月前
独立行政法人 国立印刷局
貼付機構
3か月前
株式会社リコー
印刷システム
2か月前
株式会社リコー
画像形成装置
2か月前
株式会社リコー
液体吐出装置
3か月前
独立行政法人 国立印刷局
貼付装置
3か月前
株式会社リコー
液体吐出装置
9か月前
株式会社リコー
画像形成装置
2か月前
株式会社リコー
液体吐出装置
9か月前
株式会社リコー
液体吐出装置
6か月前
独立行政法人 国立印刷局
記録媒体
10か月前
日本製紙株式会社
感熱記録体
9か月前
キヤノン株式会社
画像処理装置
6か月前
カシオ計算機株式会社
印刷装置
1か月前
キヤノン株式会社
画像形成装置
10か月前
理想科学工業株式会社
印刷装置
2か月前
キヤノン株式会社
画像形成装置
11か月前
キヤノン株式会社
画像記録装置
2か月前
ブラザー工業株式会社
プリンタ
7か月前
キヤノン株式会社
印刷制御装置
11か月前
キヤノン株式会社
画像形成装置
10か月前
ブラザー工業株式会社
プリンタ
7か月前
キヤノン株式会社
印刷システム
9日前
キヤノン株式会社
画像形成装置
3か月前
続きを見る
他の特許を見る