TOP
|
特許
|
意匠
|
商標
特許ウォッチ
Twitter
他の特許を見る
公開番号
2025180433
公報種別
公開特許公報(A)
公開日
2025-12-11
出願番号
2024087768
出願日
2024-05-30
発明の名称
作業装置および支持部材採取装置
出願人
株式会社FUJI
代理人
弁理士法人アイテック国際特許事務所
主分類
B41F
15/08 20060101AFI20251204BHJP(印刷;線画機;タイプライター;スタンプ)
要約
【課題】シリンダを用いて配置する支持部材の位置精度を向上させる。
【解決手段】棒状の支持部材に裏面を支持された基板に所定作業を行う作業装置は、支持部材の上部を採取して保持可能な採取部と、進出位置と引込位置との間で進退移動するピストンロッドが上方に向けて進出するシリンダと、採取部とピストンロッドとを連結する連結部材と、を備える支持部材採取装置と、支持部材を所定位置に配置する際、ピストンロッドを引込位置に引き込んだ状態で採取部による支持部材の保持を解除するように、支持部材採取装置を制御する制御装置と、を備える。
【選択図】図5
特許請求の範囲
【請求項1】
棒状の支持部材に裏面を支持された基板に所定作業を行う作業装置であって、
前記支持部材の上部を採取して保持可能な採取部と、進出位置と引込位置との間で進退移動するピストンロッドが上方に向けて進出するシリンダと、前記採取部と前記ピストンロッドとを連結する連結部材と、を備える支持部材採取装置と、
前記支持部材を所定位置に配置する際、前記ピストンロッドを前記引込位置に引き込んだ状態で前記採取部による前記支持部材の保持を解除するように、前記支持部材採取装置を制御する制御装置と、
を備える作業装置。
続きを表示(約 950 文字)
【請求項2】
前記連結部材は、前記ピストンロッドの上端に接続される第1接続部と、前記採取部に接続される第2接続部と、前記第1接続部と前記第2接続部とを繋ぐように前記シリンダの側壁に沿って上下方向に延在する延在部とを有するクランク状に形成されている、
請求項1に記載の作業装置。
【請求項3】
前記支持部材採取装置は、前記ピストンロッドを前記進出位置に進出させた状態で、前記採取部の下端が前記シリンダの下端よりも上方に位置するように構成されている、
請求項1または2に記載の作業装置。
【請求項4】
前記支持部材採取装置を水平方向に移動させる移動装置を備え、
前記制御装置は、前記ピストンロッドを前記進出位置に進出させた状態で前記支持部材採取装置が移動するように、前記支持部材採取装置と前記移動装置とを制御する、
請求項3に記載の作業装置。
【請求項5】
前記移動装置は、前記支持部材の採取とは別の機能を実行する機能装置と共に前記支持部材採取装置を移動させるものであり、
前記制御装置は、前記別の機能を実行するために前記機能装置が移動するように前記移動装置を制御する際、前記ピストンロッドを前記進出位置に進出させた状態とするように前記支持部材採取装置を制御する、
請求項4に記載の作業装置。
【請求項6】
前記制御装置は、前記所定作業が行われない待機状態においても、前記ピストンロッドを前記進出位置に進出させた状態とするように前記支持部材採取装置を制御する、
請求項4に記載の作業装置。
【請求項7】
棒状の支持部材を採取する支持部材採取装置であって、
前記支持部材の上部を採取して保持可能な採取部と、
進出位置と引込位置との間で進退移動するピストンロッドが上方に向けて進出するシリンダと、
前記採取部と前記ピストンロッドとを連結する連結部材と、
を備え、
前記支持部材を所定位置に配置する際、前記ピストンロッドを前記引込位置に引き込んだ状態で前記採取部による前記支持部材の保持を解除する、
支持部材採取装置。
発明の詳細な説明
【技術分野】
【0001】
本明細書は、作業装置および支持部材採取装置について開示する。
続きを表示(約 1,500 文字)
【背景技術】
【0002】
従来、基板の裏面を支持ピンなどの支持部材で支持した状態で、基板に印刷などの所定作業を行う作業装置が提案されている。例えば、特許文献1には、支持部材を把持する把持爪を有し、上下に往復動可能なスライドユニットを備え、把持爪で支持部材を把持した状態でスライドユニットを下降させてから、把持爪による把持を解除して支持部材を配置するものが記載されている。
【先行技術文献】
【特許文献】
【0003】
特開平03-024797号公報
【発明の概要】
【発明が解決しようとする課題】
【0004】
ところで、把持爪などの採取部をシリンダのピストンロッドに連結し、ピストンロッドが下方の進出位置に進出した状態で、採取部による支持部材の保持を解除して支持部材を配置する構成が考えられる。しかし、ピストンロッドが進出位置に進出した状態は、ピストンロッドの進退方向と交差する方向へのガタが大きくなるため、支持ピンを配置する位置にずれが生じて位置精度が低下するおそれがある。
【0005】
本開示は、シリンダを用いて配置する支持部材の位置精度を向上させることを主目的とする。
【課題を解決するための手段】
【0006】
本開示は、上述の主目的を達成するために以下の手段を採った。
【0007】
本開示の作業装置は、
棒状の支持部材に裏面を支持された基板に所定作業を行う作業装置であって、
前記支持部材の上部を採取して保持可能な採取部と、進出位置と引込位置との間で進退移動するピストンロッドが上方に向けて進出するシリンダと、前記採取部と前記ピストンロッドとを連結する連結部材と、を備える支持部材採取装置と、
前記支持部材を所定位置に配置する際、前記ピストンロッドを前記引込位置に引き込んだ状態で前記採取部による前記支持部材の保持を解除するように、前記支持部材採取装置を制御する制御装置と、
を備えることを要旨とする。
【0008】
本開示の作業装置では、支持部材採取装置が、支持部材を所定位置に配置する際、ピストンロッドを引込位置に引き込んだ状態で採取部による支持部材の保持を解除する。これにより、ピストンロッドの進退方向と交差する方向へのガタの影響を抑えて、支持部材が配置される位置にずれが生じるのを防止することができる。したがって、シリンダを用いて配置する支持部材の位置精度を向上させることができる。
【図面の簡単な説明】
【0009】
印刷装置10の構成の概略を示す構成図。
印刷装置10の主要構成の概略を示す斜視図。
印刷装置10の構成の概略を示すブロック図。
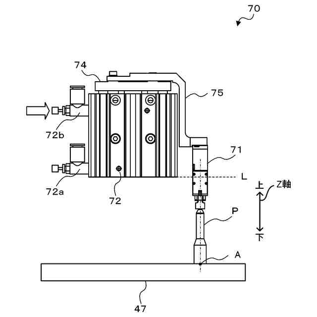
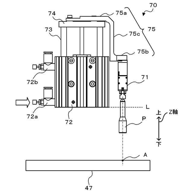
ピン採取装置70の一例を示す説明図。
ピン採取装置70の一例を示す説明図。
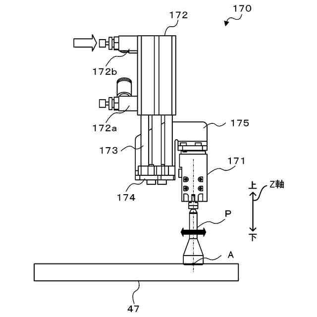
比較例のピン採取装置170を示す説明図。
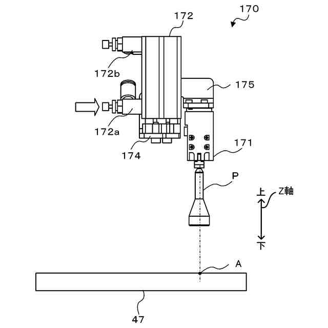
比較例のピン採取装置170を示す説明図。
印刷装置10の状態とピストンロッド73の位置との関係を示す説明図。
【発明を実施するための形態】
【0010】
本開示の実施形態について図面を用いて説明する。図1は、印刷装置10の構成の概略を示す構成図である。図2は、印刷装置10の主要構成の概略を示す斜視図である。図3は、印刷装置10の構成の概略を示すブロック図である。本実施形態において、左右方向(X軸)、前後方向(Y軸)、上下方向(Z軸)は、図1,図2に示した通りとする。
(【0011】以降は省略されています)
この特許をJ-PlatPat(特許庁公式サイト)で参照する
関連特許
株式会社FUJI
操作ユニット
3日前
株式会社FUJI
部品供給装置及び部品供給方法
1日前
株式会社FUJI
作業装置および支持部材採取装置
1日前
株式会社FUJI
情報検索システムおよび情報検索方法
7日前
個人
印鑑
7日前
個人
箔熱転写装置
3か月前
シヤチハタ株式会社
印判
6か月前
キヤノン株式会社
電子機器
1か月前
キヤノン株式会社
記録装置
2か月前
株式会社リコー
液体吐出装置
6か月前
株式会社リコー
液体吐出装置
4か月前
株式会社リコー
液体吐出装置
6か月前
独立行政法人 国立印刷局
貼付機構
4か月前
独立行政法人 国立印刷局
貼付装置
3か月前
株式会社リコー
画像形成装置
3か月前
株式会社リコー
画像形成装置
2か月前
株式会社リコー
印刷システム
2か月前
株式会社リコー
液体吐出装置
7か月前
株式会社リコー
液体吐出装置
8か月前
株式会社リコー
画像形成装置
2か月前
キヤノン株式会社
画像形成装置
7日前
キヤノン株式会社
画像形成装置
5か月前
キヤノン株式会社
画像処理装置
6か月前
キヤノン株式会社
印刷システム
22日前
キヤノン株式会社
画像形成装置
3日前
ブラザー工業株式会社
液体吐出ヘッド
2か月前
独立行政法人 国立印刷局
潜像印刷物
4か月前
ブラザー工業株式会社
プリンタ
4か月前
カシオ計算機株式会社
印刷装置
1か月前
キヤノン株式会社
画像形成装置
1日前
シャープ株式会社
画像形成装置
1か月前
キヤノン株式会社
画像形成装置
1か月前
キヤノン株式会社
画像形成装置
3か月前
キヤノン株式会社
画像記録装置
2か月前
理想科学工業株式会社
印刷装置
2か月前
独立行政法人 国立印刷局
潜像形成体
2か月前
続きを見る
他の特許を見る