TOP
|
特許
|
意匠
|
商標
特許ウォッチ
Twitter
他の特許を見る
公開番号
2025168338
公報種別
公開特許公報(A)
公開日
2025-11-07
出願番号
2025073686
出願日
2025-04-25
発明の名称
金属酸化物層の作製方法、半導体装置の作製方法
出願人
株式会社半導体エネルギー研究所
代理人
主分類
H10D
30/01 20250101AFI20251030BHJP()
要約
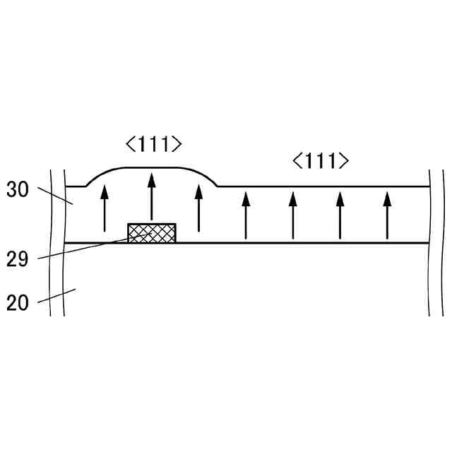
【課題】キャリア移動度の高い金属酸化物層及びその作製方法を提供する。
【解決手段】結晶部を形成する第1のステップと、結晶部を核として、結晶性を有する金属酸化物層を形成する第2のステップと、を有する金属酸化物層の作製方法である。金属酸化物層は、インジウムを含む。金属酸化物層は、原子層堆積法を用いて形成し、基板加熱の温度は、150℃以上250℃以下とする。また、金属酸化物層が有する結晶粒の結晶方位は<111>であり、結晶部の結晶方位は<001>である。
【選択図】図1
特許請求の範囲
【請求項1】
結晶部を形成する第1のステップと、
前記結晶部を核として、結晶性を有する金属酸化物層を形成する第2のステップと、を有し、
前記金属酸化物層は、インジウムを含む、金属酸化物層の作製方法。
続きを表示(約 980 文字)
【請求項2】
請求項1において、
前記第1のステップにおいて、前記結晶部は、多結晶膜のグレインの一つから形成する、金属酸化物層の作製方法。
【請求項3】
請求項1において、
前記第1のステップよりも前に、非晶質の金属酸化物膜を形成する第3のステップを有し、
前記第1のステップにおいて、前記結晶部は前記非晶質の金属酸化物膜上に形成し、
前記第2のステップにおいて、前記非晶質の金属酸化物膜を結晶化することで、前記金属酸化物層を形成する、金属酸化物層の作製方法。
【請求項4】
請求項1において、
前記金属酸化物層を原子層堆積法を用いて形成し、
基板加熱の温度は、100℃以上300℃以下とする、金属酸化物層の作製方法。
【請求項5】
請求項1において、
前記金属酸化物層を原子層堆積法を用いて形成し、
基板加熱の温度は、150℃以上250℃以下とする、金属酸化物層の作製方法。
【請求項6】
絶縁層上に結晶部を形成する第1のステップと、
前記結晶部上に結晶性を有する金属酸化物層を形成する第2のステップと、を有し、
前記金属酸化物層は、インジウムを有し、
前記第2のステップよりも前に、化学機械研磨法を用いて前記絶縁層の上面を平坦化し、前記絶縁層の上面の平均面粗さを0nm以上3nm未満とする、金属酸化物層の作製方法。
【請求項7】
請求項6において、
前記第2ステップ以降において、前記金属酸化物層を横方向に結晶成長させる、金属酸化物層の作製方法。
【請求項8】
請求項6において、
前記第1のステップでは、前記結晶部となる膜を形成し、ウェットエッチング法を用いて前記膜を加工して前記結晶部を形成する、金属酸化物層の作製方法。
【請求項9】
請求項1又は請求項6において、
前記金属酸化物層が有する結晶粒の結晶方位は<111>である、金属酸化物層の作製方法。
【請求項10】
請求項9において、
前記結晶部の結晶方位は<001>である、金属酸化物層の作製方法。
(【請求項11】以降は省略されています)
発明の詳細な説明
【技術分野】
【0001】
本発明の一態様は、金属酸化物層、半導体装置、記憶装置、表示装置、及び電子機器に関する。また、本発明の一態様は、金属酸化物層の作製方法、及び半導体装置の作製方法に関する。
続きを表示(約 2,100 文字)
【0002】
なお、本発明の一態様は、上記の技術分野に限定されない。本発明の一態様の技術分野としては、半導体装置、表示装置、発光装置、蓄電装置、記憶装置、電子機器、照明装置、入力装置(例えば、タッチセンサ)、入出力装置(例えば、タッチパネル)、それらの駆動方法、又はそれらの製造方法を一例として挙げることができる。
【0003】
なお、本明細書等において、半導体装置とは、半導体特性を利用した装置であり、半導体素子(トランジスタ、ダイオード、フォトダイオード等)を含む回路、同回路を有する装置等をいう。また、半導体特性を利用することで機能しうる装置全般をいう。例えば、集積回路、集積回路を備えたチップ、パッケージにチップを収納した電子部品は半導体装置の一例である。また、記憶装置、表示装置、発光装置、照明装置、及び電子機器は、それ自体が半導体装置であり、かつ、それぞれが半導体装置を有している場合がある。
【背景技術】
【0004】
絶縁表面を有する基板上に形成された半導体薄膜を用いてトランジスタを構成する技術が注目されている。該トランジスタは集積回路(IC)、表示装置のような電子デバイスに広く応用されている。トランジスタに適用可能な半導体材料としてシリコン系半導体材料が広く知られているが、その他の材料として酸化物半導体が注目されている。
【0005】
また、酸化物半導体を用いたトランジスタは、オフ状態において極めてリーク電流が小さいことが知られている。例えば、特許文献1には、酸化物半導体を用いたトランジスタのリーク電流が小さいという特性を応用した低消費電力のCPU(Central Processing Unit)などが開示されている。また、例えば、特許文献2には、酸化物半導体を用いたトランジスタのリーク電流が小さいという特性を応用して、長期にわたり記憶内容を保持することができる記憶装置などが、開示されている。
【0006】
また、トランジスタの活性層に適用可能な酸化物半導体として、酸化インジウム、インジウムガリウム亜鉛酸化物などが挙げられる。非特許文献1では、低温固相結晶化によって形成した水素化多結晶酸化インジウムを活性層に用いた薄膜トランジスタが開示されている。
【先行技術文献】
【特許文献】
【0007】
特開2012-257187号公報
特開2011-151383号公報
【非特許文献】
【0008】
Y.Magari et al.,“High-mobility hydrogenated polycrystalline In2O3(In2O3:H) thin-film transistors”,nature COMMUNICATIONS,13,1078 (2022)
N.Preissler et al.,“Electrical transport, electrothermal transport, and effective electron mass in single-crystalline In2O3 films”,Phys.Rev.B,88,085305 (2013)
鯉田崇、“高移動度透明導電膜”、国立研究開発法人産業技術総合研究所、AIST太陽光発電研究成果報告会2019、インターネット<URL:https://unit.aist.go.jp/rpd-envene/PV/ja/results/2019/oral/T13.pdf>
【発明の概要】
【発明が解決しようとする課題】
【0009】
本発明の一態様は、キャリア移動度の高い金属酸化物層を提供することを課題の一つとする。本発明の一態様は、新規な金属酸化物層を提供することを課題の一つとする。本発明の一態様は、金属酸化物層を適用した、トランジスタ、半導体装置、記憶装置、又は表示装置を提供することを課題の一つとする。
【0010】
本発明の一態様は、電気特性が良好なトランジスタを提供することを課題の一つとする。本発明の一態様は、オン電流が大きいトランジスタを提供することを課題の一つとする。本発明の一態様は、寄生容量が小さいトランジスタを提供することを課題の一つとする。本発明の一態様は、信頼性の高いトランジスタ、半導体装置、記憶装置、又は表示装置を提供することを課題の一つとする。本発明の一態様は、微細化又は高集積化が可能な、トランジスタ、半導体装置、又は記憶装置を提供することを課題の一つとする。本発明の一態様は、消費電力の低い半導体装置、記憶装置、又は表示装置を提供することを課題の一つとする。本発明の一態様は、動作速度が速い記憶装置を提供することを課題の一つとする。本発明の一態様は、上記トランジスタ、半導体装置、記憶装置、又は表示装置の作製方法を提供することを課題の一つとする。
(【0011】以降は省略されています)
この特許をJ-PlatPat(特許庁公式サイト)で参照する
関連特許
個人
積和演算用集積回路
1か月前
サンケン電気株式会社
半導体装置
1か月前
日機装株式会社
半導体発光装置
25日前
旭化成株式会社
発光素子
1か月前
ローム株式会社
半導体装置
9日前
株式会社半導体エネルギー研究所
表示装置
9日前
株式会社東芝
半導体装置
17日前
三菱電機株式会社
半導体装置
1か月前
三菱電機株式会社
半導体装置
4日前
三菱電機株式会社
半導体装置
17日前
ローム株式会社
半導体集積回路
1か月前
日亜化学工業株式会社
発光装置
1か月前
株式会社半導体エネルギー研究所
発光デバイス
25日前
ローム株式会社
半導体装置
2日前
株式会社半導体エネルギー研究所
発光デバイス
1か月前
サンケン電気株式会社
半導体装置
17日前
ローム株式会社
半導体装置
1か月前
日亜化学工業株式会社
発光素子
1か月前
新電元工業株式会社
半導体素子
2日前
新電元工業株式会社
半導体素子
2日前
新電元工業株式会社
半導体素子
2日前
ローム株式会社
半導体装置
17日前
日亜化学工業株式会社
発光装置
2日前
日本ゼオン株式会社
構造体
1か月前
日亜化学工業株式会社
発光素子
1か月前
日亜化学工業株式会社
発光装置
1か月前
日亜化学工業株式会社
発光装置
1か月前
日亜化学工業株式会社
発光装置の製造方法及び発光装置
1か月前
株式会社東芝
半導体装置及びウエーハ
1か月前
ローム株式会社
半導体装置
1か月前
株式会社東芝
ウエーハ及び半導体装置
10日前
株式会社東芝
ウエーハ及び半導体装置
10日前
住友電気工業株式会社
炭化珪素半導体装置
9日前
住友電気工業株式会社
炭化珪素半導体装置
1か月前
住友電気工業株式会社
炭化珪素半導体装置
1か月前
住友電気工業株式会社
炭化珪素半導体装置
1か月前
続きを見る
他の特許を見る