TOP
|
特許
|
意匠
|
商標
特許ウォッチ
Twitter
他の特許を見る
公開番号
2025168153
公報種別
公開特許公報(A)
公開日
2025-11-07
出願番号
2024109436,2024071228
出願日
2024-07-08,2024-04-25
発明の名称
プラズマ処理装置及び上部アセンブリ
出願人
東京エレクトロン株式会社
代理人
個人
,
個人
,
個人
主分類
H01L
21/3065 20060101AFI20251030BHJP(基本的電気素子)
要約
【課題】基板のエッジにおけるプラズマ処理の速度の制御性を高めるプラズマ処理装置及び上部アセンブリを提供する。
【解決手段】開示されるプラズマ処理装置1は、チャンバ10、プラズマ生成部、チャンバ内の基板支持部11、上部アセンブリ13A及びガス供給部を含む。プラズマ生成部は、チャンバ内でプラズマを生成する。上部アセンブリは、上部電極13E、絶縁リング14及び導電リング15を含む。上部電極は、チャンバ内のプラズマ処理空間に向けて開口する複数の第1のガス孔131を有し、基板支持部の上方に配置されている。絶縁リングは、上部電極を囲んでいる。導電リングは、プラズマ処理空間に向けて開口する複数の第2のガス孔を有し、絶縁リングを囲み、基板支持部とチャンバの側壁との間の空間の上方に配置されている。ガス供給部は、ガスを複数の第1のガス孔及び複数の第2のガス孔132に供給する。
【選択図】図2
特許請求の範囲
【請求項1】
プラズマ処理空間を有するチャンバと、
前記チャンバ内でプラズマを生成するように構成されたプラズマ生成部と、
前記チャンバ内の基板支持部と、
前記プラズマ処理空間の上方に配置された上部アセンブリであり、
前記プラズマ処理空間に向けて開口する複数の第1のガス孔を有し、前記基板支持部の上方に配置された上部電極と、
前記上部電極を囲む絶縁リングと、
前記プラズマ処理空間に向けて開口する複数の第2のガス孔を有し、前記絶縁リングを囲み、前記基板支持部と前記チャンバの側壁との間の空間の上方に配置された導電リングと、
を含む、該上部アセンブリと、
前記プラズマ処理空間に吐出されるガスを前記複数の第1のガス孔及び前記複数の第2のガス孔に供給するように構成されたガス供給部と、
を備えるプラズマ処理装置。
続きを表示(約 1,300 文字)
【請求項2】
前記導電リング及び前記基板支持部の中心軸線から前記複数の第2のガス孔の各々の中心点までの径方向の距離は、200mm以上、250mm以下である、請求項1に記載のプラズマ処理装置。
【請求項3】
前記導電リングは、その中に前記複数の第2のガス孔が形成されたガス孔形成領域を含み、
前記中心軸線に対する前記ガス孔形成領域の内縁の半径は、前記導電リングの内縁の半径以上であり、
前記中心軸線に対する前記ガス孔形成領域の外縁の半径は、前記導電リングの内縁の半径と外縁の半径との和の1/2以下である、
請求項2に記載のプラズマ処理装置。
【請求項4】
前記導電リングは、前記ガス孔形成領域の外側にガス孔を有していない、請求項3に記載のプラズマ処理装置。
【請求項5】
前記複数の第2のガス孔は、前記中心軸線の周りの複数の同心円に沿って配置されている、請求項2~4の何れか一項に記載のプラズマ処理装置。
【請求項6】
前記複数の第2のガス孔のうち最も内側に設けられた一つ以上の第2のガス孔の前記中心軸線を中心とする内接円の半径は、前記基板支持部の外周の半径よりも大きい、請求項2~4の何れか一項に記載のプラズマ処理装置。
【請求項7】
前記ガス供給部は、
前記プラズマ処理空間に吐出されるガスを前記複数の第1のガス孔に供給する第1のガス供給部と、
前記第1のガス供給部から独立して、前記プラズマ処理空間に吐出されるガスを前記複数の第2のガス孔に供給する第2のガス供給部と、
を含む、請求項1~4の何れか一項に記載のプラズマ処理装置。
【請求項8】
前記導電リングは、接地されている、請求項1~4の何れか一項に記載のプラズマ処理装置。
【請求項9】
前記上部電極は、
前記複数の第1のガス孔を有する天板と、
冷媒流路を有し、該天板の上に配置された第1の冷却部材と、
前記第1の冷却部材と前記天板との間で挟持された第1の伝熱シートと、
を含み、
前記上部アセンブリは、
冷媒流路を有し、前記導電リングの上に配置された第2の冷却部材と、
前記第2の冷却部材と前記導電リングとの間で挟持された第2の伝熱シートと、
を更に含む、
請求項1~4の何れか一項に記載のプラズマ処理装置。
【請求項10】
容量結合型のプラズマ処理装置においてチャンバ内のプラズマ処理空間の上方に配置される上部アセンブリであり、
前記プラズマ処理空間に向けて開口する複数の第1のガス孔を有し、前記チャンバ内の基板支持部の上方に配置される上部電極と、
前記上部電極を囲む絶縁リングと、
前記プラズマ処理空間に向けて開口する複数の第2のガス孔を有し、前記絶縁リングを囲み、前記基板支持部と前記チャンバの側壁との間の空間の上方に配置される導電リングと、
を備える上部アセンブリ。
(【請求項11】以降は省略されています)
発明の詳細な説明
【技術分野】
【0001】
本開示の例示的実施形態は、プラズマ処理装置及び上部アセンブリに関するものである。
続きを表示(約 1,800 文字)
【背景技術】
【0002】
容量結合型のプラズマ処理装置は、チャンバ、基板支持部、及び上部電極を含む。基板支持部は、下部電極を含み、チャンバ内に配置されている。上部電極は、基板支持部の上方に配置されている。下記の特許文献1は、上部電極を内側上部電極及び外側上部電極に分割し、内側上部電極及び外側上部電極のそれぞれに、電圧印加用の可変直流電源を接続したプラズマ処理装置を開示している。
【先行技術文献】
【特許文献】
【0003】
特開2013-141024号公報
【発明の概要】
【発明が解決しようとする課題】
【0004】
本開示は、基板のエッジにおけるプラズマ処理の速度の制御性を高める技術を提供する。
【課題を解決するための手段】
【0005】
一つの例示的実施形態において、プラズマ処理装置が提供される。プラズマ処理装置は、チャンバ、プラズマ生成部、基板支持部、上部アセンブリ、及びガス供給部を含む。チャンバは、プラズマ処理空間を有する。プラズマ生成部は、チャンバ内でプラズマを生成するように構成されている。基板支持部は、チャンバ内に位置している。上部アセンブリは、プラズマ処理空間の上方に配置されている。上部アセンブリは、上部電極、絶縁リング、及び導電リングを含む。上部電極は、プラズマ処理空間に向けて開口する複数の第1のガス孔を有し、基板支持部の上方に配置されている。絶縁リングは、上部電極を囲んでいる。導電リングは、プラズマ処理空間に向けて開口する複数の第2のガス孔を有し、絶縁リングを囲み、基板支持部とチャンバの側壁との間の空間の上方に配置されている。ガス供給部は、プラズマ処理空間に吐出されるガスを複数の第1のガス孔及び複数の第2のガス孔に供給するように構成されている。
【発明の効果】
【0006】
一つの例示的実施形態によれば、基板のエッジにおけるプラズマ処理の速度の制御性が高められる。
【図面の簡単な説明】
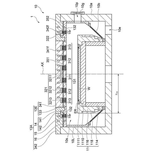
【0007】
容量結合型のプラズマ処理装置の構成例を説明するための図である。
一つの例示的実施形態に係るプラズマ処理装置を示す図である。
一つの例示的実施形態に係るプラズマ処理装置を示す図である。
複数の第2のガス孔の配置の一例を示す平面図である。
本明細書に記載の動作をコンピュータ上で実施する処理回路のブロック図である。
シミュレーション結果を示す図である。
実験の結果を示すグラフである。
【発明を実施するための形態】
【0008】
以下、図面を参照して種々の例示的実施形態について詳細に説明する。なお、各図面において同一又は相当の部分に対しては同一の符号を附すこととする。
【0009】
以下に、プラズマ処理システムの構成例について説明する。図1は、容量結合型のプラズマ処理装置の構成例を説明するための図である。
【0010】
プラズマ処理システムは、容量結合型のプラズマ処理装置1及び制御部2を含む。容量結合型のプラズマ処理装置1は、プラズマ処理チャンバ10、ガス供給部20、電源30及び排気システム40を含む。また、プラズマ処理装置1は、基板支持部11及びガス導入部を含む。ガス導入部は、少なくとも1つの処理ガスをプラズマ処理チャンバ10内に導入するように構成される。ガス導入部は、シャワーヘッド13を含む。基板支持部11は、プラズマ処理チャンバ10内に配置される。シャワーヘッド13は、基板支持部11の上方に配置される。一実施形態において、シャワーヘッド13は、プラズマ処理チャンバ10の天部(ceiling)の少なくとも一部を構成する。プラズマ処理チャンバ10は、シャワーヘッド13、プラズマ処理チャンバ10の側壁10a及び基板支持部11により規定されたプラズマ処理空間10sを有する。プラズマ処理チャンバ10は、少なくとも1つの処理ガスをプラズマ処理空間10sに供給するための少なくとも1つのガス供給口と、プラズマ処理空間からガスを排出するための少なくとも1つのガス排出口とを有する。プラズマ処理チャンバ10は接地される。シャワーヘッド13及び基板支持部11は、プラズマ処理チャンバ10の筐体とは電気的に絶縁される。
(【0011】以降は省略されています)
この特許をJ-PlatPat(特許庁公式サイト)で参照する
関連特許
東京エレクトロン株式会社
基板処理装置
4日前
東京エレクトロン株式会社
成膜方法及び成膜装置
3日前
東京エレクトロン株式会社
熱処理装置及び熱処理方法
3日前
東京エレクトロン株式会社
基板処理装置及び静電チャック
3日前
東京エレクトロン株式会社
液処理装置、液処理方法及び記憶媒体
3日前
東京エレクトロン株式会社
ハイブリッド接合を用いてダイを積層するためのパッド及びその方法
4日前
東京エレクトロン株式会社
チップ処理システム
9日前
東京エレクトロン株式会社
基板処理装置、およびコイルの周囲にフェライトシールド部を設ける方法
3日前
東京エレクトロン株式会社
基板処理方法及び基板処理システム
3日前
東京エレクトロン株式会社
プラズマ処理方法およびプラズマ処理装置
3日前
東ソー株式会社
絶縁電線
1か月前
APB株式会社
蓄電セル
1か月前
マクセル株式会社
電源装置
24日前
ローム株式会社
半導体装置
1か月前
日新イオン機器株式会社
イオン源
1か月前
株式会社東芝
端子台
24日前
株式会社GSユアサ
蓄電装置
17日前
株式会社GSユアサ
蓄電装置
3日前
株式会社GSユアサ
蓄電装置
25日前
富士電機株式会社
電磁接触器
3日前
株式会社ホロン
冷陰極電子源
1か月前
株式会社GSユアサ
蓄電装置
25日前
三菱電機株式会社
回路遮断器
11日前
トヨタ自動車株式会社
バッテリ
1か月前
日本特殊陶業株式会社
保持装置
16日前
トヨタ自動車株式会社
蓄電装置
25日前
トヨタ自動車株式会社
冷却構造
1か月前
日本特殊陶業株式会社
保持装置
1か月前
日新イオン機器株式会社
基板処理装置
27日前
北道電設株式会社
配電具カバー
1か月前
株式会社レゾナック
冷却器
11日前
ローム株式会社
半導体モジュール
4日前
ヒロセ電機株式会社
電気コネクタ
3日前
住友電装株式会社
コネクタ
1か月前
矢崎総業株式会社
コネクタ
3日前
日本無線株式会社
レーダアンテナ
18日前
続きを見る
他の特許を見る