TOP
|
特許
|
意匠
|
商標
特許ウォッチ
Twitter
他の特許を見る
10個以上の画像は省略されています。
公開番号
2025171738
公報種別
公開特許公報(A)
公開日
2025-11-20
出願番号
2024077380
出願日
2024-05-10
発明の名称
基板処理装置及び静電チャック
出願人
東京エレクトロン株式会社
代理人
個人
,
個人
,
個人
,
個人
,
個人
主分類
H01L
21/683 20060101AFI20251113BHJP(基本的電気素子)
要約
【課題】基板処理装置において基板を適切に吸着支持する。
【解決手段】チャンバと、前記チャンバ内に配置される基台と、前記基台の上面に配置される静電チャックと、を備え、前記静電チャックは、基板支持面を有する誘電体部と、前記誘電体部内に配置される吸着電極と、前記基板支持面上に形成される少なくとも一つの突起部と、前記突起部を平面視において囲むように前記基板支持面上に形成される第1環状突起部と、を備え、前記吸着電極の少なくとも一部は、平面視において前記第1環状突起部の外周よりも外径側に配置される、基板処理装置を提供する。
【選択図】図4
特許請求の範囲
【請求項1】
チャンバと、
前記チャンバ内に配置される基台と、
前記基台の上面に配置される静電チャックと、を備え、
前記静電チャックは、
基板支持面を有する誘電体部と、
前記誘電体部内に配置される吸着電極と、
前記基板支持面上に形成される少なくとも一つの突起部と、
前記突起部を平面視において囲むように前記基板支持面上に形成される第1環状突起部と、を備え、
前記吸着電極の少なくとも一部は、平面視において前記第1環状突起部の外周よりも外径側に配置される、基板処理装置。
続きを表示(約 950 文字)
【請求項2】
前記静電チャックは、前記基板支持面上に、平面視において前記第1環状突起部を囲むように形成される第2環状突起部を備える、請求項1に記載の基板処理装置。
【請求項3】
前記吸着電極の少なくとも一部は、平面視において前記第1環状突起部の外周と前記第2環状突起部の内周との間に配置される、請求項2に記載の基板処理装置。
【請求項4】
前記基板支持面に伝熱ガスを供給する伝熱ガス供給部を備え、
前記伝熱ガス供給部は、
前記基板支持面における前記第1環状突起部と前記第2環状突起部との間に接続される伝熱ガス供給孔を備える、請求項2に記載の基板処理装置。
【請求項5】
前記第2環状突起部には、前記第1環状突起部の径方向内側に供給された伝熱ガスを前記第1環状突起部と前記第2環状突起部との間に供給する連通溝が形成される、請求項4に記載の基板処理装置。
【請求項6】
前記吸着電極は平面視において円盤形状を有し、前記吸着電極の外周は、平面視において前記第1環状突起部の外周よりも外径側に配置され、前記吸着電極の外周と前記第1環状突起部の外周との間の面内方向距離が、10mm以下である、請求項1~5のいずれか一項に記載の基板処理装置。
【請求項7】
前記吸着電極は平面視において円盤形状を有し、前記吸着電極の外周は、平面視において前記第1環状突起部の外周よりも外径側に配置され、前記吸着電極の外周と前記誘電体部の外周との間の面内方向距離は、0.3mm超20mm以下である、請求項1~5のいずれか一項に記載の基板処理装置。
【請求項8】
前記第1環状突起部の高さは、300μm以下である、請求項1~5のいずれか一項に記載の基板処理装置。
【請求項9】
前記第1環状突起部の高さと前記第2環状突起部の高さとの差は、100μm以下である、請求項2~5のいずれか一項に記載の基板処理装置。
【請求項10】
前記第2環状突起部の高さは、前記第1環状突起部の高さよりも大きい、請求項2~5のいずれか一項に記載の基板処理装置。
(【請求項11】以降は省略されています)
発明の詳細な説明
【技術分野】
【0001】
本開示は、基板処理装置及び静電チャックに関する。
続きを表示(約 1,800 文字)
【背景技術】
【0002】
特許文献1には、静電チャックの基板支持面から突出して設けられる複数の基板接触部と、基板接触部を平面視で囲むように突出して環状に設けられる外周接触部を備える静電チャックが開示されている。静電チャックは基板接触部及び外周接触部において基板の裏面と接触して伝熱することで基板が冷却されることが記載されている。
【先行技術文献】
【特許文献】
【0003】
特開2023-002461号公報
【発明の概要】
【発明が解決しようとする課題】
【0004】
本開示にかかる技術は、基板処理装置において基板を適切に吸着支持する。
【課題を解決するための手段】
【0005】
本開示の一態様は、チャンバと、前記チャンバ内に配置される基台と、前記基台の上面に配置される静電チャックと、を備え、前記静電チャックは、基板支持面を有する誘電体部と、前記誘電体部内に配置される吸着電極と、前記基板支持面上に形成される少なくとも一つの突起部と、前記突起部を平面視において囲むように前記基板支持面上に形成される第1環状突起部と、を備え、前記吸着電極の少なくとも一部は、平面視において前記第1環状突起部の外周よりも外径側に配置される、基板処理装置を提供する。
【発明の効果】
【0006】
本開示によれば、基板処理装置において基板を適切に吸着支持することができる。
【図面の簡単な説明】
【0007】
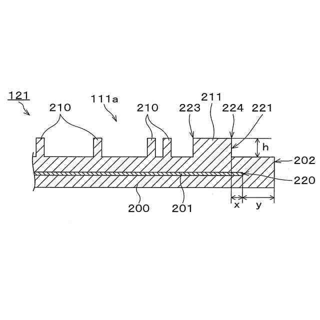
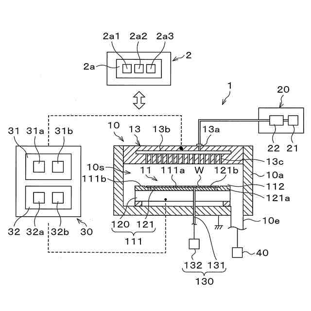
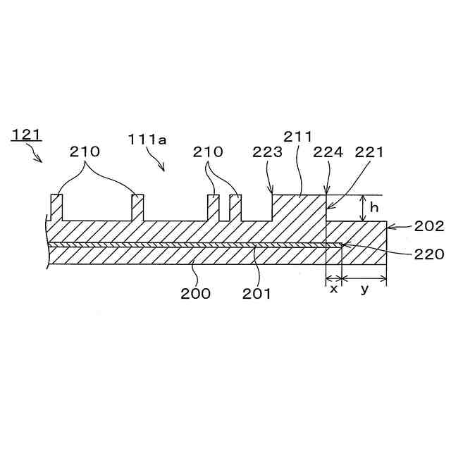
実施形態にかかるプラズマ処理システムの構成例を示す説明図である。
実施形態にかかるプラズマ処理装置の構成例を示す断面図である。
第1実施形態にかかる静電チャックの構成例を示す平面図である。
第1実施形態にかかる静電チャックの構成例を示す縦断面図である。
第1実施形態にかかる静電チャック上に基板を吸着支持した場合の状態例を示す縦断面図である。
静電チャックの作用及び効果の一例を示すグラフである。
第2実施形態にかかる静電チャックの構成の概略を示す平面図である。
第2実施形態にかかる静電チャックの構成の概略を示す縦断面図である。
第2実施形態にかかる静電チャック上に基板を吸着支持した場合の状態例の概略を示す縦断面図である。
第2実施形態にかかる静電チャックの伝熱ガス供給部の構成例の概略を示す縦断面図である。
第2実施形態にかかる静電チャックの伝熱ガス供給部の構成例の概略を示す縦断面図である。
第2実施形態にかかる静電チャックの伝熱ガス供給部の構成例の概略を示す縦断面図である。
第2実施形態にかかる静電チャックの伝熱ガス供給部の構成例の概略を示す平面図である。
比較例にかかる静電チャックの構成例を示す平面図である。
比較例にかかる静電チャックの構成例を示す縦断面図である。
【発明を実施するための形態】
【0008】
半導体デバイスの製造工程では、例えばプラズマ処理装置において半導体基板(以下、「基板」という。)にプラズマ処理が行われる。プラズマ処理装置では、チャンバの内部で処理ガスを励起させることによりプラズマを生成し、当該プラズマによって、静電チャックに支持された基板を処理する。
【0009】
プラズマ処理では、基板に対するプラズマ処理の面内均一性を向上させるため、処理対象の基板の温度を適切に制御することが求められる。そこで、例えば基板の裏面と静電チャックの表面との空間にヘリウムガス等の伝熱ガスを供給し、当該伝熱ガスの圧力を制御することで、基板の温度を制御している。
【0010】
静電チャックは、表面において基板の裏面と接触するように突出する突起部が設けられた構成が提案されている。例えば上述した特許文献1には、静電チャックの表面において複数の突起部と、当該複数の突起部を平面視で囲む環状突起部(シールバンド)を設けた構成が開示されている。基板と接触する突起部及び環状突起部により基板の熱が静電チャックに熱引きされ、冷却される。
(【0011】以降は省略されています)
この特許をJ-PlatPat(特許庁公式サイト)で参照する
関連特許
東京エレクトロン株式会社
基板処理装置
4日前
東京エレクトロン株式会社
成膜装置及び成膜方法
16日前
東京エレクトロン株式会社
成膜方法及び成膜装置
3日前
東京エレクトロン株式会社
成膜方法及び成膜装置
16日前
東京エレクトロン株式会社
熱処理装置及び熱処理方法
3日前
東京エレクトロン株式会社
改質方法および改質システム
24日前
東京エレクトロン株式会社
基板処理装置及び静電チャック
3日前
東京エレクトロン株式会社
成膜装置及びクリーニング方法
16日前
東京エレクトロン株式会社
基板処理装置及び基板処理方法
16日前
東京エレクトロン株式会社
基板処理装置、及び基板処理方法
11日前
東京エレクトロン株式会社
基板処理システム及び基板処理方法
24日前
東京エレクトロン株式会社
液処理装置、液処理方法及び記憶媒体
3日前
東京エレクトロン株式会社
情報処理装置、情報処理方法及びプログラム
24日前
東京エレクトロン株式会社
基板処理装置および基板処理装置の製造方法
16日前
東京エレクトロン株式会社
基板処理方法、基板処理装置、及びプログラム
25日前
東京エレクトロン株式会社
基板処理方法、基板処理装置、及びプログラム
25日前
東京エレクトロン株式会社
情報処理装置、機差解析方法及び基板処理装置
17日前
東京エレクトロン株式会社
基板処理装置、ガス供給機構及びガス供給方法
9日前
東京エレクトロン株式会社
プラズマ処理装置及びプラズマ処理装置の動作方法
16日前
東京エレクトロン株式会社
チップ処理システム
9日前
東京エレクトロン株式会社
ハイブリッド接合を用いてダイを積層するためのパッド及びその方法
4日前
東京エレクトロン株式会社
基板処理装置、およびコイルの周囲にフェライトシールド部を設ける方法
3日前
東京エレクトロン株式会社
処理システム及び搬送方法
18日前
東京エレクトロン株式会社
基板処理方法及び基板処理装置
9日前
東京エレクトロン株式会社
ガスクラスター補助プラズマ処理
18日前
東京エレクトロン株式会社
搬送装置およびエンドエフェクタ
16日前
東京エレクトロン株式会社
基板処理方法及び基板処理システム
3日前
東京エレクトロン株式会社
プラズマ処理装置及び電源システム
18日前
東京エレクトロン株式会社
プラズマ処理装置及び電源システム
16日前
東京エレクトロン株式会社
プラズマ処理装置及び上部アセンブリ
16日前
東京エレクトロン株式会社
プラズマ処理方法およびプラズマ処理装置
3日前
東ソー株式会社
絶縁電線
1か月前
APB株式会社
蓄電セル
1か月前
個人
フレキシブル電気化学素子
1か月前
マクセル株式会社
電源装置
24日前
日新イオン機器株式会社
イオン源
1か月前
続きを見る
他の特許を見る