TOP
|
特許
|
意匠
|
商標
特許ウォッチ
Twitter
他の特許を見る
10個以上の画像は省略されています。
公開番号
2025168457
公報種別
公開特許公報(A)
公開日
2025-11-07
出願番号
2025145282,2024075110
出願日
2025-09-02,2021-03-05
発明の名称
プラズマ処理装置及び電源システム
出願人
東京エレクトロン株式会社
代理人
個人
,
個人
,
個人
主分類
H01L
21/3065 20060101AFI20251030BHJP(基本的電気素子)
要約
【課題】異なるエネルギーを有するイオンを基板に供給する技術を提供する。
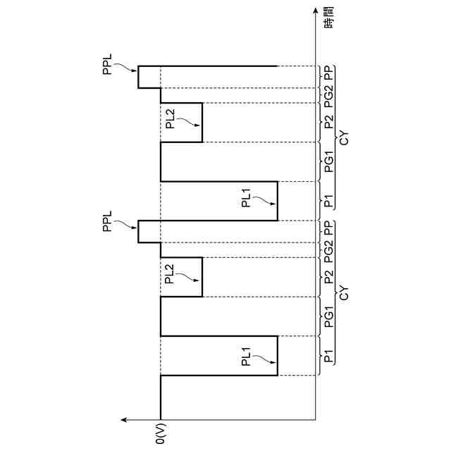
【解決手段】開示されるプラズマ処理装置は、チャンバ、基板支持器、及び電源システムを備える。基板支持器は、電極を有し、チャンバ内で基板を支持するように構成されている。電源システムは、電極に電気的に接続されている。電源システムは、バイアス電圧として、第1の期間において第1のパルスを電極に出力し、第1の期間の後の第2の期間において第2のパルスを電極に出力するように構成されている。第1のパルス及び第2のパルスの各々は、電圧のパルスである。第1のパルスの電圧レベルは、第2のパルスの電圧レベルと異なる。
【選択図】図1
特許請求の範囲
【請求項1】
チャンバと、
電極を有し、基板を支持するように構成されており、前記チャンバ内に設けられた基板支持器と、
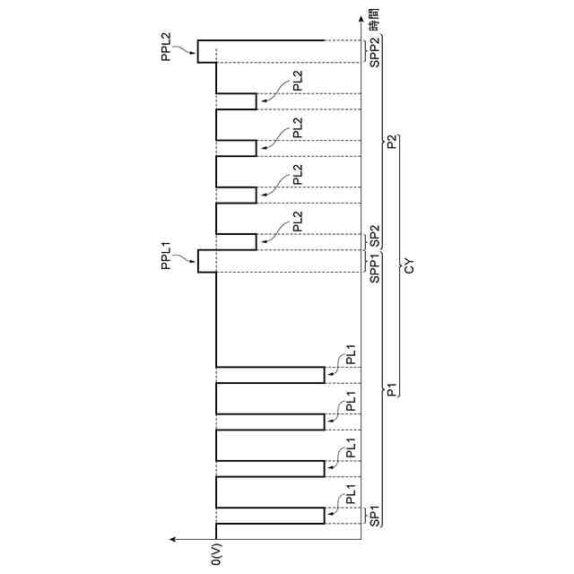
前記基板支持器上の前記基板に前記チャンバ内のプラズマからのイオンを引き込むために、各サイクルにおいて前記電極にパルス状の電圧信号を印加するように構成された電源システムと、
を備え、
前記電源システムは、
各々が第1の電圧レベル及び負極性を有する複数の第1の電圧パルスのシーケンスを各サイクル内の第1の期間において有し、
各々が前記第1の電圧レベルと異なる第2の電圧レベル及び負極性を有する複数の第2の電圧パルスのシーケンスを各サイクル内の第2の期間において有し、
各サイクル内の前記第1の期間と前記第2の期間との間の第3の期間において正極性を有する第3の電圧パルスを有し、
各サイクル内の前記第2の期間の後の第4の期間において正極性を有する第4の電圧パルスを有するよう、
前記パルス状の電圧信号を生成するように構成されている、
プラズマ処理装置。
続きを表示(約 1,200 文字)
【請求項2】
前記電源システムは、前記第1の期間において、前記複数の第1の電圧パルスを、100kHz以上、1MHz以下の周波数で周期的に出力し、前記第2の期間において、前記複数の第2の電圧パルスを、100kHz以上、1MHz以下の周波数で周期的に出力するように構成されている、請求項1に記載のプラズマ処理装置。
【請求項3】
前記サイクルの時間長の逆数である周波数は、0.2Hz以上、1Hz以下である、請求項1又は2に記載のプラズマ処理装置。
【請求項4】
前記電源システムは、前記第1の電圧レベルの絶対値を前記第2の電圧レベルの絶対値よりも大きい値に設定するように構成されている、請求項1~3の何れか一項に記載のプラズマ処理装置。
【請求項5】
前記電源システムは、前記第1の電圧レベルの絶対値を前記第2の電圧レベルの絶対値よりも小さい値に設定するように構成されている、請求項1~3の何れか一項に記載のプラズマ処理装置。
【請求項6】
プラズマ処理装置のチャンバ内の基板支持器上の基板に前記チャンバ内のプラズマからのイオンを引き込むために、前記基板支持器の電極に、各サイクルにおいて、パルス状の電圧信号を印加するように構成されており、
前記パルス状の電圧信号は、
各々が第1の電圧レベル及び負極性を有する複数の第1の電圧パルスのシーケンスを各サイクル内の第1の期間において有し、
各々が前記第1の電圧レベルと異なる第2の電圧レベル及び負極性を有する複数の第2の電圧パルスのシーケンスを各サイクル内の第2の期間において有し、
各サイクル内の前記第1の期間と前記第2の期間との間の第3の期間において正極性を有する第3の電圧パルスを有し、
各サイクル内の前記第2の期間の後の第4の期間において正極性を有する第4の電圧パルスを有する、
電源システム。
【請求項7】
前記電源システムは、前記第1の期間において、前記複数の第1の電圧パルスを、100kHz以上、1MHz以下の周波数で周期的に出力し、前記第2の期間において、前記複数の第2の電圧パルスを、100kHz以上、1MHz以下の周波数で周期的に出力するように構成されている、請求項6に記載の電源システム。
【請求項8】
前記サイクルの時間長の逆数である周波数は、0.2Hz以上、1Hz以下である、請求項6又は7に記載の電源システム。
【請求項9】
前記電源システムは、前記第1の電圧レベルの絶対値を前記第2の電圧レベルの絶対値よりも大きい値に設定するように構成されている、請求項6~8の何れか一項に記載の電源システム。
【請求項10】
前記電源システムは、前記第1の電圧レベルの絶対値を前記第2の電圧レベルの絶対値よりも小さい値に設定するように構成されている、請求項6~8の何れか一項に記載の電源システム。
(【請求項11】以降は省略されています)
発明の詳細な説明
【技術分野】
【0001】
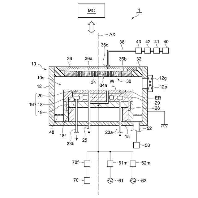
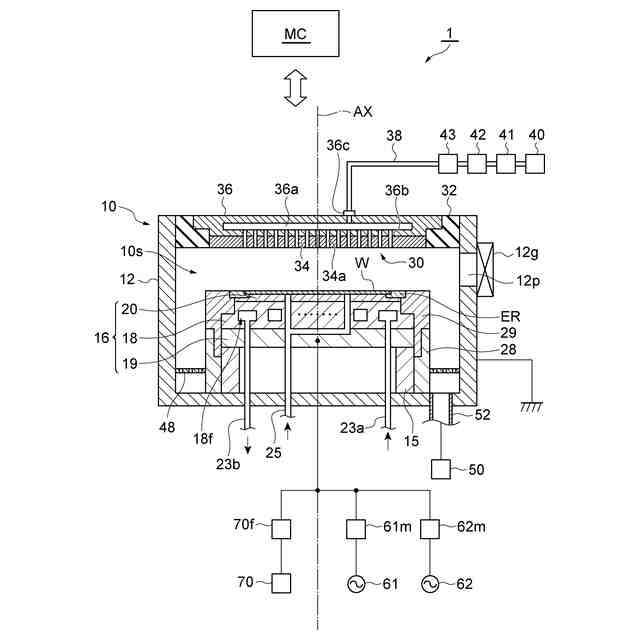
本開示の例示的実施形態は、プラズマ処理装置及びプラズマ処理方法に関するものである。
続きを表示(約 1,700 文字)
【背景技術】
【0002】
プラズマ処理装置が基板に対するプラズマ処理において用いられている。プラズマ処理装置は、チャンバ及び基板保持電極を備える。基板保持電極は、チャンバ内に設けられている。基板保持電極は、その主面上に載置された基板を保持する。このようなプラズマ処理装置の一種は、特開2009-187975号公報(以下、「特許文献1」という)に記載されている。
【0003】
特許文献1に記載されたプラズマ処理装置は、高周波発生装置及びDC負パルス発生装置を更に備えている。高周波発生装置は、基板保持電極に対して高周波電圧を印加する。特許文献1に記載されたプラズマ処理装置では、高周波電圧のオンとオフが交互に切り替えられる。また、特許文献1に記載されたプラズマ処理装置では、高周波電圧のオンとオフのタイミングに応じてDC負パルス発生装置から基板保持電極にDC負パルス電圧が印加される。
【先行技術文献】
【特許文献】
【0004】
特開2009-187975号公報
【発明の概要】
【発明が解決しようとする課題】
【0005】
本開示は、異なるエネルギーを有するイオンを基板に供給する技術を提供する。
【課題を解決するための手段】
【0006】
一つの例示的実施形態において、プラズマ処理装置が提供される。プラズマ処理装置は、チャンバ、基板支持器、及び電源システムを備える。基板支持器は、電極を有し、チャンバ内で基板を支持するように構成されている。電源システムは、基板支持器の電極に電気的に接続されており、チャンバ内のプラズマから基板支持器上の基板にイオンを引き込むために基板支持器の電極にバイアス電圧を印加するように構成されている。電源システムは、バイアス電圧として、第1の期間において第1のパルスを基板支持器の電極に出力し、第1の期間の後の第2の期間において第2のパルスを基板支持器の電極に出力するように構成されている。第1のパルス及び第2のパルスの各々は、電圧のパルスである。第1のパルスの電圧レベルは、第2のパルスの電圧レベルと異なる。
【発明の効果】
【0007】
一つの例示的実施形態によれば、異なるエネルギーを有するイオンを基板に供給することが可能となる。
【図面の簡単な説明】
【0008】
一つの例示的実施形態に係るプラズマ処理装置を概略的に示す図である。
第1例のバイアス電圧のタイミングチャートである。
第2例のバイアス電圧のタイミングチャートである。
第3例のバイアス電圧のタイミングチャートである。
第4例のバイアス電圧のタイミングチャートである。
第5例のバイアス電圧のタイミングチャートである。
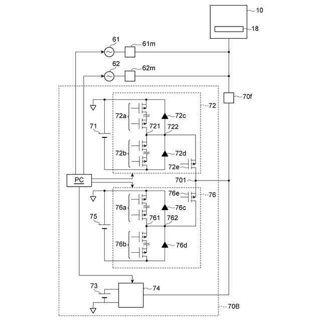
一つの例示的実施形態に係る電源システムを示す図である。
別の例示的実施形態に係る電源システムを示す図である。
別の例示的実施形態に係る基板支持器の構成を示す図である。
【発明を実施するための形態】
【0009】
以下、種々の例示的実施形態について説明する。
【0010】
一つの例示的実施形態において、プラズマ処理装置が提供される。プラズマ処理装置は、チャンバ、基板支持器、及び電源システムを備える。基板支持器は、電極を有し、チャンバ内で基板を支持するように構成されている。電源システムは、基板支持器の電極に電気的に接続されており、チャンバ内のプラズマから基板支持器上の基板にイオンを引き込むために基板支持器の電極にバイアス電圧を印加するように構成されている。電源システムは、バイアス電圧として、第1の期間において第1のパルスを基板支持器の電極に出力し、第1の期間の後の第2の期間において第2のパルスを基板支持器の電極に出力するように構成されている。第1のパルス及び第2のパルスの各々は、電圧のパルスである。第1のパルスの電圧レベルは、第2のパルスの電圧レベルと異なる。
(【0011】以降は省略されています)
この特許をJ-PlatPat(特許庁公式サイト)で参照する
関連特許
東京エレクトロン株式会社
成膜方法及び成膜装置
3日前
東京エレクトロン株式会社
熱処理装置及び熱処理方法
3日前
東京エレクトロン株式会社
基板処理装置及び静電チャック
3日前
東京エレクトロン株式会社
液処理装置、液処理方法及び記憶媒体
3日前
東京エレクトロン株式会社
ハイブリッド接合を用いてダイを積層するためのパッド及びその方法
4日前
東京エレクトロン株式会社
基板処理装置、およびコイルの周囲にフェライトシールド部を設ける方法
3日前
東京エレクトロン株式会社
基板処理方法及び基板処理システム
3日前
東京エレクトロン株式会社
プラズマ処理方法およびプラズマ処理装置
3日前
東ソー株式会社
絶縁電線
1か月前
APB株式会社
蓄電セル
1か月前
個人
フレキシブル電気化学素子
1か月前
株式会社東芝
端子台
24日前
ローム株式会社
半導体装置
1か月前
株式会社ユーシン
操作装置
1か月前
マクセル株式会社
電源装置
24日前
日新イオン機器株式会社
イオン源
1か月前
富士電機株式会社
電磁接触器
3日前
株式会社GSユアサ
蓄電装置
25日前
株式会社GSユアサ
蓄電装置
3日前
株式会社ホロン
冷陰極電子源
1か月前
三菱電機株式会社
回路遮断器
11日前
株式会社GSユアサ
蓄電装置
17日前
株式会社GSユアサ
蓄電装置
25日前
オムロン株式会社
電磁継電器
1か月前
株式会社GSユアサ
蓄電設備
1か月前
太陽誘電株式会社
コイル部品
1か月前
株式会社GSユアサ
蓄電設備
1か月前
日東電工株式会社
積層体
1か月前
サクサ株式会社
電池の固定構造
1か月前
トヨタ自動車株式会社
蓄電装置
25日前
トヨタ自動車株式会社
バッテリ
1か月前
日本特殊陶業株式会社
保持装置
16日前
トヨタ自動車株式会社
蓄電装置
1か月前
日本特殊陶業株式会社
保持装置
1か月前
日新イオン機器株式会社
基板処理装置
27日前
トヨタ自動車株式会社
バッテリ
1か月前
続きを見る
他の特許を見る