TOP
|
特許
|
意匠
|
商標
特許ウォッチ
Twitter
他の特許を見る
10個以上の画像は省略されています。
公開番号
2025172109
公報種別
公開特許公報(A)
公開日
2025-11-20
出願番号
2025144431,2021103283
出願日
2025-09-01,2021-06-22
発明の名称
プラズマ処理方法およびプラズマ処理装置
出願人
東京エレクトロン株式会社
代理人
個人
,
個人
,
個人
,
個人
主分類
H01L
21/3065 20060101AFI20251113BHJP(基本的電気素子)
要約
【課題】プラズマの電位を制御する技術を提供する。
【解決手段】プラズマ処理方法であって、基板支持部に基板を配置する工程と、基板を処理するための処理ガスをチャンバ内に供給する工程と、上部電極又は基板支持部に高周波を供給してチャンバ内に処理ガスのプラズマを生成する工程と、高周波が供給されている期間において、基板支持部に第1のバイアス電圧を第1の周期で周期的に印加する第1の印加工程と、高周波が供給されている期間において、上部電極に第2のバイアス電圧を第1の周期の整数倍である第2の周期で周期的に印加する第2の印加工程とを含む。
【選択図】図3
特許請求の範囲
【請求項1】
プラズマ処理装置において基板をプラズマ処理するプラズマ処理方法であって、
前記プラズマ処理装置は、
チャンバと、
前記チャンバ内に設けられ、前記基板を支持するように構成された基板支持部と、
前記チャンバ内において前記基板支持部に対向して設けられた上部電極と、
を備え、前記プラズマ処理方法は、
前記基板支持部に基板を配置する工程と、
前記基板を処理するための処理ガスを前記チャンバ内に供給する工程と、
前記上部電極又は前記基板支持部に高周波を供給して前記チャンバ内に前記処理ガスのプラズマを生成する工程と、
前記高周波が連続的に供給されている期間において、前記基板支持部に第1のパルス電圧を周期的に印加する第1の印加工程と、
前記高周波が連続的に供給されている期間において、前記上部電極に第2のパルス電圧を周期的に印加する第2の印加工程と、
を含み、
前記第1の印加工程は、
第1の時点で前記第1のパルス電圧の印加を開始する工程と、
前記第1の時点よりも遅い第2の時点で前記第1のパルス電圧の印加を停止する工程と、
前記第2の時点よりも遅い第3の時点で前記第1のパルス電圧の印加を再度開始する工程と、
前記第3の時点よりも遅い第4の時点で前記第1のパルス電圧の印加を再度停止する工程と
を含み、
前記第2の印加工程は、
前記第2の時点で前記第2のパルス電圧の印加を開始する工程と、
前記第2の時点と前記第3の時点との間の時点で前記第2のパルス電圧の印加を停止する工程と、
前記第4の時点で前記第2のパルス電圧の印加を再度開始する工程と
を含み、
前記第1の時点から前記第2の時点までの時間間隔は、前記第2の時点から前記第3の時点までの時間間隔以下である、プラズマ処理方法。
続きを表示(約 1,300 文字)
【請求項2】
前記プラズマを生成する工程は、前記高周波を前記基板支持部に供給する、請求項1記載のプラズマ処理方法。
【請求項3】
前記第1の印加工程は、前記第1のパルス電圧として負電圧を前記基板支持部に印加する、請求項1又は2記載のプラズマ処理方法。
【請求項4】
前記第2の印加工程は、前記第2のパルス電圧として負電圧を前記上部電極に印加する、請求項1から3のいずれか1項記載のプラズマ処理方法。
【請求項5】
前記第2の印加工程は、前記第3の時点で前記第2のパルス電圧の印加を停止する、請求項1から4のいずれか1項記載のプラズマ処理方法。
【請求項6】
チャンバと、
前記チャンバ内に設けられ、基板を支持するように構成された基板支持部と、
前記チャンバ内において前記基板支持部に対向して設けられた上部電極と、
制御部と
を備え、前記制御部は、
前記基板支持部に基板を配置する制御と、
前記基板を処理するための処理ガスを前記チャンバ内に供給する制御と、
前記上部電極又は前記に高周波を供給して前記チャンバ内に前記処理ガスのプラズマを生成する制御と、
前記高周波が連続的に供給されている期間において、前記基板支持部に第1のパルス電圧を周期的に印加する第1の印加制御と、
前記高周波が連続的に供給されている期間において、前記上部電極に第2のパルス電圧を周期的に印加する第2の印加制御と
を実行し、
前記第1の印加制御は、
第1の時点で前記第1のパルス電圧の印加を開始する制御と、
前記第1の時点よりも遅い第2の時点で前記第1のパルス電圧の印加を停止する制御と、
前記第2の時点よりも遅い第3の時点で前記第1のパルス電圧の印加を再度開始する制御と、
前記第3の時点よりも遅い第4の時点で前記第1のパルス電圧の印加を再度停止する制御と
を含み、
前記第2の印加制御は、
前記第2の時点で前記第2のパルス電圧の印加を開始する制御と、
前記第2の時点と前記第3の時点との間の時点で前記第2のパルス電圧の印加を停止する制御と
前記第4の時点で前記第2のパルス電圧の印加を再度開始する制御と
を含み、
前記第1の時点から前記第2の時点までの時間間隔は、前記第2の時点から前記第3の時点までの時間間隔以下である、
プラズマ処理装置。
【請求項7】
前記プラズマを生成する制御は、前記高周波を前記基板支持部に供給する、請求項6記載のプラズマ処理装置。
【請求項8】
前記第1の印加制御は、前記第1のパルス電圧として負電圧を前記基板支持部に印加する、請求項6又は7記載のプラズマ処理装置。
【請求項9】
前記第2の印加制御は、前記第2のパルス電圧として負電圧を前記上部電極に印加する、請求項6から8のいずれか1項記載のプラズマ処理装置。
【請求項10】
前記第2の印加制御は、前記第3の時点で前記第2のパルス電圧の印加を停止する、請求項6から9のいずれか1項記載のプラズマ処理装置。
発明の詳細な説明
【技術分野】
【0001】
本開示の例示的実施形態は、プラズマ処理方法およびプラズマ処理装置に関する。
続きを表示(約 2,200 文字)
【背景技術】
【0002】
基板のエッチングレートの低下を抑制する技術として、特許文献1に記載された処理方法がある。
【先行技術文献】
【特許文献】
【0003】
特開2019-36658号公報
【発明の概要】
【発明が解決しようとする課題】
【0004】
本開示は、プラズマの電位を制御する技術を提供する。
【課題を解決するための手段】
【0005】
本開示の一つの例示的実施形態において、プラズマ処理装置において基板をプラズマ処理するプラズマ処理方法が提供される。前記プラズマ処理装置は、チャンバと、前記チャンバ内に設けられ、基板支持部前記基板を支持するように構成された基板支持部と、前記チャンバ内において前記基板支持部に対向して設けられた上部電極と、を備え、前記プラズマ処理方法は、前記基板支持部に基板を配置する工程と、前記基板を処理するための処理ガスを前記チャンバ内に供給する工程と、前記上部電極又は前記基板支持部に高周波を供給して前記チャンバ内に前記処理ガスのプラズマを生成する工程と、前記高周波が供給されている期間において、前記上部電極又は前記基板支持部に第1のパルス電圧を第1の周期で周期的に印加する第1の印加工程と、前記高周波が供給されている期間において、第1のパルス電圧前記上部電極又は前記基板支持部に第2のパルス電圧を前記第1の周期の整数分の1である第2の周期で周期的に印加する第2の印加工程とを含む。
【0006】
本開示の一つの例示的実施形態において、プラズマ処理装置が提供される。前記プラズマ処理装置は、チャンバと、前記チャンバ内に設けられ、前記基板を支持するように構成された、基板支持部と、前記チャンバ内において前記基板支持部に対向して設けられた上部電極、制御部とを備え、前記制御部は、前記基板支持部に基板を配置し、前記基板を処理するための処理ガスを前記チャンバ内に供給し、前記上部電極又は前記基板支持部に高周波を供給して前記チャンバ内に前記処理ガスのプラズマを生成し、前記高周波が供給されている期間において、前記上部電極又は前記基板支持部に第1のパルス電圧を第1の周期で周期的に印加し、前記高周波が供給されている期間において、前記上部電極又は前記基板支持部に第2のパルス電圧を前記第1の周期の整数分の1である第2の周期で周期的に印加する制御を実行する。
【発明の効果】
【0007】
本開示の一実施形態によれば、プラズマの電位を制御できるプラズマ処理方法及びプラズマ処理装置を提供することができる。
【図面の簡単な説明】
【0008】
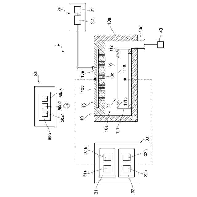
一つの例示的実施形態に係る基板処理装置1を概略的に示す図である。
基板処理装置1に含まれる基板支持部11の部分拡大図である。
一つの例示的実施形態に係る基板処理方法を示すフローチャートである。
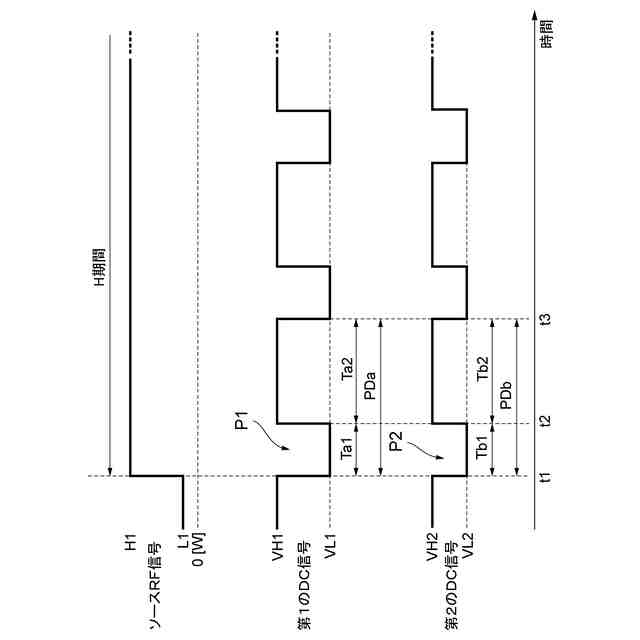
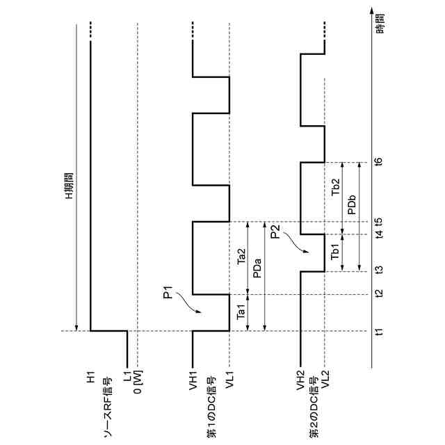
ソースRF信号、第1のDC信号及び第2のDC信号が供給又は印加及び停止される期間を示すタイミングチャートである。
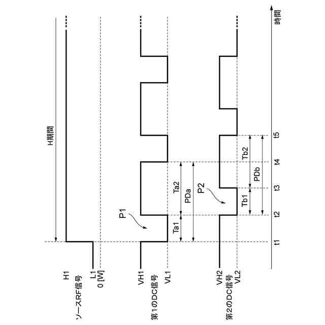
第1のパルス電圧及び第2のパルス電圧が周期的に印加されるタイミングの一例を示すタイミングチャートである。
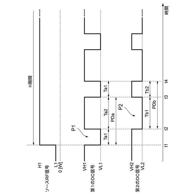
第1のパルス電圧及び第2のパルス電圧が周期的に印加されるタイミングの一例を示すタイミングチャートである。
第1のパルス電圧及び第2のパルス電圧が周期的に印加されるタイミングの一例を示すタイミングチャートである。
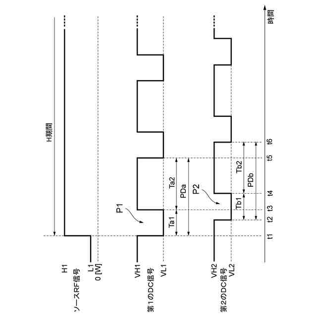
第1のパルス電圧及び第2のパルス電圧が周期的に印加されるタイミングの一例を示すタイミングチャートである。
第1のパルス電圧及び第2のパルス電圧が周期的に印加されるタイミングの一例を示すタイミングチャートである。
第1のパルス電圧及び第2のパルス電圧が周期的に印加されるタイミングの一例を示すタイミングチャートである。
第1のパルス電圧及び第2のパルス電圧が周期的に印加されるタイミングの一例を示すタイミングチャートである。
【発明を実施するための形態】
【0009】
以下、本開示の各実施形態について説明する。
【0010】
1つの例示的実施形態において、プラズマ処理装置において基板をプラズマ処理するプラズマ処理方法が提供される。プラズマ処理装置は、チャンバと、チャンバ内に設けられ、基板を支持するように構成された基板支持部と、チャンバ内において基板支持部に対向して設けられた上部電極と、を備え、プラズマ処理方法は、基板支持部に基板を配置する工程と、基板を処理するための処理ガスをチャンバ内に供給する工程と、上部電極又は基板支持部に高周波を供給してチャンバ内に処理ガスのプラズマを生成する工程と、高周波が供給されている期間において、基板支持部に第1のパルス電圧を第1の周期で周期的に印加する第1の印加工程と、高周波が供給されている期間において、第1のパルス電圧の印加に同期させて、上部電極に第2のパルス電圧を第1の周期の整数分の1である第2の周期で周期的に印加する第2の印加工程と、を含む。
(【0011】以降は省略されています)
この特許をJ-PlatPat(特許庁公式サイト)で参照する
関連特許
東ソー株式会社
絶縁電線
1か月前
APB株式会社
蓄電セル
1か月前
個人
フレキシブル電気化学素子
1か月前
株式会社ユーシン
操作装置
1か月前
株式会社東芝
端子台
24日前
日新イオン機器株式会社
イオン源
1か月前
ローム株式会社
半導体装置
1か月前
マクセル株式会社
電源装置
24日前
富士電機株式会社
電磁接触器
3日前
株式会社GSユアサ
蓄電装置
17日前
三菱電機株式会社
回路遮断器
11日前
株式会社GSユアサ
蓄電設備
1か月前
株式会社GSユアサ
蓄電装置
25日前
株式会社GSユアサ
蓄電設備
1か月前
株式会社ホロン
冷陰極電子源
1か月前
株式会社GSユアサ
蓄電装置
25日前
太陽誘電株式会社
コイル部品
1か月前
株式会社GSユアサ
蓄電装置
3日前
トヨタ自動車株式会社
バッテリ
1か月前
トヨタ自動車株式会社
冷却構造
1か月前
ノリタケ株式会社
熱伝導シート
1か月前
トヨタ自動車株式会社
蓄電装置
25日前
サクサ株式会社
電池の固定構造
1か月前
日本特殊陶業株式会社
保持装置
1か月前
日新イオン機器株式会社
基板処理装置
27日前
北道電設株式会社
配電具カバー
1か月前
トヨタ自動車株式会社
蓄電装置
1か月前
日本特殊陶業株式会社
保持装置
16日前
住友電装株式会社
コネクタ
1か月前
株式会社レゾナック
冷却器
11日前
株式会社トクヤマ
シリコンエッチング液
1か月前
ヒロセ電機株式会社
電気コネクタ
3日前
ローム株式会社
半導体装置
1か月前
トヨタ自動車株式会社
電池パック
1か月前
日本無線株式会社
レーダアンテナ
18日前
株式会社デンソー
電子装置
27日前
続きを見る
他の特許を見る