TOP
|
特許
|
意匠
|
商標
特許ウォッチ
Twitter
他の特許を見る
10個以上の画像は省略されています。
公開番号
2025172174
公報種別
公開特許公報(A)
公開日
2025-11-20
出願番号
2025153943,2024129764
出願日
2025-09-17,2020-12-17
発明の名称
基板処理方法及び基板処理システム
出願人
東京エレクトロン株式会社
代理人
個人
,
個人
,
個人
,
個人
,
個人
,
個人
主分類
H01L
21/027 20060101AFI20251113BHJP(基本的電気素子)
要約
【課題】金属含有塗布膜の現像処理時に生じる基板表面の残渣物の量を低減させる。
【解決手段】基板の処理方法であって、金属含有塗布膜が所定のパターンに露光された前記基板を現像する工程と、現像後に前記基板を洗浄する工程と、洗浄された前記基板に波長が190~400nmの紫外線を照射する工程と、前記紫外線を照射する工程の後に、前記基板に有機溶剤を含むパターン洗浄液を供給する工程と、を備える。
【選択図】図8
特許請求の範囲
【請求項1】
基板の処理方法であって、
金属含有塗布膜が所定のパターンに露光された前記基板を現像する工程と、
現像後に前記基板を洗浄する工程と、
洗浄された前記基板に波長が190~400nmの紫外線を照射する工程と、
前記紫外線を照射する工程の後に、前記基板に有機溶剤を含むパターン洗浄液を供給する工程と、を備える、基板処理方法。
続きを表示(約 360 文字)
【請求項2】
基板の処理を行う基板処理システムであって、
前記基板を現像する現像部と、
前記基板を洗浄する洗浄部と、
前記現像部及び前記洗浄部の動作を制御する制御部と、
前記基板に波長が190~400nmの紫外線を照射する紫外線照射部と、
前記基板にパターン洗浄液を供給するパターン洗浄液供給部と、を備え、
前記制御部は、
金属含有塗布膜が所定のパターンに露光された前記基板を現像する工程と、
現像後に前記基板を洗浄する工程と、
洗浄された前記基板に波長が190~400nmの紫外線を照射する工程と、
前記紫外線を照射する工程の後に、前記基板に有機溶剤を含むパターン洗浄液を供給する工程と、を行うように構成された、基板処理システム。
発明の詳細な説明
【技術分野】
【0001】
本開示は、基板処理方法及び基板処理システムに関する。
続きを表示(約 1,600 文字)
【背景技術】
【0002】
特許文献1は、基板の表面に金属を含有するレジストを塗布してレジスト膜を形成し、当該レジスト膜を露光する工程と、前記基板の表面に現像液を供給して前記レジスト膜を現像する現像工程と、前記現像工程の前において、前記レジスト膜が形成されていない基板の周縁部であって、少なくとも周端面及び裏面側周縁部に前記現像液に接することを防ぐ第1の保護膜を形成する工程と、を含むことを特徴とする塗布、現像方法を開示している。
【先行技術文献】
【特許文献】
【0003】
特開2019-047131号公報
【発明の概要】
【発明が解決しようとする課題】
【0004】
本開示にかかる技術は、金属含有塗布膜の現像処理時に生じる基板表面の残渣物の量を低減させる。
【課題を解決するための手段】
【0005】
本開示の一態様は、基板の処理方法であって、金属含有塗布膜が所定のパターンに露光された前記基板を現像する工程と、現像後に前記基板を洗浄する工程と、洗浄された前記基板に波長が190~400nmの紫外線を照射する工程と、前記紫外線を照射する工程の後に、前記基板に有機溶剤を含むパターン洗浄液を供給する工程と、を備える。
【発明の効果】
【0006】
本開示によれば、金属含有塗布膜の現像処理時に生じる基板表面の残渣物の量を低減させることができる。
【図面の簡単な説明】
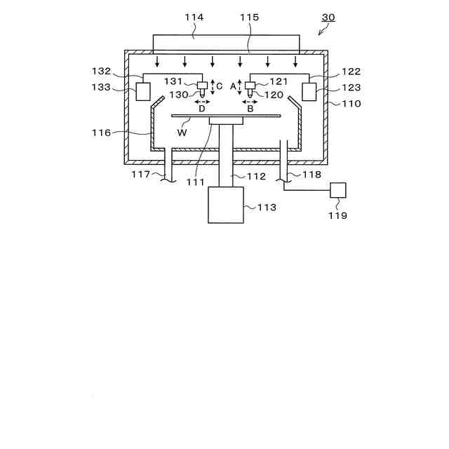
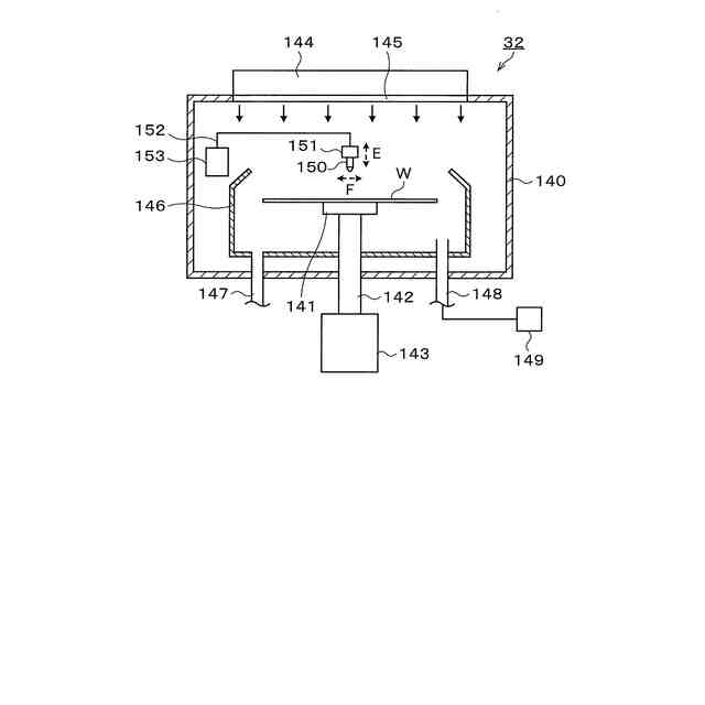
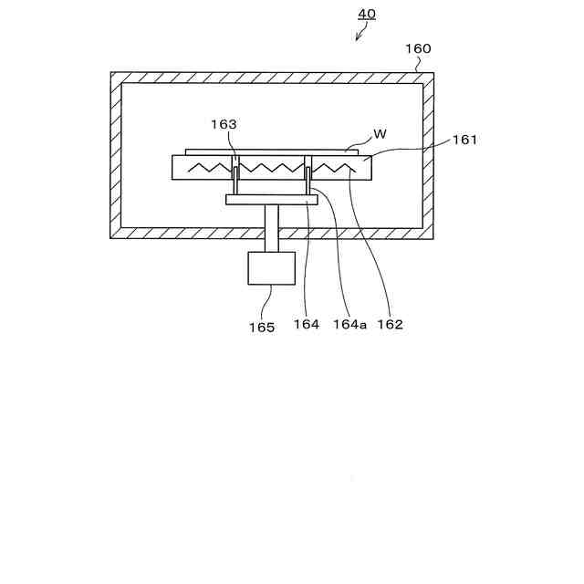
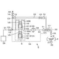
【0007】
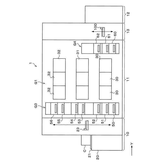
実施の形態にかかる基板処理システムの構成の概略を模式的に示す平面図である。
図1の基板処理システムの構成の概略を模式的に示す正面図である。
図1の基板処理システムの構成の概略を模式的に示す背面図である。
実施の形態にかかる現像液供給装置の構成の概略を模式的に示す側面断面図である。
実施の形態にかかる洗浄液供給装置の構成の概略を模式的に示す側面断面図である。
実施の形態にかかる熱処理装置の構成の概略を模式的に示す側面断面図である。
実施の形態にかかる紫外線照射装置の構成の概略を模式的に示す側面断面図である。
実施の形態にかかる基板処理方法における基板上の金属含有塗布膜の状態を示す説明図である。
露光部と未露光部の金属含有塗布膜の状態を示す説明図である。
【発明を実施するための形態】
【0008】
半導体装置の製造プロセスにおいては、半導体ウェハ(以下、「ウェハ」と記載する)へのレジスト塗布によるレジスト膜の形成と、レジスト膜の露光と、露光後のレジスト膜の現像によるレジストパターンの形成からなるフォトリソグラフィ工程が行われる。近年は、そのフォトリソグラフィ工程において、より微細なレジストパターンを形成するために金属を含有するレジスト液を用いることが検討されている。
【0009】
しかしながら、所定のパターンに露光された金属含有レジスト膜の現像処理においては、現像液で十分に溶解されなかったレジスト溶解物がウェハ上に残渣物として残存しやすく、このような残渣物が、その後のエッチング工程におけるパターン欠陥の原因となっていた。特に、金属含有レジスト膜は、未露光部においても露光部との境界で金属原子と酸素原子の重合反応が少しずつ進行しやすく、この重合反応部が現像液に対して難溶であるために、ウェハ上に残渣物が残存しやすい。従来の現像方法では、そのような残渣物を除去することが困難であったことから、金属含有レジスト液を用いた半導体の量産化が困難であった。
【0010】
そこで、本開示にかかる技術は、金属含有塗布膜の現像処理時に生じる基板表面の残渣物の量を低減させる。
(【0011】以降は省略されています)
この特許をJ-PlatPat(特許庁公式サイト)で参照する
関連特許
東京エレクトロン株式会社
基板処理装置
4日前
東京エレクトロン株式会社
成膜方法及び成膜装置
3日前
東京エレクトロン株式会社
熱処理装置及び熱処理方法
3日前
東京エレクトロン株式会社
基板処理装置及び静電チャック
3日前
東京エレクトロン株式会社
液処理装置、液処理方法及び記憶媒体
3日前
東京エレクトロン株式会社
ハイブリッド接合を用いてダイを積層するためのパッド及びその方法
4日前
東京エレクトロン株式会社
基板処理装置、およびコイルの周囲にフェライトシールド部を設ける方法
3日前
東京エレクトロン株式会社
基板処理方法及び基板処理システム
3日前
東京エレクトロン株式会社
プラズマ処理方法およびプラズマ処理装置
3日前
APB株式会社
蓄電セル
1か月前
東ソー株式会社
絶縁電線
1か月前
個人
フレキシブル電気化学素子
1か月前
日新イオン機器株式会社
イオン源
1か月前
ローム株式会社
半導体装置
1か月前
ローム株式会社
半導体装置
1か月前
株式会社東芝
端子台
24日前
株式会社ユーシン
操作装置
1か月前
マクセル株式会社
電源装置
24日前
株式会社GSユアサ
蓄電装置
25日前
株式会社GSユアサ
蓄電設備
1か月前
富士電機株式会社
電磁接触器
3日前
株式会社GSユアサ
蓄電装置
3日前
太陽誘電株式会社
コイル部品
1か月前
三菱電機株式会社
回路遮断器
11日前
株式会社GSユアサ
蓄電装置
17日前
株式会社GSユアサ
蓄電設備
1か月前
オムロン株式会社
電磁継電器
1か月前
株式会社GSユアサ
蓄電装置
25日前
株式会社ホロン
冷陰極電子源
1か月前
トヨタ自動車株式会社
冷却構造
1か月前
北道電設株式会社
配電具カバー
1か月前
日本特殊陶業株式会社
保持装置
1か月前
ノリタケ株式会社
熱伝導シート
1か月前
トヨタ自動車株式会社
蓄電装置
25日前
トヨタ自動車株式会社
バッテリ
1か月前
トヨタ自動車株式会社
バッテリ
1か月前
続きを見る
他の特許を見る