TOP
|
特許
|
意匠
|
商標
特許ウォッチ
Twitter
他の特許を見る
10個以上の画像は省略されています。
公開番号
2025171836
公報種別
公開特許公報(A)
公開日
2025-11-20
出願番号
2024077551
出願日
2024-05-10
発明の名称
成膜方法及び成膜装置
出願人
東京エレクトロン株式会社
代理人
個人
,
個人
主分類
H01L
21/318 20060101AFI20251113BHJP(基本的電気素子)
要約
【課題】シリコン窒化膜で凹部を埋め込む際のシームの発生を低減できる技術を提供する。
【解決手段】本開示の一態様による成膜方法は、(a)表面に凹部を有する基板を準備する工程と、(b)前記凹部にシリコン窒化膜を成膜する工程と、(c)前記凹部にアモルファスシリコン膜を成膜する工程と、(d)前記アモルファスシリコン膜を除去する工程と、(e)前記工程(d)の後に前記凹部をシリコン窒化膜で埋め込む工程と、を有し、前記アモルファスシリコン膜は、前記シリコン窒化膜よりもステップカバレッジが低くなるように成膜され、前記工程(c)は、前記工程(b)の途中で1回以上行われる。
【選択図】図10
特許請求の範囲
【請求項1】
(a)表面に凹部を有する基板を準備する工程と、
(b)前記凹部にシリコン窒化膜を成膜する工程と、
(c)前記凹部にアモルファスシリコン膜を成膜する工程と、
(d)前記アモルファスシリコン膜を除去する工程と、
(e)前記工程(d)の後に前記凹部をシリコン窒化膜で埋め込む工程と、
を有し、
前記アモルファスシリコン膜は、前記シリコン窒化膜よりもステップカバレッジが低くなるように成膜され、
前記工程(c)は、前記工程(b)の途中で1回以上行われる、
成膜方法。
続きを表示(約 810 文字)
【請求項2】
前記工程(c)は、前記工程(b)の途中で2回以上行われる、
請求項1に記載の成膜方法。
【請求項3】
前記工程(c)は、前記工程(b)において前記アモルファスシリコン膜の上に前記シリコン窒化膜が成膜される前に開始される、
請求項2に記載の成膜方法。
【請求項4】
前記工程(b)は、前記基板に第1シリコン含有ガスと窒化ガスとを交互に供給することを含む、
請求項1に記載の成膜方法。
【請求項5】
前記工程(c)は、前記凹部の底面の上に形成された前記シリコン窒化膜の上に前記アモルファスシリコン膜が成膜される前に停止する、
請求項1に記載の成膜方法。
【請求項6】
前記工程(c)は、前記基板に第2シリコン含有ガスと不純物含有ガスとを同時に供給することを含む、
請求項1に記載の成膜方法。
【請求項7】
前記工程(c)は、前記同時に供給することの後に、前記基板に前記第2シリコン含有ガスを供給することなく前記不純物含有ガスを供給することを含む、
請求項6に記載の成膜方法。
【請求項8】
前記不純物含有ガスは、酸素又はリンを含有するガスである、
請求項7に記載の成膜方法。
【請求項9】
前記工程(d)は、前記基板にエッチングガスを供給することを含み、
前記エッチングガスは、前記アモルファスシリコン膜をエッチングする速度が前記シリコン窒化膜をエッチングする速度よりも大きいガスである、
請求項1乃至8のいずれか一項に記載の成膜方法。
【請求項10】
前記エッチングガスは、塩素(Cl
2
)である、
請求項9に記載の成膜方法。
(【請求項11】以降は省略されています)
発明の詳細な説明
【技術分野】
【0001】
本開示は、成膜方法及び成膜装置に関する。
続きを表示(約 1,300 文字)
【背景技術】
【0002】
基板の表面に形成されたトレンチ内にシリコン窒化膜を埋め込む技術が開示されている(例えば、特許文献1参照)。
【先行技術文献】
【特許文献】
【0003】
特開2017-139306号公報
【発明の概要】
【発明が解決しようとする課題】
【0004】
本開示は、シリコン窒化膜で凹部を埋め込む際のシームの発生を低減できる技術を提供する。
【課題を解決するための手段】
【0005】
本開示の一態様による成膜方法は、(a)表面に凹部を有する基板を準備する工程と、(b)前記凹部にシリコン窒化膜を成膜する工程と、(c)前記凹部にアモルファスシリコン膜を成膜する工程と、(d)前記アモルファスシリコン膜を除去する工程と、(e)前記工程(d)の後に前記凹部をシリコン窒化膜で埋め込む工程と、を有し、前記アモルファスシリコン膜は、前記シリコン窒化膜よりもステップカバレッジが低くなるように成膜され、前記工程(c)は、前記工程(b)の途中で1回以上行われる。
【発明の効果】
【0006】
本開示によれば、シリコン窒化膜で凹部を埋め込む際のシームの発生を低減できる。
【図面の簡単な説明】
【0007】
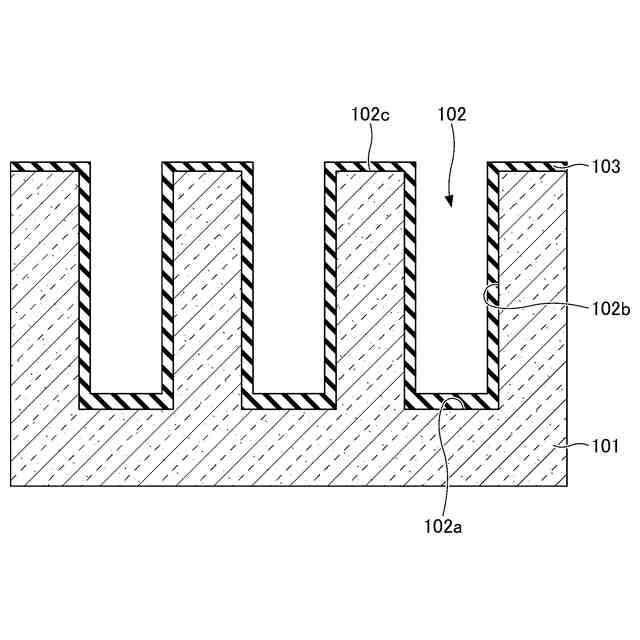
実施形態に係る成膜方法を示す断面図(1)である。
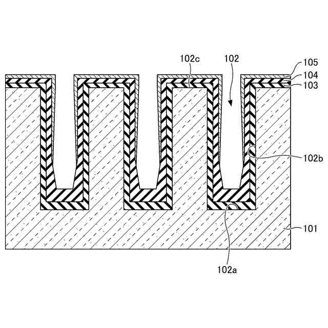
実施形態に係る成膜方法を示す断面図(2)である。
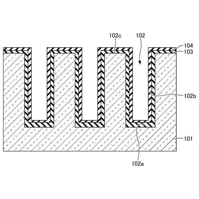
実施形態に係る成膜方法を示す断面図(3)である。
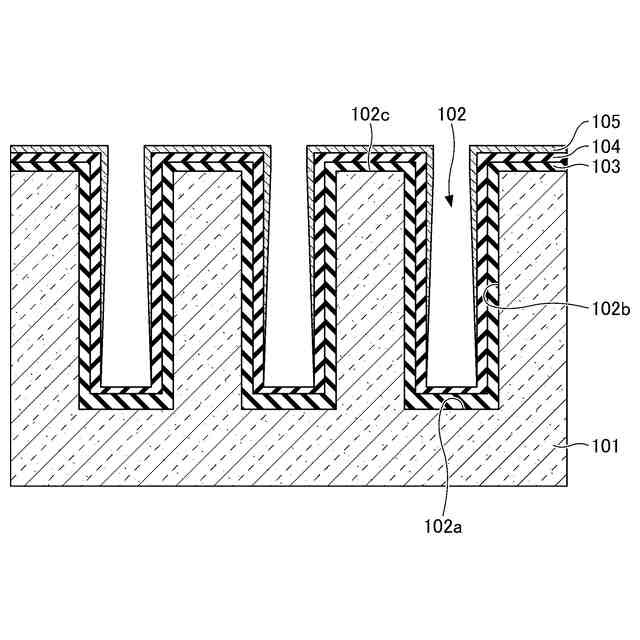
実施形態に係る成膜方法を示す断面図(4)である。
実施形態に係る成膜方法を示す断面図(5)である。
実施形態に係る成膜方法を示す断面図(6)である。
実施形態に係る成膜方法を示す断面図(7)である。
実施形態に係る成膜方法を示す断面図(8)である。
ALDのサイクル数とシリコン窒化膜の厚さとの関係の一例を示す図である。
実施形態に係る成膜装置を示す鉛直断面図である。
実施形態に係る成膜装置を示す水平断面図である。
【発明を実施するための形態】
【0008】
以下、添付の図面を参照しながら、本開示の限定的でない例示の実施形態について説明する。添付の全図面中、同一又は対応する部材又は部品については、同一又は対応する参照符号を付し、重複する説明を省略する。
【0009】
〔成膜方法〕
図1から図9を参照し、実施形態に係る成膜方法について説明する。図1から図8は、実施形態に係る成膜方法を示す断面図である。
【0010】
まず、図1に示されるように、基板101を準備する。基板101は、例えばシリコン基板等の半導体基板である。基板101は、表面に凹部102を有する。凹部102は、底面102aと、内側面102bと、上面102cとを含む。凹部102は、例えばトレンチである。凹部102は、ホールであってもよい。基板101の表面には、絶縁膜103が設けられてもよい。絶縁膜103は、底面102aと、内側面102bと、上面102cとを覆う。絶縁膜103は、例えばシリコン酸化膜である。
(【0011】以降は省略されています)
この特許をJ-PlatPat(特許庁公式サイト)で参照する
関連特許
東ソー株式会社
絶縁電線
1か月前
APB株式会社
蓄電セル
1か月前
個人
フレキシブル電気化学素子
1か月前
株式会社ユーシン
操作装置
1か月前
ローム株式会社
半導体装置
1か月前
日新イオン機器株式会社
イオン源
1か月前
マクセル株式会社
電源装置
24日前
株式会社東芝
端子台
24日前
株式会社GSユアサ
蓄電装置
17日前
株式会社GSユアサ
蓄電装置
25日前
株式会社GSユアサ
蓄電装置
3日前
株式会社ホロン
冷陰極電子源
1か月前
株式会社GSユアサ
蓄電装置
25日前
株式会社GSユアサ
蓄電設備
1か月前
太陽誘電株式会社
コイル部品
1か月前
オムロン株式会社
電磁継電器
1か月前
富士電機株式会社
電磁接触器
3日前
三菱電機株式会社
回路遮断器
11日前
株式会社GSユアサ
蓄電設備
1か月前
トヨタ自動車株式会社
蓄電装置
25日前
ノリタケ株式会社
熱伝導シート
1か月前
トヨタ自動車株式会社
バッテリ
1か月前
トヨタ自動車株式会社
蓄電装置
1か月前
日新イオン機器株式会社
基板処理装置
27日前
日本特殊陶業株式会社
保持装置
1か月前
サクサ株式会社
電池の固定構造
1か月前
トヨタ自動車株式会社
冷却構造
1か月前
日東電工株式会社
積層体
1か月前
北道電設株式会社
配電具カバー
1か月前
トヨタ自動車株式会社
バッテリ
1か月前
日本特殊陶業株式会社
保持装置
16日前
甲神電機株式会社
変流器及び零相変流器
18日前
東レエンジニアリング株式会社
実装装置
1か月前
トヨタ自動車株式会社
電池パック
1か月前
ヒロセ電機株式会社
電気コネクタ
3日前
日本製紙株式会社
導電性フィルム
1か月前
続きを見る
他の特許を見る