TOP
|
特許
|
意匠
|
商標
特許ウォッチ
Twitter
他の特許を見る
10個以上の画像は省略されています。
公開番号
2025171768
公報種別
公開特許公報(A)
公開日
2025-11-20
出願番号
2024077422
出願日
2024-05-10
発明の名称
基板処理装置、およびコイルの周囲にフェライトシールド部を設ける方法
出願人
東京エレクトロン株式会社
代理人
個人
,
個人
主分類
H01L
21/683 20060101AFI20251113BHJP(基本的電気素子)
要約
【課題】非接触給電の効率を損なわずに磁束漏洩を効果的に防止する。
【解決手段】基板処理装置は、基板を保持する回転ステージと、回転ステージを回転軸線回りに回転させる回転駆動部と、 回転ステージに設けられた少なくとも1つの電気ヒータと、回転ステージに設けられ電気ヒータに電気的に接続された少なくとも1つの受電コイルと、受電コイルに対して隙間を空けて回転軸線の方向に対面するように設置された少なくとも1つの給電コイルと、給電コイルに高周波電力を供給する高周波電源ユニットと、受電コイルの周囲に設けられた受電側フェライトシールド部と、給電コイルの周囲に設けられた給電側フェライトシールド部とを備え、受電側フェライトシールド部は受電コイルを包囲するように設けられかつ給電コイル側が開放されており、給電側フェライトシールド部は給電コイルを包囲するように設けられかつ受電コイル側が開放されている。
【選択図】図4
特許請求の範囲
【請求項1】
基板を保持する回転ステージと、
前記回転ステージを回転軸線回りに回転させる回転駆動部と、
前記回転ステージに設けられた少なくとも1つの電気ヒータと、
前記回転ステージに設けられ、前記電気ヒータに電気的に接続された少なくとも1つの受電コイルと、
前記受電コイルに対して隙間を空けて前記回転軸線の方向に対面するように設置された少なくとも1つの給電コイルと、
前記給電コイルに高周波電力を供給する高周波電源ユニットと、
前記受電コイルの周囲に設けられた受電側フェライトシールド部と、
前記給電コイルの周囲に設けられた給電側フェライトシールド部と、
を備え、
前記受電側フェライトシールド部は、前記受電コイルを包囲するように設けられるとともに前記給電コイル側が開放されており、
前記給電側フェライトシールド部は、前記給電コイルを包囲するように設けられるとともに前記受電コイル側が開放されている、基板処理装置。
続きを表示(約 930 文字)
【請求項2】
前記受電側フェライトシールド部および給電側フェライトシールド部の少なくとも一方は、母材上に設けられたライニングからなり、前記ライニングは、有機材料からなるバインダーと、前記バインダー中に分散させたフェライト粒子とを含む、請求項1に記載の基板処理装置。
【請求項3】
前記ライニングは前記母材上に塗布された塗膜であり、前記塗膜の中に前記フェライト粒子が分散している、請求項2に記載の基板処理装置。
【請求項4】
前記ライニングは前記母材上に貼り付けられたシート材からなり、前記シート材の中に前記フェライト粒子が分散している、請求項2に記載の基板処理装置。
【請求項5】
前記ライニングの表面がフッ素樹脂によりコーティングされている、請求項2に記載の基板処理装置。
【請求項6】
前記フッ素樹脂は、PFA(テトラフルオロエチレン・パーフルオロアルキルビニルエーテル共重合体)、PTFE(ポリテトラフルオロエチレン)またはFEP(テトラフルオロエチレン・ヘキサフルオロプロピレン共重合体)のいずれかである、請求項5に記載の基板処理装置。
【請求項7】
前記ライニングは、10~60重量%のフェライト粒子を含み、残部が有機バインダーとしてのウレタンである、請求項2に記載の基板処理装置。
【請求項8】
前記母材は、金属材料または樹脂材料からなる、請求項2に記載の基板処理装置。
【請求項9】
前記母材は金属材料からなり、前記金属材料はステンレス鋼、アルミニウム合金またはチタニウム合金である、請求項2に記載の基板処理装置。
【請求項10】
前記母材は樹脂材料からなり、前記樹脂材料は、PVC(ポリ塩化ビニル)、PP(ポリプロピレン)、PEEK(ポリエーテルエーテルケトン)、POM(ポリアセタール)、PA(ポリアミド)、PBT(ポリブチレンテレフタレート)、PC(ポリカーボネート)およびPPE(ポリフェニレンエーテル)からなる群から選択された材料である、請求項2に記載の基板処理装置。
(【請求項11】以降は省略されています)
発明の詳細な説明
【技術分野】
【0001】
本開示は、基板処理装置およびコイルの周囲にフェライトシールド部を設ける方法に関する。
続きを表示(約 1,600 文字)
【背景技術】
【0002】
半導体装置の製造工程には、基板を加熱し、且つ回転させた状態で基板の表面に薬液を供給することによって基板の表面をエッチングするエッチング工程が含まれる。この工程において、基板を十分に加熱しつつ高回転で回転させるニーズがあり、そのために構成された基板処理装置が特許文献1に開示されている。この基板処理装置は、基板を保持する回転ステージに設けられた電気ヒータおよび受電コイルと、受電コイルに対してギャップを開けて対面する非回転の給電コイルとを有している。高周波電源ユニットが給電コイルに高周波電力を供給し、電磁誘導により受電コイルに電流が流れ、これにより電気ヒータに給電が行われる。
【0003】
基板上に既に形成されている回路素子の破損、受電コイルの下方にある電気デバイスへの悪影響を防止するため、受電コイルの上および給電コイルの下に電磁シールドとしてのフェライトプレートが設けられている。径方向に隣接するコイル間における電磁気的な相互干渉を防止するために、径方向に隣接するコイル間にフェライトリングが設けられている。
【先行技術文献】
【特許文献】
【0004】
特開2021-064770号公報
【発明の概要】
【発明が解決しようとする課題】
【0005】
本開示は、非接触給電の効率を損なわずに磁束漏洩を効果的に防止しうる技術を提供する提供するものである。
【課題を解決するための手段】
【0006】
本開示の一実施形態によれば、基板を保持する回転ステージと、前記回転ステージを回転軸線回りに回転させる回転駆動部と、前記回転ステージに設けられた少なくとも1つの電気ヒータと、前記回転ステージに設けられ、前記電気ヒータに電気的に接続された少なくとも1つの受電コイルと、前記受電コイルに対して隙間を空けて前記回転軸線の方向に対面するように設置された少なくとも1つの給電コイルと、前記給電コイルに高周波電力を供給する高周波電源ユニットと、前記受電コイルの周囲に設けられた受電側フェライトシールド部と、前記給電コイルの周囲に設けられた給電側フェライトシールド部と、を備え、前記受電側フェライトシールド部は、前記受電コイルを包囲するように設けられるとともに前記給電コイル側が開放されており、前記給電側フェライトシールド部は、前記給電コイルを包囲するように設けられるとともに前記受電コイル側が開放されている、基板処理装置が提供される。
【発明の効果】
【0007】
本開示の上記実施形態によれば、非接触給電の効率を損なわずに磁束漏洩を効果的に防止することができる。
【図面の簡単な説明】
【0008】
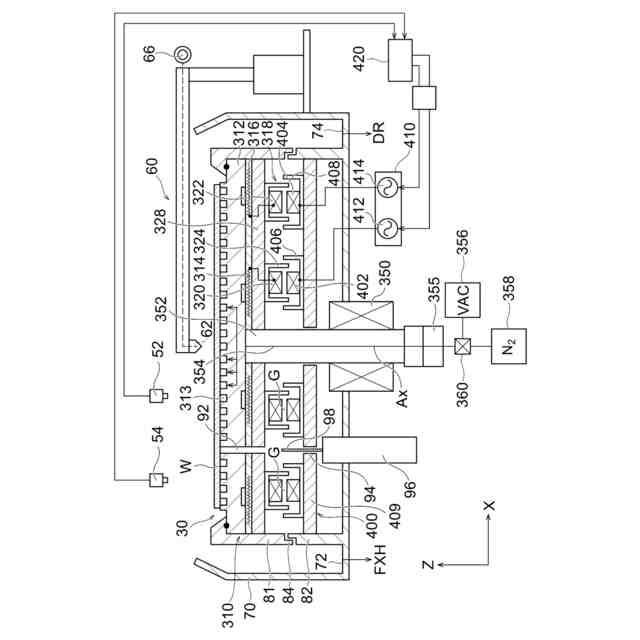
基板処理装置の一実施形態に係る基板処理システムの概略横断面図である。
図1の基板処理システムに設けられた処理ユニットの概略縦断面図である。
図2の処理ユニットのチャックプレートに設定される加熱ゾーンについて説明する平面図である。
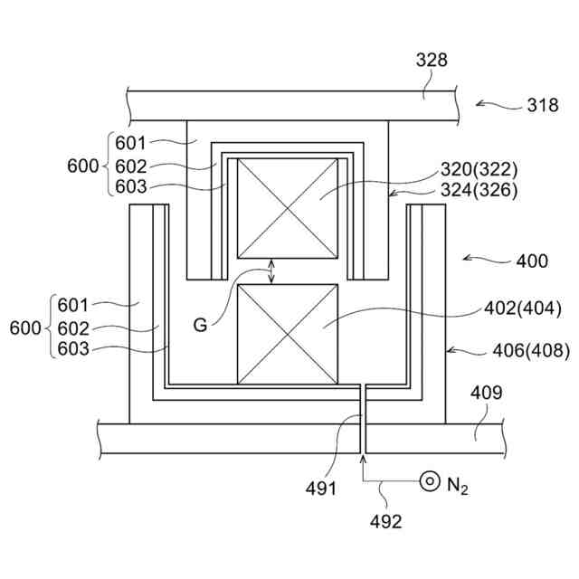
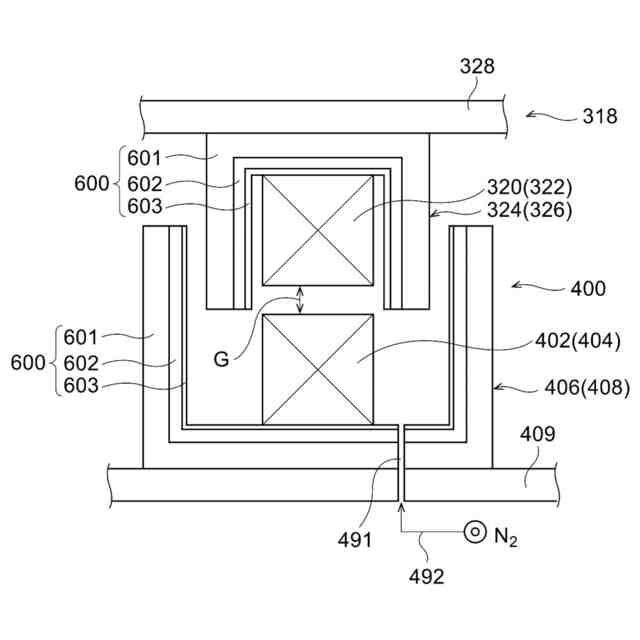
回転テーブルの回転軸線を通る鉛直面で切断した受電アセンブリおよび給電アセンブリの概略縦断面図である。
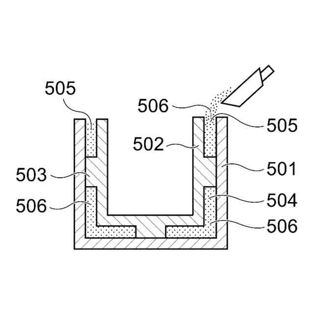
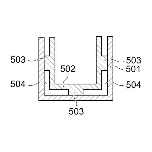
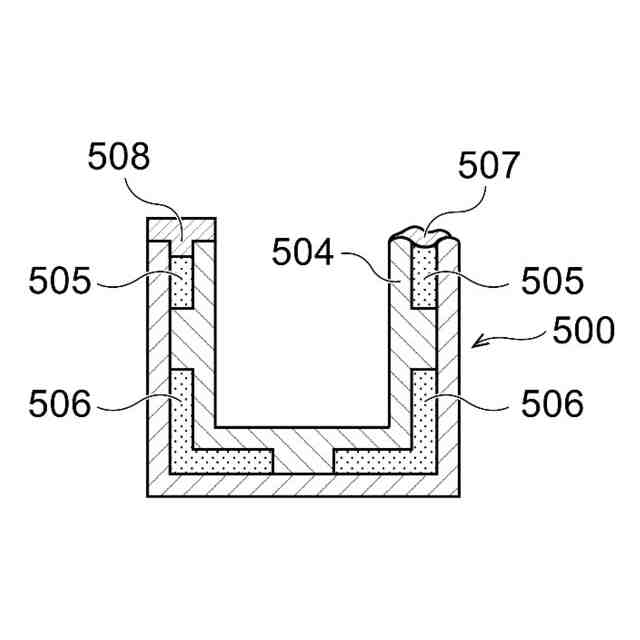
粉末充填法によってフェライトシールド部を設ける方法を説明する概略断面図であって、シールド部材を回転テーブルの回転軸線を通る鉛直面で切断した概略断面図である。
シールド部材の他の構成例を示す概略縦断面図である。
【発明を実施するための形態】
【0009】
基板処理装置の一実施形態を、添付図面を参照して説明する。
【0010】
図1は、本実施形態に係る基板処理システムの概略構成を示す図である。以下では、位置関係を明確にするために、互いに直交するX軸、Y軸およびZ軸を規定し、Z軸正方向を鉛直上向き方向とする。
(【0011】以降は省略されています)
この特許をJ-PlatPat(特許庁公式サイト)で参照する
関連特許
APB株式会社
蓄電セル
1か月前
東ソー株式会社
絶縁電線
1か月前
個人
フレキシブル電気化学素子
1か月前
株式会社東芝
端子台
24日前
株式会社ユーシン
操作装置
1か月前
ローム株式会社
半導体装置
1か月前
マクセル株式会社
電源装置
24日前
日新イオン機器株式会社
イオン源
1か月前
富士電機株式会社
電磁接触器
3日前
株式会社GSユアサ
蓄電装置
25日前
株式会社GSユアサ
蓄電装置
3日前
株式会社ホロン
冷陰極電子源
1か月前
三菱電機株式会社
回路遮断器
11日前
太陽誘電株式会社
コイル部品
1か月前
オムロン株式会社
電磁継電器
1か月前
株式会社GSユアサ
蓄電装置
17日前
株式会社GSユアサ
蓄電設備
1か月前
株式会社GSユアサ
蓄電設備
1か月前
株式会社GSユアサ
蓄電装置
25日前
日本特殊陶業株式会社
保持装置
1か月前
日東電工株式会社
積層体
1か月前
日新イオン機器株式会社
基板処理装置
27日前
日本特殊陶業株式会社
保持装置
16日前
トヨタ自動車株式会社
バッテリ
1か月前
北道電設株式会社
配電具カバー
1か月前
サクサ株式会社
電池の固定構造
1か月前
トヨタ自動車株式会社
蓄電装置
1か月前
トヨタ自動車株式会社
冷却構造
1か月前
トヨタ自動車株式会社
蓄電装置
25日前
ノリタケ株式会社
熱伝導シート
1か月前
株式会社トクヤマ
シリコンエッチング液
1か月前
ヒロセ電機株式会社
電気コネクタ
3日前
日本無線株式会社
レーダアンテナ
18日前
住友電装株式会社
コネクタ
1か月前
矢崎総業株式会社
コネクタ
3日前
株式会社レゾナック
冷却器
11日前
続きを見る
他の特許を見る