TOP
|
特許
|
意匠
|
商標
特許ウォッチ
Twitter
他の特許を見る
10個以上の画像は省略されています。
公開番号
2025164370
公報種別
公開特許公報(A)
公開日
2025-10-30
出願番号
2024068305
出願日
2024-04-19
発明の名称
改質方法および改質システム
出願人
東京エレクトロン株式会社
代理人
弁理士法人酒井国際特許事務所
主分類
C23C
8/64 20060101AFI20251023BHJP(金属質材料への被覆;金属質材料による材料への被覆;化学的表面処理;金属質材料の拡散処理;真空蒸着,スパッタリング,イオン注入法,または化学蒸着による被覆一般;金属質材料の防食または鉱皮の抑制一般)
要約
【課題】配線に用いられる金属にボイドが発生することを抑制する。
【解決手段】改質方法は、工程a)と、工程b)と、工程c)とを含む。工程a)では、金属配線が設けられた基板において、成膜装置により、金属配線の表面に炭素含有膜を形成する。工程b)では、アニール装置のチャンバ内に炭素含有膜が形成された基板が搬入される。工程c)では、チャンバ内に酸素含有ガスが供給され、チャンバ内の圧力が大気圧よりも低く、かつ、基板の温度が工程a)における基板の温度よりも高い状態で、炭素含有膜が形成された基板をアニールする。
【選択図】図4
特許請求の範囲
【請求項1】
a)金属配線が設けられた基板において、成膜装置により前記金属配線の表面に炭素含有膜を形成する工程と、
b)アニール装置のチャンバ内に前記炭素含有膜が形成された前記基板を搬入する工程と、
c)前記チャンバ内に酸素含有ガスが供給され、前記チャンバ内の圧力が大気圧よりも低く、かつ、前記基板の温度が前記工程a)における前記基板の温度よりも高い状態で、前記炭素含有膜が形成された前記基板をアニールする工程と、
を含む改質方法。
続きを表示(約 1,000 文字)
【請求項2】
d)前記工程c)の後に実行され、前記チャンバ内に酸素を含まないガスが供給され、チャンバ内の圧力が大気圧よりも低く、かつ、前記基板の温度が前記工程a)における前記基板の温度よりも高い状態で、前記炭素含有膜が形成された前記基板をアニールする工程
をさらに含む請求項1に記載の改質方法。
【請求項3】
e)前記工程c)の後、かつ、前記工程d)の前に実行され、前記炭素含有膜が形成された前記金属配線の表面を、酸素を含まないガスをプラズマ化することにより生成されたプラズマに晒す工程
をさらに含む請求項2に記載の改質方法。
【請求項4】
e)前記工程c)の後、かつ、前記工程d)の前に実行され、前記炭素含有膜が形成された前記金属配線の表面を、酸素含有ガスをプラズマ化することにより生成されたプラズマに晒す工程
をさらに含む請求項2に記載の改質方法。
【請求項5】
前記工程e)における前記チャンバ内の圧力は大気圧より低い圧力である請求項3または4に記載の改質方法。
【請求項6】
前記工程e)における前記チャンバ内の圧力は、0.001Torr以上かつ10Torr以下の範囲内の圧力である請求項5に記載の改質方法。
【請求項7】
d)前記工程c)の後に実行され、前記チャンバ内に酸素含有ガスが供給され、チャンバ内の圧力が大気圧よりも低く、かつ、前記基板の温度が前記工程a)における前記基板の温度よりも高い状態で、前記炭素含有膜が形成された前記基板をアニールする工程
をさらに含み、
前記工程d)において前記チャンバ内に供給される酸素含有ガスの流量は、前記工程c)において前記チャンバ内に供給される酸素含有ガスの流量よりも小さい請求項1に記載の改質方法。
【請求項8】
前記工程d)における前記チャンバ内の圧力は、0.0001Torr以上かつ100Torr以下の範囲内の圧力である請求項7に記載の改質方法。
【請求項9】
前記工程d)における前記基板の温度は、300℃以上かつ1100℃以下の範囲内の温度である請求項7に記載の改質方法。
【請求項10】
f)前記工程c)の後に実行され、前記炭素含有膜が形成された前記金属配線の表面を、酸素含有ガスをプラズマ化することにより生成されたプラズマに晒す工程
をさらに含む請求項1に記載の改質方法。
(【請求項11】以降は省略されています)
発明の詳細な説明
【技術分野】
【0001】
本開示の種々の側面および実施形態は、改質方法および改質システムに関する。
続きを表示(約 2,300 文字)
【背景技術】
【0002】
例えば下記特許文献1には、「プロセスコントローラ23は、第2の熱処理モジュール13dを制御し、ウエハWに対して第3の熱処理を実行する(S105)。具体的には、プロセスコントローラ23は、第2の熱処理モジュール13dのバタフライバルブ42および真空ポンプ43を制御して、チャンバ26内を所定の真空度まで減圧させる。そして、プロセスコントローラ23は、第2のガス供給源28bからのアルゴンガス、および、第3のガス供給源28cからの酸素ガスを、それぞれ所定の流量でシャワープレート38を介してチャンバ26内に供給する。そして、プロセスコントローラ23は、ヒータ電源37を制御して、ウエハWの温度を所定の温度に設定する。これにより、例えば図4(d)に示すように、金属触媒51の表面に付着した余分な炭素が除去される。」ことが開示されている。
【先行技術文献】
【特許文献】
【0003】
特開2018-35047号公報
【発明の概要】
【発明が解決しようとする課題】
【0004】
本開示は、金属配線にボイドが発生することを抑制することができる改質方法および改質システムを提供する。
【課題を解決するための手段】
【0005】
本開示の一側面は、改質方法であって、工程a)と、工程b)と、工程c)とを含む。工程a)では、金属配線が設けられた基板において、成膜装置により、金属配線の表面に炭素含有膜を形成する。工程b)では、アニール装置のチャンバ内に炭素含有膜が形成された基板が搬入される。工程c)では、チャンバ内に酸素含有ガスが供給され、チャンバ内の圧力が大気圧よりも低く、かつ、基板の温度が工程a)における基板の温度よりも高い状態で、炭素含有膜が形成された基板をアニールする。
【発明の効果】
【0006】
本開示の種々の側面および実施形態によれば、金属配線にボイドが発生することを抑制することができる。
【図面の簡単な説明】
【0007】
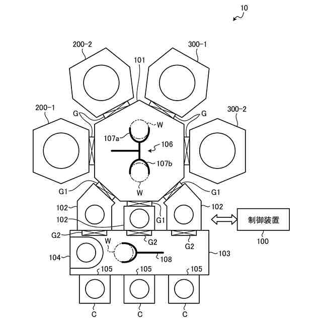
図1は、本開示の一実施形態における改質システムの一例を示すシステム構成図である。
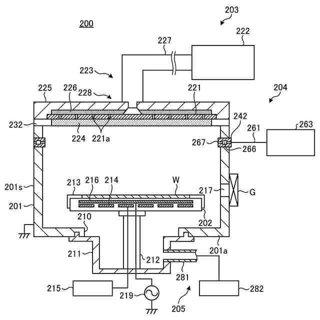
図2は、プラズマ処理装置の一例を示す図である。
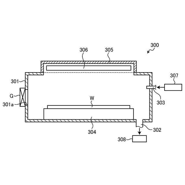
図3は、アニール装置の一例を示す図である。
図4は、第1の実施形態における改質方法の一例を示すフローチャートである。
図5は、基板の構造の一例を示す断面図である。
図6Aは、第1の実施形態における改質過程の一例を示す模式図である。
図6Bは、第1の実施形態における改質過程の一例を示す模式図である。
図6Cは、第1の実施形態における改質過程の一例を示す模式図である。
図7は、ギブス自由エネルギーと温度との関係の一例を示す図である。
図8は、配線層のシート抵抗の変化の一例を示す図である。
図9は、第2の実施形態における改質方法の一例を示すフローチャートである。
図10Aは、第2の実施形態における改質過程の一例を示す模式図である。
図10Bは、第2の実施形態における改質過程の一例を示す模式図である。
図10Cは、第2の実施形態における改質過程の一例を示す模式図である。
図10Dは、第2の実施形態における改質過程の一例を示す模式図である。
図11は、配線層のシート抵抗の変化の一例を示す図である。
図12は、第3の実施形態における改質方法の一例を示すフローチャートである。
図13Aは、第3の実施形態における改質過程の一例を示す模式図である。
図13Bは、第3の実施形態における改質過程の一例を示す模式図である。
図13Cは、第3の実施形態における改質過程の一例を示す模式図である。
図13Dは、第3の実施形態における改質過程の一例を示す模式図である。
図14は、第4の実施形態における改質方法の一例を示すフローチャートである。
図15Aは、第4の実施形態における改質過程の一例を示す模式図である。
図15Bは、第4の実施形態における改質過程の一例を示す模式図である。
図15Cは、第4の実施形態における改質過程の一例を示す模式図である。
図15Dは、第4の実施形態における改質過程の一例を示す模式図である。
【発明を実施するための形態】
【0008】
以下に、開示される改質方法および改質システムの実施形態について、図面に基づいて詳細に説明する。なお、以下の実施形態により、開示される改質方法および改質システムが限定されるものではない。
【0009】
半導体層に金属配線を設ける場合、半導体層と金属配線との間には、バリア層および接着層を設ける場合がある。この場合、接着層の金属が、金属配線の粒界を通って金属配線の表面に析出する場合がある。接着層の金属が金属配線の表面に析出すると、接着層の金属が通過した金属配線の粒界に亀裂が発生し、その亀裂が金属配線の応力によって広がる場合がある。金属配線の亀裂が広がると、亀裂が金属配線のボイドとなる。
【0010】
金属配線にボイドが発生すると、金属配線の抵抗が大きくなる。また、接着層の金属が金属配線の表面に析出すると、半導体層と金属配線との間の接着層の金属が減少し、半導体層と金属配線との間の密着性が低下する。半導体層と金属配線との間の密着性が低下すると、半導体層と金属配線との間の抵抗が大きくなる。
(【0011】以降は省略されています)
この特許をJ-PlatPat(特許庁公式サイト)で参照する
関連特許
東京エレクトロン株式会社
基板処理装置
4日前
東京エレクトロン株式会社
成膜方法及び成膜装置
3日前
東京エレクトロン株式会社
熱処理装置及び熱処理方法
3日前
東京エレクトロン株式会社
基板処理装置及び静電チャック
3日前
東京エレクトロン株式会社
基板処理装置、及び基板処理方法
11日前
東京エレクトロン株式会社
液処理装置、液処理方法及び記憶媒体
3日前
東京エレクトロン株式会社
基板処理装置、ガス供給機構及びガス供給方法
9日前
東京エレクトロン株式会社
ハイブリッド接合を用いてダイを積層するためのパッド及びその方法
4日前
東京エレクトロン株式会社
チップ処理システム
9日前
東京エレクトロン株式会社
基板処理装置、およびコイルの周囲にフェライトシールド部を設ける方法
3日前
東京エレクトロン株式会社
基板処理方法及び基板処理装置
9日前
東京エレクトロン株式会社
基板処理方法及び基板処理システム
3日前
東京エレクトロン株式会社
プラズマ処理方法およびプラズマ処理装置
3日前
個人
フッ素樹脂塗装鋼板の保管方法
3か月前
株式会社カネカ
製膜装置
1か月前
株式会社京都マテリアルズ
めっき部材
1か月前
株式会社カネカ
製膜装置
1か月前
トヨタ自動車株式会社
治具
25日前
株式会社三愛工業所
アルミニウム材
6か月前
株式会社KSマテリアル
防錆組成物
4か月前
株式会社オプトラン
蒸着装置
7か月前
エドワーズ株式会社
真空排気システム
1か月前
日本化学産業株式会社
複合めっき皮膜
3か月前
台灣晶技股ふん有限公司
無電解めっき法
2か月前
東京エレクトロン株式会社
成膜方法
2か月前
日東電工株式会社
積層体の製造方法
6か月前
株式会社カネカ
気化装置及び製膜装置
1か月前
JFEスチール株式会社
鋼部品
3か月前
住友重機械工業株式会社
成膜装置
4か月前
東京エレクトロン株式会社
基板処理装置
6か月前
住友重機械工業株式会社
成膜装置
5か月前
東京エレクトロン株式会社
基板処理装置
7か月前
東京エレクトロン株式会社
基板処理装置
5か月前
株式会社アルバック
マスクユニット
1か月前
DOWAサーモテック株式会社
浸炭方法
6か月前
株式会社内村
防食具、防食具の設置方法
2か月前
続きを見る
他の特許を見る