TOP
|
特許
|
意匠
|
商標
特許ウォッチ
Twitter
他の特許を見る
10個以上の画像は省略されています。
公開番号
2025170076
公報種別
公開特許公報(A)
公開日
2025-11-14
出願番号
2025149854,2021175600
出願日
2025-09-10,2021-10-27
発明の名称
基板処理方法及び基板処理装置
出願人
東京エレクトロン株式会社
代理人
個人
,
個人
,
個人
,
個人
,
個人
主分類
H01L
21/306 20060101AFI20251107BHJP(基本的電気素子)
要約
【課題】本開示は、基板の表面に形成された金属多結晶膜をエッチング処理する際に、エッチング残渣を効果的に除去することが可能な基板処理方法及び基板処理装置を説明する。
【解決手段】基板処理方法は、表面に金属多結晶膜が形成された基板を回転させつつ、基板の周縁部にエッチング液を供給する第1の工程と、基板を回転させつつ、第1の工程におけるエッチング液の供給位置よりも基板の中心部側にリンス液を供給する第2の工程と、基板を回転させつつ、基板の周縁部にエッチング液を供給する第3の工程と、基板を回転させつつ、第3の工程におけるエッチング液の供給位置よりも基板の中心部側にリンス液を供給する第4の工程と、第4の工程の後に、基板を乾燥させる第5の工程とを含む。
【選択図】図11
特許請求の範囲
【請求項1】
表面に金属多結晶膜が形成された基板を回転させつつ、前記基板の周縁部にエッチング液を供給して、前記周縁部における前記金属多結晶膜を厚み方向において部分的にエッチング処理する第1の工程と、 前記基板を回転させつつ、前記第1の工程におけるエッチング液の供給位置よりも前記基板の中心部側にリンス液を供給して、前記第1の工程において生じたエッチング残渣をリンス液で洗い流す第2の工程と、
前記基板を回転させつつ、前記基板の周縁部にエッチング液を供給して、前記周縁部における前記金属多結晶膜の残部をエッチング処理する第3の工程と、
前記基板を回転させつつ、前記第3の工程におけるエッチング液の供給位置よりも前記基板の中心部側にリンス液を供給して、前記第3の工程において生じたエッチング残渣をリンス液で洗い流す第4の工程と、
前記第4の工程の後に、前記基板を乾燥させる第5の工程とを含み、
前記第2の工程は、前記第1の工程におけるエッチング液の供給中にリンス液を供給開始することを含み、
前記第2の工程又は前記第4の工程は、ノズルからリンス液を吐出しつつ、前記ノズルが前記基板の外側から前記基板の周縁を超えて前記基板の中心部側に移動することであって、前記ノズルが前記基板の周縁を超えた後に、前記ノズルから吐出されるリンス液の流量を増加させることを含む、基板処理方法。
続きを表示(約 2,900 文字)
【請求項2】
上方から見たときに、ノズルから吐出されるリンス液の前記基板への着液点と前記基板の中心とを結ぶ基準線に対する、前記着液点と前記ノズルの吐出口とを結ぶリンス液の流線の角度を、前記ノズルからのリンス液の吐出角と定義したときに、
前記第2の工程又は前記第4の工程は、前記ノズルからリンス液を吐出しつつ、前記ノズルが前記基板の外側から前記基板の周縁を超えて前記基板の中心部側に移動することであって、前記ノズルが前記基板の周縁を超えた後に、前記吐出角を増加させることを含む、請求項1に記載の方法。
【請求項3】
表面に金属多結晶膜が形成された基板を回転させつつ、前記基板の周縁部にエッチング液を供給して、前記周縁部における前記金属多結晶膜を厚み方向において部分的にエッチング処理する第1の工程と、
前記基板を回転させつつ、前記第1の工程におけるエッチング液の供給位置よりも前記基板の中心部側にリンス液を供給して、前記第1の工程において生じたエッチング残渣をリンス液で洗い流す第2の工程と、
前記基板を回転させつつ、前記基板の周縁部にエッチング液を供給して、前記周縁部における前記金属多結晶膜の残部をエッチング処理する第3の工程と、
前記基板を回転させつつ、前記第3の工程におけるエッチング液の供給位置よりも前記基板の中心部側にリンス液を供給して、前記第3の工程において生じたエッチング残渣をリンス液で洗い流す第4の工程と、
前記第4の工程の後に、前記基板を乾燥させる第5の工程とを含み、
前記第2の工程は、前記第1の工程におけるエッチング液の供給中にリンス液を供給開始することを含み、
上方から見たときに、ノズルから吐出されるリンス液の前記基板への着液点と前記基板の中心とを結ぶ基準線に対する、前記着液点と前記ノズルの吐出口とを結ぶリンス液の流線の角度を、前記ノズルからのリンス液の吐出角と定義したときに、
前記第2の工程又は前記第4の工程は、前記ノズルからリンス液を吐出しつつ、前記ノズルが前記基板の外側から前記基板の周縁を超えて前記基板の中心部側に移動することであって、前記ノズルが前記基板の周縁を超えた後に、前記吐出角を増加させることを含む、基板処理方法。
【請求項4】
前記第4の工程は、前記第3の工程におけるエッチング液の供給中にリンス液を供給開始することを含む、請求項1~3のいずれか一項に記載の方法。
【請求項5】
表面に金属多結晶膜が形成された基板を回転させつつ、前記基板の周縁部にエッチング液を供給して、前記周縁部における前記金属多結晶膜を厚み方向において部分的にエッチング処理する第1の工程と、
前記基板を回転させつつ、前記第1の工程におけるエッチング液の供給位置よりも前記基板の中心部側にリンス液を供給して、前記第1の工程において生じたエッチング残渣をリンス液で洗い流す第2の工程と、
前記基板を回転させつつ、前記基板の周縁部にエッチング液を供給して、前記周縁部における前記金属多結晶膜の残部をエッチング処理する第3の工程と、
前記基板を回転させつつ、前記第3の工程におけるエッチング液の供給位置よりも前記基板の中心部側にリンス液を供給して、前記第3の工程において生じたエッチング残渣をリンス液で洗い流す第4の工程と、
前記第4の工程の後に、前記基板を乾燥させる第5の工程とを含み、
前記第4の工程は、前記第3の工程におけるエッチング液の供給中にリンス液を供給開始することを含み、
前記第2の工程又は前記第4の工程は、ノズルからリンス液を吐出しつつ、前記ノズルが前記基板の外側から前記基板の周縁を超えて前記基板の中心部側に移動することであって、前記ノズルが前記基板の周縁を超えた後に、前記ノズルから吐出されるリンス液の流量を増加させることを含む、基板処理方法。
【請求項6】
表面に金属多結晶膜が形成された基板を回転させつつ、前記基板の周縁部にエッチング液を供給して、前記周縁部における前記金属多結晶膜を厚み方向において部分的にエッチング処理する第1の工程と、
前記基板を回転させつつ、前記第1の工程におけるエッチング液の供給位置よりも前記基板の中心部側にリンス液を供給して、前記第1の工程において生じたエッチング残渣をリンス液で洗い流す第2の工程と、
前記基板を回転させつつ、前記基板の周縁部にエッチング液を供給して、前記周縁部における前記金属多結晶膜の残部をエッチング処理する第3の工程と、
前記基板を回転させつつ、前記第3の工程におけるエッチング液の供給位置よりも前記基板の中心部側にリンス液を供給して、前記第3の工程において生じたエッチング残渣をリンス液で洗い流す第4の工程と、
前記第4の工程の後に、前記基板を乾燥させる第5の工程とを含み、
上方から見たときに、ノズルから吐出されるリンス液の前記基板への着液点と前記基板の中心とを結ぶ基準線に対する、前記着液点と前記ノズルの吐出口とを結ぶリンス液の流線の角度を、前記ノズルからのリンス液の吐出角と定義したときに、
前記第2の工程又は前記第4の工程は、前記ノズルからリンス液を吐出しつつ、前記ノズルが前記基板の外側から前記基板の周縁を超えて前記基板の中心部側に移動することであって、前記ノズルが前記基板の周縁を超えた後に、前記吐出角を増加させることを含む、基板処理方法。
【請求項7】
前記第2の工程又は前記第4の工程は、ノズルからリンス液を吐出しつつ、前記ノズルが前記基板の外側から前記基板の周縁を超えて前記基板の中心部側に移動することであって、前記ノズルが前記基板の周縁を超えた後に、前記ノズルから吐出されるリンス液の流量を増加させることを含む、請求項6に記載の方法。
【請求項8】
前記第1の工程~前記第4の工程において前記基板を加熱する第6の工程をさらに含み、
前記第6の工程は、前記第4の工程におけるリンス液の供給開始の前後での前記基板の温度が、前記第1の工程及び前記第3の工程におけるエッチング液の供給中での前記基板の温度よりも低くなるように、前記基板を加熱することを含む、請求項1~7のいずれか一項に記載の方法。
【請求項9】
前記基板へのエッチング液の供給中に、前記周縁部を撮像部により撮像する第7の工程と、
前記撮像部により撮像された撮像画像のコントラストの変化に基づいて、前記周縁部にエッチング残渣が発生したか否かを判断する第8の工程とをさらに含む、請求項1~8のいずれか一項に記載の方法。
【請求項10】
前記第8の工程においてエッチング残渣が発生したと判断された場合、前記基板にリンス液を供給して、エッチング残渣をリンス液で洗い流す前記第2の工程又は前記第4の工程を行う、請求項9に記載の方法。
(【請求項11】以降は省略されています)
発明の詳細な説明
【技術分野】
【0001】
本開示は、基板処理方法及び基板処理装置に関する。
続きを表示(約 2,600 文字)
【背景技術】
【0002】
特許文献1は、基板の表面に形成された自然酸化膜のうち、基板の周縁部に位置する部分に対して、フッ酸などの薬液を供給し、当該膜をエッチング処理によって除去する基板処理方法を開示している。
【先行技術文献】
【特許文献】
【0003】
特開2019-040958号公報
【発明の概要】
【発明が解決しようとする課題】
【0004】
本開示は、基板の表面に形成された金属多結晶膜をエッチング処理する際に、エッチング残渣を効果的に除去することが可能な基板処理方法及び基板処理装置を説明する。
【課題を解決するための手段】
【0005】
基板処理方法の一例は、表面に金属多結晶膜が形成された基板を回転させつつ、基板の周縁部にエッチング液を供給して、周縁部における金属多結晶膜を厚み方向において部分的にエッチング処理する第1の工程と、基板を回転させつつ、第1の工程におけるエッチング液の供給位置よりも基板の中心部側にリンス液を供給して、第1の工程において生じたエッチング残渣をリンス液で洗い流す第2の工程と、基板を回転させつつ、基板の周縁部にエッチング液を供給して、周縁部における金属多結晶膜の残部をエッチング処理する第3の工程と、基板を回転させつつ、第3の工程におけるエッチング液の供給位置よりも基板の中心部側にリンス液を供給して、第3の工程において生じたエッチング残渣をリンス液で洗い流す第4の工程と、第4の工程の後に、基板を乾燥させる第5の工程とを含む。
【発明の効果】
【0006】
本開示に係る基板処理方法及び基板処理装置によれば、基板の表面に形成された金属多結晶膜をエッチング処理する際に、エッチング残渣を効果的に除去することが可能となる。
【図面の簡単な説明】
【0007】
図1は、基板処理システムの一例を模式的に示す平面図である。
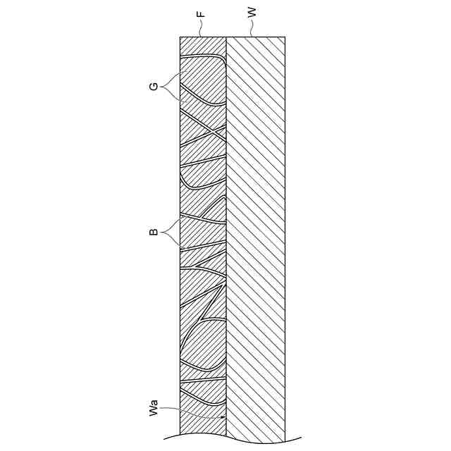
図2は、基板及び金属多結晶膜の一例を模式的に示す断面図である。
図3は、処理ユニットの一例を模式的に示す側面図である。
図4は、図3の処理ユニットの一部を示す斜視図である。
図5は、基板処理システムの主要部の一例を示すブロック図である。
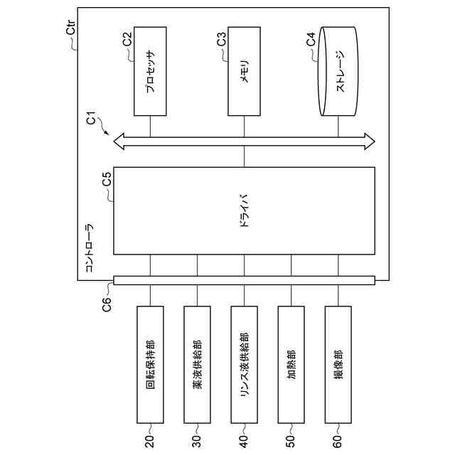
図6は、コントローラのハードウェア構成の一例を示す概略図である。
図7は、基板の処理手順の一例を説明するためのフローチャートである。
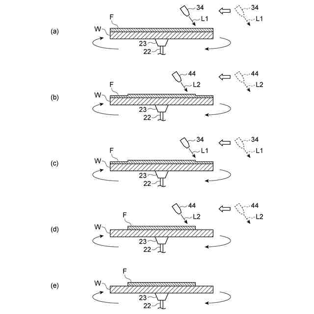
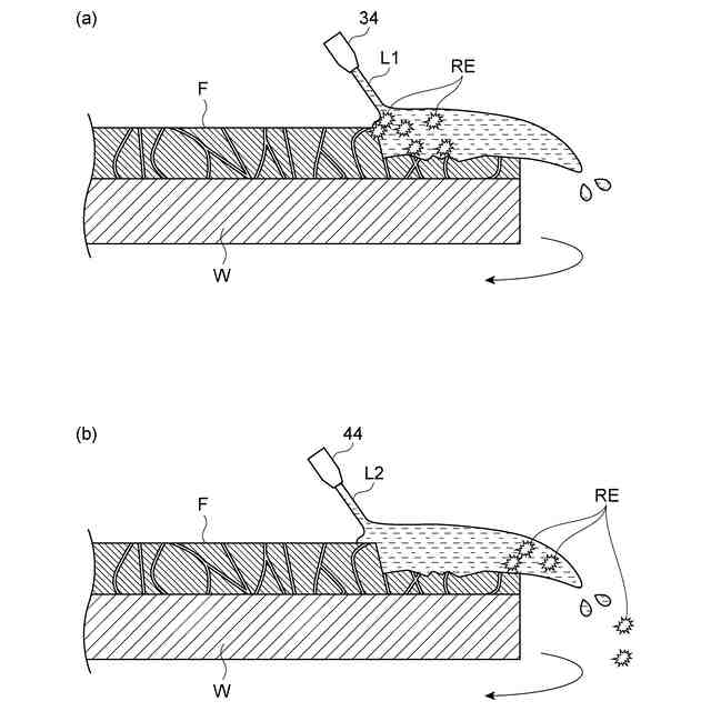
図8は、基板の処理手順の一例を説明するための断面図である。
図9は、基板の処理手順の一例を説明するための断面図である。
図10は、図9の後続の手順の一例を説明するための断面図である。
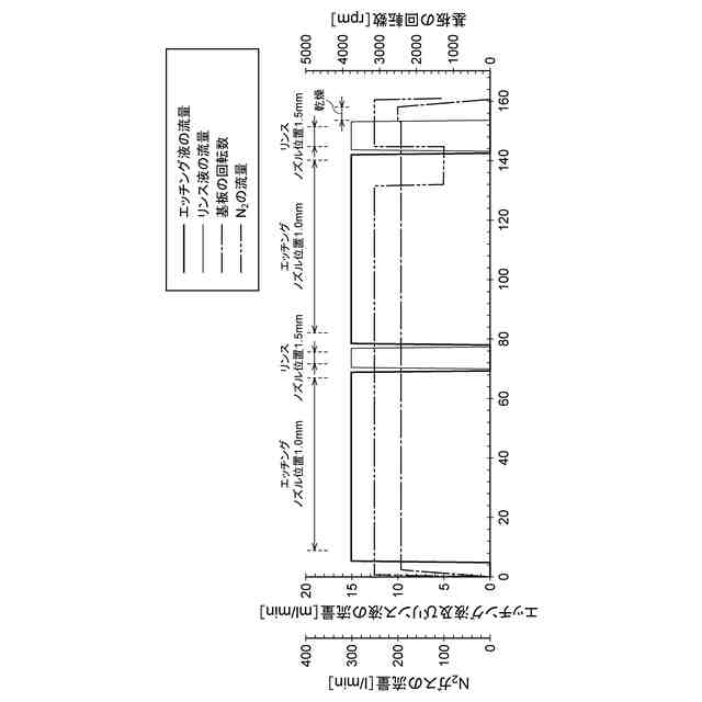
図11は、基板処理の一例における、各液の流量、ガスの流量及び基板の回転数の時間変化を示す図である。
図12は、基板の処理手順の比較例を説明するための断面図である。
図13は、基板処理の他の例における、各液の流量、ガスの流量及び基板の回転数の時間変化を示す図である。
図14は、基板の処理手順の他の例を説明するための断面図である。
図15は、基板処理の他の例における、各液の流量及び基板の回転数の時間変化を示す図である。
図16は、処理ユニットの他の例の一部を示す斜視図である。
図17は、基板処理の他の例における、各液の流量及び基板の回転数の時間変化を示す図である。
図18は、基板処理の他の例における、各液の流量及び基板の回転数の時間変化を示す図である。
図19は、基板処理の他の例における、ノズルからのリンス液の吐出角の変化を説明するための上面図である。
図20は、基板の処理手順の他の例を説明するための断面図である。
図21は、基板処理の他の例における、各液の流量及び基板の回転数の時間変化を示す図である。
図22は、基板の中心からの距離と、金属多結晶膜のエッチングレートとの関係の一例を示す図である。
図23は、基板の処理手順の他の例を説明するための断面図である。
図24は、基板処理の他の例における、各液の流量及び基板の回転数の時間変化を示す図である。
図25は、基板の処理手順の他の例を説明するための断面図である。
図26(a)は図25(b)を部分的に示す拡大図であり、図26(b)は図25(c)を部分的に示す拡大図である。
図27は、基板処理の他の例における、各液の流量及び基板の回転数の時間変化を示す図である。
図28は、処理ユニットの他の例を模式的に示す側面図である。
図29は、基板の処理手順の他の例を説明するための断面図である。
【発明を実施するための形態】
【0008】
以下の説明において、同一要素又は同一機能を有する要素には同一符号を用いることとし、重複する説明は省略する。なお、本明細書において、図の上、下、右、左というときは、図中の符号の向きを基準とすることとする。
【0009】
[基板処理システム]
まず、図1を参照して、基板Wを処理するように構成された基板処理システム1(基板処理装置)について説明する。基板処理システム1は、搬入出ステーション2と、処理ステーション3と、コントローラCtr(制御部)とを備える。搬入出ステーション2及び処理ステーション3は、例えば水平方向に一列に並んでいてもよい。
【0010】
基板Wは、円板状を呈してもよいし、多角形など円形以外の板状を呈していてもよい。基板Wは、一部が切り欠かれた切欠部を有していてもよい。切欠部は、例えば、ノッチ(U字形、V字形等の溝)であってもよいし、直線状に延びる直線部(いわゆる、オリエンテーション・フラット)であってもよい。基板Wは、例えば、半導体基板(シリコンウエハ)、ガラス基板、マスク基板、FPD(Flat Panel Display)基板その他の各種基板であってもよい。基板Wの直径は、例えば200mm~450mm程度であってもよい。
(【0011】以降は省略されています)
この特許をJ-PlatPat(特許庁公式サイト)で参照する
関連特許
東ソー株式会社
絶縁電線
1か月前
APB株式会社
蓄電セル
1か月前
個人
フレキシブル電気化学素子
1か月前
ローム株式会社
半導体装置
1か月前
日新イオン機器株式会社
イオン源
1か月前
マクセル株式会社
電源装置
24日前
株式会社ユーシン
操作装置
1か月前
株式会社東芝
端子台
24日前
株式会社GSユアサ
蓄電設備
1か月前
株式会社GSユアサ
蓄電設備
1か月前
株式会社GSユアサ
蓄電装置
3日前
三菱電機株式会社
回路遮断器
11日前
株式会社GSユアサ
蓄電装置
17日前
太陽誘電株式会社
コイル部品
1か月前
株式会社GSユアサ
蓄電装置
25日前
オムロン株式会社
電磁継電器
1か月前
株式会社GSユアサ
蓄電装置
25日前
富士電機株式会社
電磁接触器
3日前
株式会社ホロン
冷陰極電子源
1か月前
日新イオン機器株式会社
基板処理装置
27日前
サクサ株式会社
電池の固定構造
1か月前
トヨタ自動車株式会社
冷却構造
1か月前
トヨタ自動車株式会社
蓄電装置
25日前
日本特殊陶業株式会社
保持装置
1か月前
トヨタ自動車株式会社
バッテリ
1か月前
北道電設株式会社
配電具カバー
1か月前
日本特殊陶業株式会社
保持装置
16日前
トヨタ自動車株式会社
蓄電装置
1か月前
日東電工株式会社
積層体
1か月前
トヨタ自動車株式会社
バッテリ
1か月前
ノリタケ株式会社
熱伝導シート
1か月前
株式会社トクヤマ
シリコンエッチング液
1か月前
矢崎総業株式会社
コネクタ
3日前
株式会社トクヤマ
シリコンエッチング液
1か月前
ローム株式会社
半導体装置
1か月前
トヨタ自動車株式会社
電池パック
1か月前
続きを見る
他の特許を見る