TOP
|
特許
|
意匠
|
商標
特許ウォッチ
Twitter
他の特許を見る
公開番号
2025169507
公報種別
公開特許公報(A)
公開日
2025-11-14
出願番号
2024074226
出願日
2024-05-01
発明の名称
基板処理装置、ガス供給機構及びガス供給方法
出願人
東京エレクトロン株式会社
代理人
個人
,
個人
,
個人
,
個人
,
個人
主分類
C23C
16/448 20060101AFI20251107BHJP(金属質材料への被覆;金属質材料による材料への被覆;化学的表面処理;金属質材料の拡散処理;真空蒸着,スパッタリング,イオン注入法,または化学蒸着による被覆一般;金属質材料の防食または鉱皮の抑制一般)
要約
【課題】原料ガスを用いて基板上に膜を形成する場合において、原料タンクの温度の制御性を改善する基板処理装置を提供する。
【解決手段】基板処理装置は、減圧可能に構成された処理容器と、基板が載置される載置台と、処理容器に前記膜の原料ガスを供給するガス供給機構とを備え、ガス供給機構は、液体又は固体の原料を貯留した原料タンクを収容する内側収容容器と、内側収容容器を収容し内側収容容器を外部空間から隔離する外側収容容器と、外側収容容器内を排気する排気機構と、原料タンクが所定の温度に維持されるよう温度を調節する温調機構と、原料タンク内で生成された原料ガスが処理容器に供給されるよう原料タンクと処理容器とを接続する供給管とを有し、温調機構は、原料タンクを加熱する加熱部と冷却する冷却部とを有し、冷却部は内側収容容器内に設けられ、原料タンクの熱を吸収する吸熱部と吸収した原料タンクの熱を放出する放熱部とを有する。
【選択図】図1
特許請求の範囲
【請求項1】
基板に膜を形成する基板処理装置であって、
減圧可能に構成された処理容器と、
前記処理容器内に設けられ、前記基板が載置される載置台と、
前記処理容器に前記膜の原料ガスを供給するガス供給機構と、を備え、
前記ガス供給機構は、
前記膜の液体又は固体の原料を貯留した原料タンクを収容する内側収容容器と、
前記内側収容容器を収容し、前記内側収容容器を外部空間から隔離する外側収容容器と、
前記外側収容容器内を排気する排気機構と、
前記原料タンクが所定の温度に維持されるよう当該原料タンクの温度を調節する温調機構と、
前記原料タンク内で気化して生成された前記原料ガスが前記処理容器に供給されるよう、前記原料タンクと前記処理容器とを接続する供給管と、を有し、
前記温調機構は、前記原料タンクを加熱する加熱部と、前記原料タンクを冷却する冷却部と、を有し、
前記冷却部は、
前記内側収容容器内に設けられ、前記原料タンクの熱を吸収する吸熱部と、
前記内側収容容器外且つ前記外側収容容器内に設けられ、前記吸熱部が吸収した前記原料タンクの熱を放出する放熱部と、を有する、基板処理装置。
続きを表示(約 1,300 文字)
【請求項2】
前記放熱部は、凸部を有するヒートシンクである、請求項1に記載の基板処理装置。
【請求項3】
前記外側収容容器は、当該外側収容容器内に給気する給気口と、前記排気機構に通ずる排気口と、を有し、
前記放熱部は、前記排気口と平面視で重なる位置及び前記給気口と平面視で重なる位置の少なくともいずれか一方に設置される、請求項1に記載の基板処理装置。
【請求項4】
前記冷却部は、前記吸熱部と前記放熱部との間で作動流体を循環させるヒートパイプを有し、
前記吸熱部は、液体の状態の前記作動流体を前記原料タンクとの熱交換により気化させ、
前記放熱部は、気体の状態の前記作動流体を周囲雰囲気との熱交換により凝縮させる、請求項1~3のいずれか1項に記載の基板処理装置。
【請求項5】
前記吸熱部は、前記放熱部の下方に設置される、請求項4に記載の基板処理装置。
【請求項6】
基板に膜を形成する基板処理装置の処理容器に前記膜の原料ガスを供給するガス供給機構であって、
前記膜の液体又は固体の原料を貯留した原料タンクを収容する内側収容容器と、
前記内側収容容器を収容し、前記内側収容容器を外部空間から隔離する外側収容容器と、
前記外側収容容器内を排気する排気機構と、
前記原料タンクが所定の温度に維持されるよう当該原料タンクの温度を調節する温調機構と、
前記原料タンク内で気化して生成された前記原料ガスが前記処理容器に供給されるよう、前記原料タンクと前記処理容器とを接続する供給管と、を有し、
前記温調機構は、前記原料タンクを加熱する加熱部と、前記原料タンクを冷却する冷却部と、を有し、
前記冷却部は、
前記内側収容容器内に設けられ、前記原料タンクの熱を吸収する吸熱部と、
前記内側収容容器外且つ前記外側収容容器内に設けられ、前記吸熱部が吸熱した元気原料タンクの熱を放出する放熱部と、を有する、ガス供給機構。
【請求項7】
基板に膜を形成する基板処理装置の処理容器に前記膜の原料ガスを供給するガス供給方法であって、
原料タンク内に貯留された前記膜の液体又は固体の原料を気化させて前記原料ガスを生成する工程を含み、
前記原料ガスを生成する工程は、
前記原料タンクを収容した内側収容容器を収容した外側収容容器内を排気する工程と、
前記原料タンクが所定の温度に維持されるよう当該原料タンクの温度を調節する工程と含み、
当該温度を調整する工程は、前記原料タンクを加熱する工程と、前記原料タンクを冷却する工程と、を含み、
前記冷却する工程は、
前記内側収容容器内に設けられた吸熱部により、前記原料タンクの熱を吸収する工程と、
前記内側収容容器外且つ前記外側収容容器内に設けられた放熱部から、前記吸熱部が吸収した前記原料タンクの熱を放出する工程と、を含む、ガス供給方法。
発明の詳細な説明
【技術分野】
【0001】
本開示は、基板処理装置、ガス供給機構及びガス供給方法に関する。
続きを表示(約 1,800 文字)
【背景技術】
【0002】
特許文献1には、半導体ウェハの表面にマンガン膜をCVD(Chemical Vapor Deposition)により形成する成膜装置が開示されている。この成膜装置は、真空引き可能になされた処理容器と、処理容器内に設けられて、半導体ウェハを載置するための載置台と、処理容器内へマンガンが含有された有機金属材料あるいは金属錯体材料を含む原料ガスを供給する原料ガス供給手段と、を備えている。原料ガス供給手段は、マンガンを含有する原料を貯留する原料タンクを有する。原料タンクにはバブリング機構が設けられている。バブリング機構は、バブリング用配管を有しており、このバブリング用配管により、キャリアガスを流量制御しつつ上記原料タンク内の原料中にバブリングすることにより、この原料を気化させてキャリアガスと共に搬送する。
【先行技術文献】
【特許文献】
【0003】
特開2007-308789号公報
【発明の概要】
【発明が解決しようとする課題】
【0004】
本開示にかかる技術は、原料タンク内の原料が気化して生成された原料ガスを用いて基板上に膜を形成する場合において、原料タンクの温度の制御性を改善する。
【課題を解決するための手段】
【0005】
本開示の一態様は、基板に膜を形成する基板処理装置であって、減圧可能に構成された処理容器と、前記処理容器内に設けられ、前記基板が載置される載置台と、前記処理容器に前記膜の原料ガスを供給するガス供給機構と、を備え、前記ガス供給機構は、前記膜の液体又は固体の原料を貯留した原料タンクを収容する内側収容容器と、前記内側収容容器を収容し、前記内側収容容器を外部空間から隔離する外側収容容器と、前記外側収容容器内を排気する排気機構と、前記原料タンクが所定の温度に維持されるよう当該原料タンクの温度を調節する温調機構と、前記原料タンク内で気化して生成された前記原料ガスが前記処理容器に供給されるよう、前記原料タンクと前記処理容器とを接続する供給管と、を有し、前記温調機構は、前記原料タンクを加熱する加熱部と、前記原料タンクを冷却する冷却部と、を有し、前記冷却部は、前記内側収容容器内に設けられ、前記原料タンクの熱を吸収する吸熱部と、前記内側収容容器外且つ前記外側収容容器内に設けられ、前記吸熱部が吸収した前記原料タンクの熱を放出する放熱部と、を有する。
【発明の効果】
【0006】
本開示によれば、原料タンク内の原料が気化して生成された原料ガスを用いて基板上に膜を形成する場合において、原料タンクの温度の制御性を改善することができる。
【図面の簡単な説明】
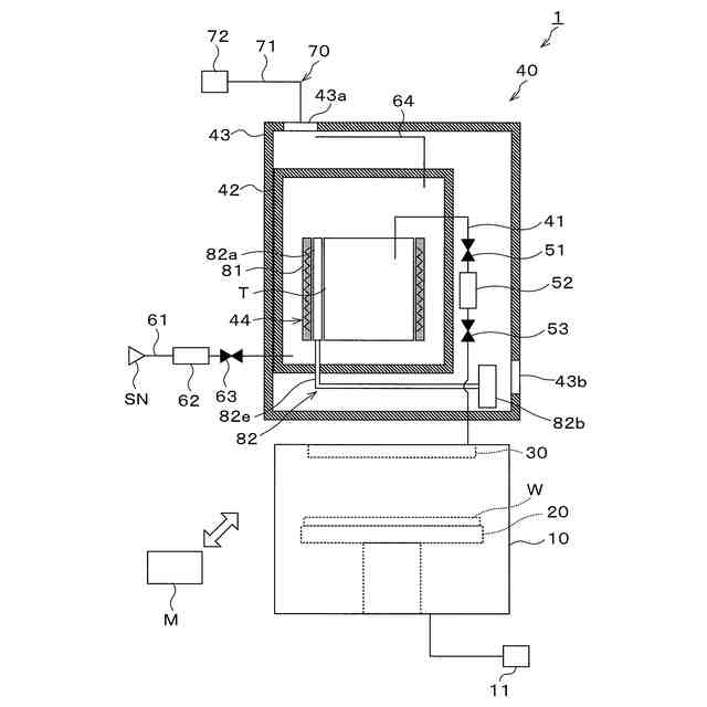
【0007】
本実施形態にかかる基板処理装置としての成膜装置の構成の概略を模式的に示す図である。
ヒートシンクの斜視図である。
ヒートシンクの配設位置の他の例を示す図である。
【発明を実施するための形態】
【0008】
以下、本実施形態にかかる基板処理装置及びガス供給機構の構成について、図面を参照しながら説明する。なお、本明細書において、実質的に同一の機能構成を有する要素については、同一の符号を付することにより重複説明を省略する。
【0009】
<成膜装置>
図1は、本実施形態にかかる基板処理装置としての成膜装置の構成の概略を模式的に示す図である。図2は、後述のヒートシンクの斜視図である。
【0010】
図1の成膜装置1は、基板としての半導体ウェハ(以下、「ウェハ」という。)Wに膜を形成する。具体的には、成膜装置1は、上記膜の液体の原料から生成した原料ガスを使ってウェハWに膜を形成する。成膜装置1におけるウェハWへの膜の形成は、例えば、CVDまたはALD(Atomic Layer Deposition)により行われる。成膜装置1により形成される膜は例えば窒化チタンであり、上記液体の原料は例えば塩化チタンである。
この成膜装置1は、処理容器10と、載置台20と、ガス導入部30と、ガス供給機構40と、を備える。
(【0011】以降は省略されています)
この特許をJ-PlatPat(特許庁公式サイト)で参照する
関連特許
個人
フッ素樹脂塗装鋼板の保管方法
3か月前
株式会社京都マテリアルズ
めっき部材
1か月前
株式会社カネカ
製膜装置
1か月前
株式会社カネカ
製膜装置
1か月前
トヨタ自動車株式会社
治具
25日前
株式会社三愛工業所
アルミニウム材
6か月前
株式会社オプトラン
蒸着装置
7か月前
株式会社KSマテリアル
防錆組成物
4か月前
日本化学産業株式会社
複合めっき皮膜
3か月前
エドワーズ株式会社
真空排気システム
1か月前
台灣晶技股ふん有限公司
無電解めっき法
2か月前
東京エレクトロン株式会社
成膜方法
2か月前
日東電工株式会社
積層体の製造方法
6か月前
株式会社カネカ
気化装置及び製膜装置
1か月前
JFEスチール株式会社
鋼部品
3か月前
住友重機械工業株式会社
成膜装置
4か月前
TOTO株式会社
構造部材
1か月前
株式会社アルバック
マスクユニット
1か月前
DOWAサーモテック株式会社
浸炭方法
6か月前
東京エレクトロン株式会社
基板処理装置
6か月前
株式会社内村
防食具、防食具の設置方法
2か月前
東京エレクトロン株式会社
基板処理装置
5か月前
信越半導体株式会社
真空蒸着方法
6か月前
住友重機械工業株式会社
成膜装置
5か月前
黒崎播磨株式会社
溶射装置
1か月前
株式会社アルバック
基板ステージ装置
1か月前
国立大学法人千葉大学
成膜装置及び成膜方法
2か月前
日本コーティングセンター株式会社
炭化ホウ素被膜
1か月前
株式会社デンソー
接合体
2か月前
フジタ技研株式会社
被覆部材、及び、表面被覆金型
1か月前
ケニックス株式会社
蒸発源装置
3か月前
川崎重工業株式会社
水素遮蔽膜
3か月前
信越化学工業株式会社
炭化金属被覆材料
4日前
株式会社アルバック
成膜装置、および搬送方法
3か月前
黒崎播磨株式会社
溶射用ランス
5か月前
株式会社アルバック
真空蒸着装置、真空蒸着方法
3か月前
続きを見る
他の特許を見る