TOP
|
特許
|
意匠
|
商標
特許ウォッチ
Twitter
他の特許を見る
10個以上の画像は省略されています。
公開番号
2025168514
公報種別
公開特許公報(A)
公開日
2025-11-07
出願番号
2025146746,2021116625
出願日
2025-09-04,2021-07-14
発明の名称
搬送装置およびエンドエフェクタ
出願人
東京エレクトロン株式会社
代理人
弁理士法人酒井国際特許事務所
主分類
H01L
21/677 20060101AFI20251030BHJP(基本的電気素子)
要約
【課題】搬送装置を含むシステム全体のフットプリントを削減する。
【解決手段】ウエハおよび円形の消耗部品を同時にまたは別々に搬送するための搬送装置であって、エンドエフェクタと、アームと、制御装置とを備える。消耗部品は、ウエハ処理モジュール内に配置可能であり、消耗部品の外径は、ウエハの外径よりも大きい。エンドエフェクタは、ウエハおよび消耗部品を同時にまたは別々に載置するように構成される。アームは、エンドエフェクタを移動させるように構成される。制御装置は、消耗部品を搬送する場合、消耗部品の重心が第1の位置と一致するように消耗部品がエンドエフェクタ上に載置されるように、アームを制御する。また、制御装置は、ウエハを搬送する場合、ウエハの重心が第1の位置とエンドエフェクタの先端との間の第2の位置と一致するようにウエハがエンドエフェクタ上に載置されるように、アームを制御する。
【選択図】図4
特許請求の範囲
【請求項1】
ウエハおよび円形の外形を有する消耗部品を同時にまたは別々に搬送するための搬送装置であって、前記消耗部品は、ウエハ処理モジュール内に配置可能であり、前記消耗部品の外径は、前記ウエハの外径よりも大きく、当該搬送装置は、
前記ウエハおよび前記消耗部品を同時にまたは別々に載置するように構成されるエンドエフェクタと、
前記エンドエフェクタを移動させるように構成されるアームと、
前記アームを制御するように構成される制御装置と
を備え、
前記制御装置は、
前記消耗部品を搬送する場合、前記消耗部品の重心が第1の位置と一致するように前記消耗部品が前記エンドエフェクタ上に載置されるように、前記アームを制御し、
前記ウエハを搬送する場合、前記ウエハの重心が前記第1の位置と前記エンドエフェクタの先端との間の第2の位置と一致するように前記ウエハが前記エンドエフェクタ上に載置されるように、前記アームを制御するように構成され、
前記ウエハを搬送する場合、前記ウエハの一部が前記エンドエフェクタの先端から突出するように前記ウエハが前記エンドエフェクタ上に載置され、
前記消耗部品を搬送する場合、前記消耗部品の一部が前記エンドエフェクタの先端から突出するように前記消耗部品が前記エンドエフェクタ上に載置され、
前記ウエハの一部が前記エンドエフェクタの先端から突出する寸法は、前記消耗部品の一部が前記エンドエフェクタの先端から突出する寸法と同じである、搬送装置。
続きを表示(約 2,800 文字)
【請求項2】
前記エンドエフェクタの幅は、前記ウエハの外形よりも小さい、請求項1に記載の搬送装置。
【請求項3】
ウエハおよび円形の外形を有する消耗部品を同時にまたは別々に搬送するための搬送装置であって、前記消耗部品は、ウエハ処理モジュール内に配置可能であり、前記消耗部品の外径は、前記ウエハの外径よりも大きく、当該搬送装置は、
前記ウエハおよび前記消耗部品を同時にまたは別々に載置するように構成されるエンドエフェクタと、
前記エンドエフェクタを移動させるように構成されるアームと、
前記アームを制御するように構成される制御装置と
を備え、
前記制御装置は、
前記消耗部品を搬送する場合、前記消耗部品の重心が第1の位置と一致するように前記消耗部品が前記エンドエフェクタ上に載置されるように、前記アームを制御し、
前記ウエハを搬送する場合、前記ウエハの重心が前記第1の位置と前記エンドエフェクタの先端との間の第2の位置と一致するように前記ウエハが前記エンドエフェクタ上に載置されるように、前記アームを制御するように構成され、
前記消耗部品は、シャワーヘッドの下部に設けられたカバー部材、または、静電チャックであり、
前記エンドエフェクタは、
上面を有する本体と、
前記本体の上面に配置される複数のウエハ支持パッドと、
前記本体の上面に配置される複数の消耗部品支持パッドと
を含み、
前記ウエハ支持パッドの前記本体の上面からの高さは、前記消耗部品支持パッドの前記本体の上面からの高さよりも低い、搬送装置。
【請求項4】
前記エンドエフェクタの幅は、前記ウエハの外形よりも小さい、請求項3に記載の搬送装置。
【請求項5】
前記ウエハを搬送する場合、前記ウエハの一部が前記エンドエフェクタの先端から突出するように前記ウエハが前記エンドエフェクタ上に載置される、請求項3または4に記載の搬送装置。
【請求項6】
前記消耗部品を搬送する場合、前記消耗部品の一部が前記エンドエフェクタの先端から突出するように前記消耗部品が前記エンドエフェクタ上に載置される、請求項5に記載の搬送装置。
【請求項7】
前記ウエハの一部が前記エンドエフェクタの先端から突出する寸法は、前記消耗部品の一部が前記エンドエフェクタの先端から突出する寸法と同じである、請求項6に記載の搬送装置。
【請求項8】
ウエハおよび円形の外形を有する消耗部品を同時にまたは別々に載置するためのエンドエフェクタであって、前記消耗部品の外径は、前記ウエハの外径よりも大きく、当該エンドエフェクタは、
第1の先端領域、第2の先端領域、および後端領域を有する上面を有する本体であり、前記第1の先端領域および前記第2の先端領域は、第1の方向からみて互いに重複している、本体と、
前記第1の先端領域内に配置され、第1の高さを有する第1のウエハ支持パッドと、
前記第2の先端領域内に配置され、前記第1の高さを有する第2のウエハ支持パッドと、
前記後端領域内に配置され、前記第1の高さを有する第3のウエハ支持パッドと、
前記第1の先端領域内において前記第1のウエハ支持パッドと前記エンドエフェクタの先端との間に配置され、前記第1の高さとは異なる第2の高さを有する第1の消耗部品支持パッドと、
前記第2の先端領域内において前記第2のウエハ支持パッドと前記エンドエフェクタの先端との間に配置され、前記第2の高さを有する第2の消耗部品支持パッドと、
前記後端領域内において前記第3のウエハ支持パッドと前記エンドエフェクタの後端との間に配置され、前記第2の高さを有する第3の消耗部品支持パッドと
を含み、
前記消耗部品を搬送する場合には前記消耗部品の重心が第1の位置と一致するように前記消耗部品を前記エンドエフェクタ上に載置するように構成されており、前記ウエハを搬送する場合には前記ウエハの重心が前記第1の位置と前記エンドエフェクタの先端との間の第2の位置と一致するように前記ウエハを前記エンドエフェクタ上に載置するように構成されており、
前記消耗部品は、シャワーヘッドの下部に設けられたカバー部材、または、静電チャックであり、
前記第1の高さは、前記第2の高さよりも低い、エンドエフェクタ。
【請求項9】
ウエハおよび円形の外形を有する消耗部品を同時にまたは別々に載置するためのエンドエフェクタであって、前記消耗部品の外径は、前記ウエハの外径よりも大きく、当該エンドエフェクタは、
第1の先端領域、第2の先端領域、および後端領域を有する上面を有する本体であり、前記第1の先端領域および前記第2の先端領域は、第1の方向からみて互いに重複している、本体と、
前記第1の先端領域内に配置され、第1の高さを有する第1のウエハ支持パッドと、
前記第2の先端領域内に配置され、前記第1の高さを有する第2のウエハ支持パッドと、
前記後端領域内に配置され、前記第1の高さを有する第3のウエハ支持パッドと、
前記第1の先端領域内において前記第1のウエハ支持パッドと前記エンドエフェクタの先端との間に配置され、前記第1の高さとは異なる第2の高さを有する第1の消耗部品支持パッドと、
前記第2の先端領域内において前記第2のウエハ支持パッドと前記エンドエフェクタの先端との間に配置され、前記第2の高さを有する第2の消耗部品支持パッドと、
前記後端領域内において前記第3のウエハ支持パッドと前記エンドエフェクタの後端との間に配置され、前記第2の高さを有する第3の消耗部品支持パッドと
を含み、
前記消耗部品を搬送する場合には前記消耗部品の重心が第1の位置と一致するように前記消耗部品を前記エンドエフェクタ上に載置するように構成されており、前記ウエハを搬送する場合には前記ウエハの重心が前記第1の位置と前記エンドエフェクタの先端との間の第2の位置と一致するように前記ウエハを前記エンドエフェクタ上に載置するように構成されており、
前記ウエハを搬送する場合、前記ウエハの一部が前記エンドエフェクタの先端から突出するように前記ウエハが前記エンドエフェクタ上に載置され、
前記消耗部品を搬送する場合、前記消耗部品の一部が前記エンドエフェクタの先端から突出するように前記消耗部品が前記エンドエフェクタ上に載置され、
前記ウエハの一部が前記エンドエフェクタの先端から突出する寸法は、前記消耗部品の一部が前記エンドエフェクタの先端から突出する寸法と同じである、エンドエフェクタ。
発明の詳細な説明
【技術分野】
【0001】
本開示の種々の側面および実施形態は、搬送装置、搬送システム、およびエンドエフェクタに関する。
続きを表示(約 2,400 文字)
【背景技術】
【0002】
例えば、下記特許文献1には、ウエハだけでなく、処理装置内の消耗部品も搬送する搬送装置が開示されている。これにより、処理装置のチャンバを大気開放することなく消耗部品の交換が可能となるため、低圧で処理を行う処理装置における停止時間を短くすることができる。
【先行技術文献】
【特許文献】
【0003】
特開2020-96149号公報
【発明の概要】
【発明が解決しようとする課題】
【0004】
本開示は、搬送装置を含むシステム全体のフットプリントを削減することができる搬送装置、搬送システム、およびエンドエフェクタを提供する。
【課題を解決するための手段】
【0005】
本開示の一側面は、ウエハおよび円形の外形を有する消耗部品を同時にまたは別々に搬送するための搬送装置であって、エンドエフェクタと、アームと、制御装置とを備える。消耗部品は、ウエハ処理モジュール内に配置可能であり、消耗部品の外径は、ウエハの外径よりも大きい。エンドエフェクタは、ウエハおよび消耗部品を同時にまたは別々にが載置するように構成される。アームは、エンドエフェクタを移動させるように構成される。制御装置は、消耗部品を搬送する場合、消耗部品の重心が第1の位置と一致するように消耗部品がエンドエフェクタ上に載置されるように、アームを制御する。また、制御装置は、ウエハを搬送する場合、ウエハの重心が第1の位置とエンドエフェクタの先端との間の第2の位置と一致するようにウエハがエンドエフェクタ上に載置されるように、アームを制御する。
【発明の効果】
【0006】
本開示の種々の側面および実施形態によれば、搬送装置を含むシステム全体のフットプリントを削減することができる。
【図面の簡単な説明】
【0007】
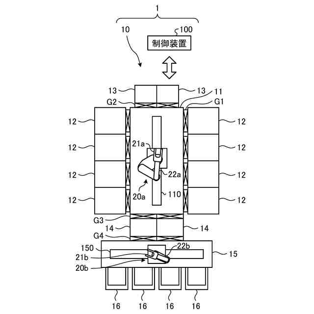
図1は、一実施形態における処理システムの一例を示す平面図である。
図2は、処理モジュールの一例を示す概略断面図である。
図3は、アッシングモジュールの一例を示す図である。
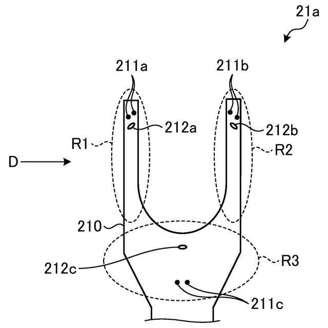
図4は、第1の実施形態におけるエンドエフェクタの一例を示す平面図である。
図5は、第1の実施形態におけるエンドエフェクタの一例を示す側面図である。
図6は、真空搬送モジュール内のエンドエフェクタに載せられる際のウエハとエッジリングの位置関係の一例を示す平面図である。
図7は、第1の実施形態において、ウエハを搬送する際のエンドエフェクタの一例を示す平面図である。
図8は、第1の実施形態において、ウエハを搬送する際のエンドエフェクタの一例を示す側面図である。
図9は、比較例において、ウエハがアッシングモジュール内に搬入される際のエンドエフェクタとアッシングモジュールとの位置関係の一例を示す図である。
図10は、本実施形態において、ウエハがアッシングモジュール内に搬入される際のエンドエフェクタとアッシングモジュールとの位置関係の一例を示す図である。
図11は、第1の実施形態において、エッジリングを搬送する際のエンドエフェクタの一例を示す平面図である。
図12は、第1の実施形態において、エッジリングを搬送する際のエンドエフェクタの一例を示す側面図である。
図13は、第1の実施形態における搬送方法の一例を示すフローチャートである。
図14は、大気搬送モジュール内のエンドエフェクタに載せられる際のウエハとエッジリングの位置関係の一例を示す平面図である。
図15は、第2の実施形態におけるエンドエフェクタの他の例を示す側面図である。
図16は、第2の実施形態において、ウエハとエッジリングとを同時に搬送する場合のエンドエフェクタの一例を示す側面図である。
図17は、第2の実施形態において、ウエハとエッジリングとを同時に搬送する場合のウエハとエッジリングの位置関係の一例を示す平面図である。
【発明を実施するための形態】
【0008】
以下に、搬送装置、搬送システム、およびエンドエフェクタの実施形態について、図面に基づいて詳細に説明する。なお、以下の実施形態により、開示される搬送装置、搬送システム、およびエンドエフェクタが限定されるものではない。
【0009】
ところで、ウエハや消耗部品が搬送される場合、ウエハや消耗部品は、その重心がロボットアームの先端に設けられたエンドエフェクタ予め定められた位置となるように、エンドエフェクタ上に載置される。消耗部品がエッジリング等のようにウエハよりも大きいリング状の部品である場合、消耗部品が載置される位置をエンドエフェクタの先端側に寄せすぎると、エンドエフェクタの移動に伴って消耗部品がエンドエフェクタから落下する場合がある。そのため、消耗部品が載置される位置は、エンドエフェクタの先端側に寄せすぎないようにする必要がある。これにより、消耗部品は、消耗部品の重心がエンドエフェクタの先端から離れた位置となるようにエンドエフェクタ上に載置される。
【0010】
一方、消耗部品よりも小さい外形のウエハを搬送する場合、消耗部品を搬送する際の消耗部品の重心とウエハの重心とが同じ位置となるようにウエハがエンドエフェクタ上に載置されると、エンドエフェクタの先端がウエハの下方の領域からはみ出すことになる。ウエハの下方の領域からはみ出したエンドエフェクタの部分が大きいと、消耗部品を収容するスペースが確保されていない装置内にウエハを搬送する際に、エンドエフェクタが邪魔になり、ウエハを装置内の予め定められた位置まで搬入することが難しい。
(【0011】以降は省略されています)
この特許をJ-PlatPat(特許庁公式サイト)で参照する
関連特許
東ソー株式会社
絶縁電線
19日前
APB株式会社
蓄電セル
17日前
個人
フレキシブル電気化学素子
1か月前
ローム株式会社
半導体装置
18日前
日新イオン機器株式会社
イオン源
27日前
株式会社ユーシン
操作装置
1か月前
マクセル株式会社
電源装置
11日前
ローム株式会社
半導体装置
1か月前
株式会社東芝
端子台
11日前
オムロン株式会社
電磁継電器
1か月前
株式会社GSユアサ
蓄電装置
12日前
株式会社GSユアサ
蓄電設備
1か月前
太陽誘電株式会社
コイル部品
1か月前
株式会社ホロン
冷陰極電子源
25日前
株式会社GSユアサ
蓄電設備
1か月前
株式会社GSユアサ
蓄電装置
12日前
株式会社GSユアサ
蓄電装置
4日前
トヨタ自動車株式会社
バッテリ
17日前
日本特殊陶業株式会社
保持装置
20日前
トヨタ自動車株式会社
冷却構造
19日前
サクサ株式会社
電池の固定構造
1か月前
北道電設株式会社
配電具カバー
17日前
トヨタ自動車株式会社
バッテリ
1か月前
トヨタ自動車株式会社
蓄電装置
12日前
日本特殊陶業株式会社
保持装置
3日前
トヨタ自動車株式会社
蓄電装置
1か月前
ノリタケ株式会社
熱伝導シート
1か月前
日新イオン機器株式会社
基板処理装置
14日前
日東電工株式会社
積層体
1か月前
ベストテック株式会社
装置支持具
1か月前
ローム株式会社
半導体装置
1か月前
東レエンジニアリング株式会社
実装装置
1か月前
ローム株式会社
半導体装置
19日前
甲神電機株式会社
変流器及び零相変流器
5日前
住友電装株式会社
コネクタ
19日前
日本無線株式会社
レーダアンテナ
5日前
続きを見る
他の特許を見る