TOP
|
特許
|
意匠
|
商標
特許ウォッチ
Twitter
他の特許を見る
10個以上の画像は省略されています。
公開番号
2025166084
公報種別
公開特許公報(A)
公開日
2025-11-05
出願番号
2025132087,2021148516
出願日
2025-08-07,2021-09-13
発明の名称
処理システム及び搬送方法
出願人
東京エレクトロン株式会社
代理人
弁理士法人ITOH
主分類
H01L
21/677 20060101AFI20251028BHJP(基本的電気素子)
要約
【課題】処理室内の消耗部材を効率よく交換する処理システム及び搬送方法を提供する。
【解決手段】処理システムPSは、内部に消耗部材が取り付けられるチャンバと、消耗部材を収納する収納モジュールSMと、消耗部材の位置を検出する位置検出センサと、チャンバ及び収納モジュールに接続され、チャンバと収納モジュールとの間で消耗部材を搬送する搬送ロボットTR1、TR2を有する真空搬送モジュールTM1、TM2と、制御部CUと、を備え、制御部は、(a)搬送ロボットを制御してチャンバに取り付けられた消耗部材を前記収納モジュールに搬送する工程と、(b)収納モジュールに搬送される消耗部材の位置を位置検出センサで検出する工程と、(c)搬送ロボットを制御して工程(b)において検出された消耗部材の位置に基づき消耗部材とは異なる新たな消耗部材を収納モジュールからチャンバに位置補正して搬送する工程と、を実行する。
【選択図】図1
特許請求の範囲
【請求項1】
内部に消耗部材が取り付けられるチャンバと、
前記消耗部材を収納する収納モジュールと、
前記消耗部材の位置を検出する位置検出センサと、
前記チャンバ及び前記収納モジュールに接続される真空搬送モジュールであり、前記チャンバと前記収納モジュールとの間で前記消耗部材を搬送する搬送ロボットを有する真空搬送モジュールと、
制御部と、
を備え、
前記制御部は、
(f)前記位置検出センサにより前記チャンバに取り付けられた使用済みの消耗部材の位置を検出する工程と、
(g)前記位置検出センサにより前記収納モジュールに収容された未使用の消耗部材の位置を検出する工程と、
(h)前記未使用の消耗部材を前記収納モジュールから前記チャンバに搬送する工程と、
を実行するように構成され、
前記工程(h)は、前記工程(f)において検出された前記使用済みの消耗部材の位置と前記工程(g)において検出された前記未使用の消耗部材の位置とに基づいて、前記収納モジュールから前記チャンバに搬送される前記未使用の消耗部材の位置を補正することを含む、
処理システム。
続きを表示(約 990 文字)
【請求項2】
前記収納モジュールは、前記真空搬送モジュールに対して着脱可能である、
請求項1に記載の処理システム。
【請求項3】
前記収納モジュールは、内部を減圧するための排気口を有し、
前記制御部は、
(d)前記排気口を介して前記収納モジュールの内部を減圧して前記真空搬送モジュールの内部の圧力よりも小さくした状態で、前記収納モジュール内を前記真空搬送モジュール内と連通させる工程を更に実行するよう構成される、
請求項1又は2に記載の処理システム。
【請求項4】
前記位置検出センサは、前記消耗部材の水平位置を検出する、
請求項1乃至3のいずれか一項に記載の処理システム。
【請求項5】
前記収納モジュールは、上下方向に間隔を有して複数の前記消耗部材を収納可能であり、
前記制御部は、
(e)前記工程(h)の前に前記使用済みの消耗部材を前記収納モジュールの内部に収納された前記未使用の消耗部材よりも下方の位置に収納する工程を更に実行するよう構成される、
請求項1乃至4のいずれか一項に記載の処理システム。
【請求項6】
前記消耗部材は、円環状を有し、
前記位置検出センサは、少なくとも前記消耗部材の内周の位置を検出する内周センサを含む、
請求項1乃至5のいずれか一項に記載の処理システム。
【請求項7】
前記位置検出センサは、カメラを含む、
請求項1乃至6のいずれか一項に記載の処理システム。
【請求項8】
前記消耗部材は、前記チャンバの内部に設けられ、基板を載置する載置台の上面において、前記基板の周囲を囲むように載置されるエッジリングを含む、
請求項1乃至7のいずれか一項に記載の処理システム。
【請求項9】
前記位置検出センサは、前記収納モジュールに設けられる、
請求項1乃至8のいずれか一項に記載の処理システム。
【請求項10】
前記位置検出センサは、前記収納モジュールから前記チャンバまでの前記消耗部材の搬送経路上に設けられる、
請求項1乃至9のいずれか一項に記載の処理システム。
(【請求項11】以降は省略されています)
発明の詳細な説明
【技術分野】
【0001】
本開示は、処理システム及び搬送方法に関する。
続きを表示(約 1,400 文字)
【背景技術】
【0002】
プラズマ処理が施される処理室内に基板の周囲を囲むように配置されるフォーカスリングを交換する技術が知られている(例えば、特許文献1-3参照)。
【先行技術文献】
【特許文献】
【0003】
特開2012-216614号公報
特開2018-010992号公報
特開2011-054933号公報
【発明の概要】
【発明が解決しようとする課題】
【0004】
本開示は、処理室内の消耗部材を効率よく交換できる技術を提供する。
【課題を解決するための手段】
【0005】
本開示の一態様による処理システムは、内部に消耗部材が取り付けられるチャンバと、前記消耗部材を収納する収納モジュールと、前記消耗部材の位置を検出する位置検出センサと、前記チャンバ及び前記収納モジュールに接続される真空搬送モジュールであり、前記チャンバと前記収納モジュールとの間で前記消耗部材を搬送する搬送ロボットを有する真空搬送モジュールと、制御部と、を備え、前記制御部は、(a)前記搬送ロボットを制御して前記チャンバに取り付けられた前記消耗部材を前記収納モジュールに搬送する工程と、(b)前記収納モジュールに搬送される前記消耗部材の位置を前記位置検出センサで検出する工程と、(c)前記搬送ロボットを制御して前記工程(b)において検出された前記消耗部材の位置に基づき前記消耗部材とは異なる新たな消耗部材を前記収納モジュールから前記チャンバに位置補正して搬送する工程と、を実行するように構成される。
【発明の効果】
【0006】
本開示によれば、処理室内の消耗部材を効率よく交換できる。
【図面の簡単な説明】
【0007】
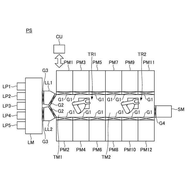
実施形態の処理システムの一例を示す図
プロセスモジュールの一例を示す概略断面図
収納モジュールの一例を示す正面断面図
収納モジュールの一例を示す側面断面図
プロセスモジュールごとの基準位置を説明するための図
実施形態のエッジリングの搬送方法の一例を示す図
実施形態のエッジリングの収納方法の一例を示す図
収納モジュールの設置例を示す概略図
搬送ロボットのフォークに取り付けられた位置検出センサを示す図
【発明を実施するための形態】
【0008】
以下、添付の図面を参照しながら、本開示の限定的でない例示の実施形態について説明する。添付の全図面中、同一又は対応する部材又は消耗部材については、同一又は対応する参照符号を付し、重複する説明を省略する。
【0009】
〔処理システム〕
図1を参照し、実施形態の処理システムの一例について説明する。図1に示されるように、処理システムPSは、基板にプラズマ処理等の各種処理を施すことが可能なシステムである。基板は、例えば半導体ウエハであってよい。
【0010】
処理システムPSは、真空搬送モジュールTM1,TM2、プロセスモジュールPM1~PM12、ロードロックモジュールLL1,LL2、大気搬送モジュールLM、収納モジュールSM等を備える。
(【0011】以降は省略されています)
この特許をJ-PlatPat(特許庁公式サイト)で参照する
関連特許
APB株式会社
蓄電セル
1か月前
東ソー株式会社
絶縁電線
1か月前
個人
フレキシブル電気化学素子
1か月前
株式会社東芝
端子台
24日前
ローム株式会社
半導体装置
1か月前
株式会社ユーシン
操作装置
1か月前
ローム株式会社
半導体装置
1か月前
マクセル株式会社
電源装置
24日前
ローム株式会社
半導体装置
1か月前
日新イオン機器株式会社
イオン源
1か月前
株式会社GSユアサ
蓄電設備
1か月前
富士電機株式会社
電磁接触器
3日前
株式会社GSユアサ
蓄電装置
25日前
株式会社GSユアサ
蓄電装置
25日前
株式会社GSユアサ
蓄電装置
17日前
オムロン株式会社
電磁継電器
1か月前
株式会社ホロン
冷陰極電子源
1か月前
株式会社GSユアサ
蓄電装置
3日前
三菱電機株式会社
回路遮断器
11日前
株式会社GSユアサ
蓄電設備
1か月前
太陽誘電株式会社
コイル部品
1か月前
太陽誘電株式会社
全固体電池
1か月前
日本特殊陶業株式会社
保持装置
16日前
トヨタ自動車株式会社
蓄電装置
1か月前
トヨタ自動車株式会社
バッテリ
1か月前
ノリタケ株式会社
熱伝導シート
1か月前
トヨタ自動車株式会社
バッテリ
1か月前
TDK株式会社
電子部品
1か月前
サクサ株式会社
電池の固定構造
1か月前
トヨタ自動車株式会社
蓄電装置
25日前
北道電設株式会社
配電具カバー
1か月前
日東電工株式会社
積層体
1か月前
日本特殊陶業株式会社
保持装置
1か月前
日本特殊陶業株式会社
保持装置
1か月前
トヨタ自動車株式会社
冷却構造
1か月前
日本特殊陶業株式会社
保持装置
1か月前
続きを見る
他の特許を見る