TOP
|
特許
|
意匠
|
商標
特許ウォッチ
Twitter
他の特許を見る
10個以上の画像は省略されています。
公開番号
2025168031
公報種別
公開特許公報(A)
公開日
2025-11-07
出願番号
2024073126
出願日
2024-04-26
発明の名称
検体分析装置および検体分析方法
出願人
シスメックス株式会社
代理人
個人
,
個人
主分類
G01N
15/1429 20240101AFI20251030BHJP(測定;試験)
要約
【課題】特定の測定原理のみに依拠しない検査結果を提供可能な検体分析装置および検体分析方法を提供する。
【解決手段】被検者から採取された検体中の細胞を分析するための検体分析装置は、少なくとも1つの第1照明光のビームスポットを細胞が通過することで得られる第1光情報を測定する第1測定部と、光が入射した回折光学素子により生じた複数の回折光が分布する第2照明光の照射範囲を細胞が通過することで得られる第2光情報を測定する第2測定部と、(1)第1光情報に基づく第1解析結果、(2)第2光情報に基づく第2解析結果、および、(3)第1解析結果と第2解析結果、のいずれかに基づいて細胞解析結果を生成する制御部31と、を含む。
【選択図】図11
特許請求の範囲
【請求項1】
被検者から採取された検体中の細胞を分析するための検体分析装置であって、
少なくとも1つの第1照明光のビームスポットを前記細胞が通過することで得られる第1光情報を測定する第1測定部と、
光が入射した回折光学素子により生じた複数の回折光が分布する第2照明光の照射範囲を前記細胞が通過することで得られる第2光情報を測定する第2測定部と、
(1)前記第1光情報に基づく第1解析結果、(2)前記第2光情報に基づく第2解析結果、および、(3)前記第1解析結果と前記第2解析結果、のいずれかに基づいて細胞解析結果を生成する制御部と、を含む、検体分析装置。
続きを表示(約 980 文字)
【請求項2】
前記第2測定部は、前記第1光情報よりも、前記細胞の各々に対応する情報が多い前記第2光情報を測定する、
請求項1に記載の検体分析装置。
【請求項3】
前記第2測定部は、前記細胞の各々の形態に関する情報が前記第1光情報よりも多い前記第2光情報を測定する、
請求項1に記載の検体分析装置。
【請求項4】
前記制御部は、前記第1解析結果を第1解析方法により生成し、前記第2解析結果を第2解析方法により生成し、
前記第1解析方法と前記第2解析方法は、互いに異なる、
請求項1に記載の検体分析装置。
【請求項5】
前記制御部は、(1)前記第1解析結果、(2)前記第2解析結果、および、(3)前記第1解析結果と前記第2解析結果、のいずれに基づいて前記細胞解析結果を生成するかを選択的に判断する、
請求項1に記載の検体分析装置。
【請求項6】
前記制御部は、前記第1解析結果が前記第2解析結果によって補完されるように、前記第1解析結果と前記第2解析結果に基づく前記細胞解析結果を生成する、
請求項1に記載の検体分析装置。
【請求項7】
前記第1および第2測定部は、搬送ユニットによって前記検体分析装置に搬送された前記検体を測定する、
請求項1に記載の検体分析装置。
【請求項8】
前記制御部は、前記第2測定部による測定頻度が前記第1測定部による測定頻度よりも低くなるように、前記第1および第2測定部の動作を制御可能である、
請求項1に記載の検体分析装置。
【請求項9】
前記制御部は、
前記第2測定部による測定頻度が前記第1測定部による測定頻度よりも低くなるように、前記第1および第2測定部の動作を制御し、
前記第1解析結果が前記第2解析結果によって補完されるように、前記第1解析結果と前記第2解析結果に基づく前記細胞解析結果を生成する、
請求項1に記載の検体分析装置。
【請求項10】
前記制御部は、人工知能アルゴリズムを用いて、前記第2解析結果を生成する、
請求項1に記載の検体分析装置。
(【請求項11】以降は省略されています)
発明の詳細な説明
【技術分野】
【0001】
本発明は、検体分析装置および検体分析方法に関する。
続きを表示(約 3,100 文字)
【背景技術】
【0002】
ヘマトロジー検査では、血球計数装置を用いて検体中の細胞の分類および計数が行われる。特許文献1には、フローセルに光を照射し、フローセルを流れる細胞が照射光のビームスポットを通過することによって得られる光情報を測定するという原理を利用し、細胞の分類および計数を行う技術が開示されている。
【先行技術文献】
【特許文献】
【0003】
米国特許出願公開第2021/0164885号明細書
【発明の概要】
【発明が解決しようとする課題】
【0004】
特許文献1が開示する技術では、特定の測定原理による測定によって、細胞の分類および計数の結果が生成される。細胞の分類および計数の結果の精度は、特定の測定原理にのみ依拠してしまうという課題がある。
【0005】
かかる課題に鑑み、本発明は、特定の測定原理のみに依拠しない検査結果を提供可能な検体分析装置および検体分析方法を提供することを目的とする。
【課題を解決するための手段】
【0006】
本発明の検体分析装置(1)は、被検者から採取された検体中の細胞を分析するための検体分析装置に関する。本発明の検体分析装置(1)は、少なくとも1つの第1照明光のビームスポット(BS)を細胞が通過することで得られる第1光情報を測定する第1測定部(100、400)と、光が入射した回折光学素子(215)により生じた複数の回折光が分布する第2照明光の照射範囲(R)を細胞が通過することで得られる第2光情報を測定する第2測定部(200、400)と、(1)第1光情報に基づく第1解析結果、(2)第2光情報に基づく第2解析結果、および、(3)第1解析結果と第2解析結果、のいずれかに基づいて細胞解析結果を生成する制御部(31)と、を含む。
【発明の効果】
【0007】
本発明によれば、特定の測定原理のみに依拠しない検査結果を提供できる。
【図面の簡単な説明】
【0008】
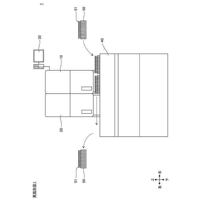
図1は、実施形態1に係る、検体分析装置の構成を模式的に示す正面図である。
図2は、実施形態1に係る、第1測定ユニットの機能構成を示すブロック図である。
図3は、実施形態1に係る、第1測定ユニットの試料調製部の機能構成を示すブロック図である。
図4は、実施形態1に係る、第1測定ユニットの光学式測定部の構成を模式的に示す図である。
図5は、実施形態1に係る、第1測定ユニットのフローセルの構成を模式的に示す側面図である。
図6は、実施形態1に係る、第2測定ユニットの機能構成を示すブロック図である。
図7は、実施形態1に係る、第2測定ユニットの試料調製部の機能構成を示すブロック図である。
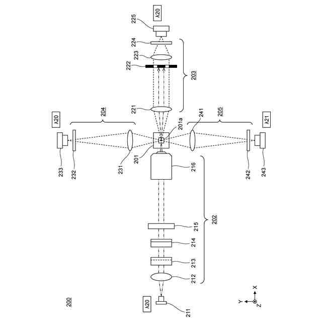
図8は、実施形態1に係る、第2測定ユニットの光学式測定部の構成を模式的に示す図である。
図9は、実施形態1に係る、第2測定ユニットのフローセルおよび第2照明光を模式的に示す図である。
図10は、実施形態1に係る、第2照明光に含まれる回折光の分布パターンを模式的に示す図である。
図11は、実施形態1に係る、制御ユニットの機能構成を示すブロック図である。
図12は、実施形態1に係る、第1光情報に基づくスキャッタグラムを示す図および細胞群のグルーピングを模式的に示す図である。
図13は、実施形態1に係る、訓練前および訓練後のAIアルゴリズムを示す模式図である。
図14は、実施形態1に係る、制御ユニットによる測定に関する制御処理を示すフローチャートである。
図15は、実施形態1に係る、第1測定処理を示すフローチャートである。
図16は、実施形態1に係る、第2測定処理を示すフローチャートである。
図17は、実施形態1に係る、細胞解析結果画面の構成を模式的に示す図である。
図18は、実施形態1に係る、第2測定処理が行われなかった場合の細胞解析結果画面の構成を模式的に示す図である。
図19は、実施形態1に係る、第2測定処理が行われた場合の細胞解析結果画面の構成を模式的に示す図である。
図20は、実施形態1に係る、細胞解析結果画面における白血球に関する異常細胞フラグの表示例を示す図である。
図21は、実施形態1に係る、第2測定処理において第2測定ユニットのフローセルに流す測定試料の単位時間当たりの流量を決定する処理を示すフローチャートである。
図22は、実施形態1に係る、血球濃度に応じて第2測定ユニットのフローセルにおける単位時間当たりの流量が2段階に切り替えることを示すグラフ、および、血球濃度に応じて第2測定ユニットのフローセルにおける単位時間当たりの流量がリニアに変化させることを示すグラフである。
図23は、実施形態1の変更例1に係る、制御ユニットによる測定に関する制御処理を示すフローチャートである。
図24は、実施形態1の変更例1に係る、第2測定処理が行われた場合の細胞解析結果画面の構成を模式的に示す図である。
図25は、実施形態1の変更例1に係る、第2測定処理が行われた場合の細胞解析結果画面の構成を模式的に示す図である。
図26は、実施形態1の変更例2に係る、制御ユニットによる測定に関する制御処理を示すフローチャートである。
図27は、実施形態1の変更例2に係る、第2測定処理が行われた場合の細胞解析結果画面の構成を模式的に示す図である。
図28は、実施形態2に係る、検体分析装置の構成を模式的に示す正面図である。
図29は、実施形態2に係る、第3測定ユニットの機能構成を示すブロック図である。
図30は、実施形態2に係る、第3測定ユニットの試料調製部の機能構成を示すブロック図である。
図31は、実施形態2に係る、第3測定ユニットの光学式測定部の構成を模式的に示す図である。
図32は、実施形態2に係る、制御ユニットによる測定に関する制御処理を示すフローチャートである。
図33は、実施形態2の変更例1に係る、制御ユニットによる測定に関する制御処理を示すフローチャートである。
図34は、実施形態2の変更例2に係る、第3測定ユニットの試料調製部の機能構成を示すブロック図である。
図35は、実施形態3に係る、再構成画像の生成手順を模式的に示す図である。
図36は、実施形態3に係る、再構成画像を表示する再構成画像表示画面の構成を模式的に示す図である。
【発明を実施するための形態】
【0009】
以下の実施形態に示す検体分析装置1は、検体を測定するための測定原理が互いに異なる第1測定部と第2測定部を含む。よって、検体分析装置1は、ある測定原理にのみ依拠しない検査結果(例えば、検体中の細胞の分類および計数を提供する検査結果)を提供可能である。例えば、第1測定部の測定原理では分類が難しかった細胞種が、第2測定部の測定原理では分類が可能になり、検体分析装置1が提供する検査結果の精度が向上する。
【0010】
<実施形態1>
図1は、検体分析装置1の構成を模式的に示す正面図である。
(【0011】以降は省略されています)
この特許をJ-PlatPat(特許庁公式サイト)で参照する
関連特許
個人
採尿及び採便具
20日前
日本精機株式会社
検出装置
14日前
個人
アクセサリー型テスター
1か月前
個人
計量機能付き容器
9日前
個人
高精度同時多点測定装置
1か月前
甲神電機株式会社
電流検出装置
14日前
株式会社ミツトヨ
測定器
26日前
アズビル株式会社
電磁流量計
29日前
トヨタ自動車株式会社
監視装置
1か月前
大成建設株式会社
風洞実験装置
9日前
株式会社ヨコオ
ソケット
1か月前
ダイキン工業株式会社
監視装置
1か月前
日本特殊陶業株式会社
ガスセンサ
7日前
TDK株式会社
磁気センサ
1か月前
愛知電機株式会社
軸部材の外観検査装置
23日前
個人
計量具及び計量機能付き容器
9日前
大和製衡株式会社
組合せ計量装置
23日前
大和製衡株式会社
組合せ計量装置
23日前
日本信号株式会社
距離画像センサ
12日前
個人
システム、装置及び実験方法
29日前
ローム株式会社
半導体装置
1か月前
ローム株式会社
半導体装置
1か月前
個人
非接触による電磁パルスの測定方法
12日前
長崎県
形状計測方法
1か月前
双庸電子株式会社
誤配線検査装置
15日前
愛知時計電機株式会社
ガスメータ
26日前
日本特殊陶業株式会社
センサ
1か月前
個人
液位検視及び品質監視システム
7日前
日本特殊陶業株式会社
センサ
1か月前
中国電力株式会社
電柱管理システム
1か月前
日本特殊陶業株式会社
センサ
1か月前
日本特殊陶業株式会社
センサ
1か月前
株式会社不二越
X線測定装置
12日前
トヨタ自動車株式会社
測定システム
1か月前
日東精工株式会社
振動波形検査装置
15日前
株式会社デンソー
電流センサ
1か月前
続きを見る
他の特許を見る