TOP
|
特許
|
意匠
|
商標
特許ウォッチ
Twitter
他の特許を見る
公開番号
2025167911
公報種別
公開特許公報(A)
公開日
2025-11-07
出願番号
2024072928
出願日
2024-04-26
発明の名称
露光装置、露光方法及び物品の製造方法
出願人
キヤノン株式会社
代理人
弁理士法人大塚国際特許事務所
主分類
G03F
7/207 20060101AFI20251030BHJP(写真;映画;光波以外の波を使用する類似技術;電子写真;ホログラフイ)
要約
【課題】基板を保持するステージのフォーカス駆動を高精度に行うのに有利な技術を提供する。
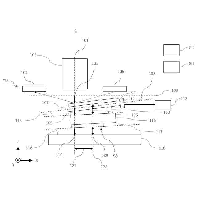
【解決手段】ステップ・アンド・リピート方式で基板を露光する露光装置であって、定盤上で移動するスライダと、スライダ上で基板の傾きを調整する微動ステージと、を含み、基板を保持するステージと、定盤を基準として微動ステージの傾きを計測して第1計測値を取得する第1計測部と、スライダに対する微動ステージの傾きを計測して第2計測値を取得する第2計測部と、ステージのステップ移動中に取得された第1計測値及び第2計測値から定盤に対するスライダの傾きを求め、スライダの傾きに基づいて、ステージのステップ移動後に投影光学系の光軸方向における基板の位置を投影光学系の焦点面に合わせるためのフォーカス駆動においてステージの光軸方向の位置を補正するための補正値を求める処理部と、を有することを特徴とする露光装置を提供する。
【選択図】図1
特許請求の範囲
【請求項1】
ステップ・アンド・リピート方式で基板を露光する露光装置であって、
定盤上で移動するスライダと、前記スライダ上で前記基板の傾きを調整する微動ステージと、を含み、前記基板を保持するステージと、
前記ステージによって保持された前記基板に原版のパターンを投影する投影光学系と、
前記定盤を基準として前記微動ステージの傾きを計測して第1計測値を取得する第1計測部と、
前記スライダに対する前記微動ステージの傾きを計測して第2計測値を取得する第2計測部と、
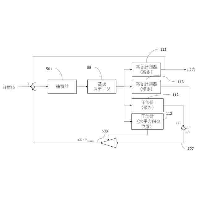
前記ステージのステップ移動中に取得された前記第1計測値及び前記第2計測値から前記定盤に対する前記スライダの傾きを求め、前記スライダの傾きに基づいて、前記ステージのステップ移動後に前記投影光学系の光軸方向における前記基板の位置を前記投影光学系の焦点面に合わせるためのフォーカス駆動において前記ステージの前記光軸方向の位置を補正するための補正値を求める処理部と、
を有することを特徴とする露光装置。
続きを表示(約 1,100 文字)
【請求項2】
前記処理部は、前記定盤に対する前記スライダの傾きとして、前記ステージのステップ移動中に取得された前記第1計測値と前記第2計測値との差分を求める、ことを特徴とする請求項1に記載の露光装置。
【請求項3】
前記処理部は、前記差分と、前記ステージのステップ移動中に前記第1計測値及び前記第2計測値を取得したときの前記ステージの水平方向の位置とに基づいて、前記補正値を求める、ことを特徴とする請求項2に記載の露光装置。
【請求項4】
前記補正値は、前記フォーカス駆動における前記ステージの前記光軸方向の目標位置に対する差分を含む、ことを特徴とする請求項1に記載の露光装置。
【請求項5】
前記補正値は、前記フォーカス駆動における前記ステージの前記光軸方向の目標位置を指示する目標値に加算される、ことを特徴とする請求項1に記載の露光装置。
【請求項6】
前記ステージによって保持された前記基板の前記光軸方向の位置を計測するフォーカス計測部を更に有し、
前記処理部は、前記定盤に対する前記スライダの傾きとして、前記フォーカス計測部が前記ステージのステップ移動中に前記基板の前記光軸方向の位置を計測する計測期間に取得された前記第1計測値と前記第2計測値との差分の平均を求める、ことを特徴とする請求項5に記載の露光装置。
【請求項7】
前記補正値は、前記フォーカス駆動における前記ステージのサーボ制御の目標値に対する偏差として入力される、ことを特徴とする請求項1に記載の露光装置。
【請求項8】
前記処理部は、前記定盤に対する前記スライダの傾きとして、前記ステージのステップ移動中に取得された前記第1計測値と前記第2計測値との差分と、前記ステージが整定している状態で取得された前記第1計測値と前記第2計測値との基準差分との差分を求める、ことを特徴とする請求項1に記載の露光装置。
【請求項9】
前記処理部は、前記ステージの水平方向の複数の位置のそれぞれについて、前記ステージが整定している状態で取得された前記第1計測値と前記第2計測値との基準差分を求め、
前記複数の位置のそれぞれについての前記基準差分を記憶する記憶部を更に有する、
ことを特徴とする請求項8に記載の露光装置。
【請求項10】
前記処理部は、前記ステージのサーボ制御における前記ステージの位置偏差に基づいて、前記ステージが整定している状態であるかどうかを判定する、ことを特徴とする請求項8に記載の露光装置。
(【請求項11】以降は省略されています)
発明の詳細な説明
【技術分野】
【0001】
本発明は、露光装置、露光方法及び物品の製造方法に関する。
続きを表示(約 1,800 文字)
【背景技術】
【0002】
半導体素子などの製造プロセスに用いられる露光装置として、ステップ・アンド・リピート方式で原版のパターンを基板に転写する露光装置(ステッパ)が知られている。このような露光装置では、エア圧で浮上し、リニアモータを用いて推力を得る基板ステージが用いられる場合がある。
【0003】
基板ステージの位置は、固定定盤に設けられた干渉計システムによって計測されている。一方、基板ステージの高さは、装置内スペースの制約、基板ステージの可動部の重量の増加、干渉計システムのコストに関する問題などから、基板ステージに設けられたエンコーダ(高さ計測器)によって計測されている。
【0004】
基板ステージを水平方向に駆動する場合、リニアモータの推力の作用線上に基板ステージの重心が位置していないと、基板ステージにピッチングモーメントが発生する。そして、ピッチングモーメントによって、エア圧で浮上している基板ステージの部分、具体的には、エアパッドが力を受けるため、エアギャップに変動が生じる。但し、基板ステージに設けられたエンコーダは、固定定盤が基準となるため、エアギャップの変動に対して不感である。従って、基板ステージにピッチングモーメントが発生している状態において、基板の表面の高さを、基板の上方に設けられたフォーカス計測器で計測すると、その計測値(フォーカス値)には、エアギャップの変動に対応する誤差が含まれることになる。
【0005】
そこで、基板ステージが駆動する際の動的な状態におけるフォーカス値の変動量を事前に取得し、基板ステージのステップ駆動の方向ごとに、オフセットとして記憶して補正する技術が提案されている(特許文献1参照)。このように、従来の露光装置では、再現性を有する線形成分のオフセットを取得し、フォーカス計測時の基板ステージの高さを補正(補償)している。具体的には、エンコーダで得られた基板ステージの高さの計測値と、干渉計で得られた基板ステージの傾き(姿勢)の計測値と、基板ステージの水平方向の位置から算出された値に加えて、オフセットを考慮して基板ステージの高さを補正している。
【先行技術文献】
【特許文献】
【0006】
特開2020-109531号公報
【発明の概要】
【発明が解決しようとする課題】
【0007】
しかしながら、従来技術では、エアギャップに変動が発生している状態で取得されたオフセット(フォーカス値の変動量)が、装置運用が進むにつれて変化する場合には、基板ステージの高さを高精度に補正することができない。なお、オフセットを定期的に更新することも考えられるが、オフセットが変化するたびに、オフセットを取得しなければならないため、手間がかかることになる。
【0008】
本発明は、このような従来技術の課題に鑑みてなされ、基板を保持するステージのフォーカス駆動を高精度に行うのに有利な技術を提供することを例示的目的とする。
【課題を解決するための手段】
【0009】
上記目的を達成するために、本発明の一側面としての露光装置は、ステップ・アンド・リピート方式で基板を露光する露光装置であって、定盤上で移動するスライダと、前記スライダ上で前記基板の傾きを調整する微動ステージと、を含み、前記基板を保持するステージと、前記ステージによって保持された前記基板に原版のパターンを投影する投影光学系と、前記定盤を基準として前記微動ステージの傾きを計測して第1計測値を取得する第1計測部と、前記スライダに対する前記微動ステージの傾きを計測して第2計測値を取得する第2計測部と、前記ステージのステップ移動中に取得された前記第1計測値及び前記第2計測値から前記定盤に対する前記スライダの傾きを求め、前記スライダの傾きに基づいて、前記ステージのステップ移動後に前記投影光学系の光軸方向における前記基板の位置を前記投影光学系の焦点面に合わせるためのフォーカス駆動において前記ステージの前記光軸方向の位置を補正するための補正値を求める処理部と、を有することを特徴とする。
【0010】
本発明の更なる目的又はその他の側面は、以下、添付図面を参照して説明される実施形態によって明らかにされるであろう。
【発明の効果】
(【0011】以降は省略されています)
この特許をJ-PlatPat(特許庁公式サイト)で参照する
関連特許
キヤノン株式会社
トナー
1か月前
キヤノン株式会社
撮像装置
1か月前
キヤノン株式会社
定着装置
18日前
キヤノン株式会社
定着装置
18日前
キヤノン株式会社
記録装置
4日前
キヤノン株式会社
撮像装置
10日前
キヤノン株式会社
撮像装置
3日前
キヤノン株式会社
撮像装置
3日前
キヤノン株式会社
撮像装置
3日前
キヤノン株式会社
撮像装置
18日前
キヤノン株式会社
表示装置
10日前
キヤノン株式会社
記録装置
4日前
キヤノン株式会社
撮像装置
18日前
キヤノン株式会社
表示装置
3日前
キヤノン株式会社
撮像装置
3日前
キヤノン株式会社
撮像装置
3日前
キヤノン株式会社
撮像装置
26日前
キヤノン株式会社
撮像装置
12日前
キヤノン株式会社
表示装置
10日前
キヤノン株式会社
撮像装置
10日前
キヤノン株式会社
表示装置
10日前
キヤノン株式会社
雲台装置
1か月前
キヤノン株式会社
定着装置
24日前
キヤノン株式会社
二次電池
5日前
キヤノン株式会社
電子機器
3日前
キヤノン株式会社
発光装置
10日前
キヤノン株式会社
電子機器
26日前
キヤノン株式会社
定着装置
24日前
キヤノン株式会社
定着装置
24日前
キヤノン株式会社
記録装置
24日前
キヤノン株式会社
露光ヘッド
24日前
キヤノン株式会社
インク容器
4日前
キヤノン株式会社
画像形成装置
13日前
キヤノン株式会社
インク収納体
12日前
キヤノン株式会社
画像形成装置
26日前
キヤノン株式会社
画像形成装置
26日前
続きを見る
他の特許を見る