TOP
|
特許
|
意匠
|
商標
特許ウォッチ
Twitter
他の特許を見る
公開番号
2025172366
公報種別
公開特許公報(A)
公開日
2025-11-26
出願番号
2024077838
出願日
2024-05-13
発明の名称
インク収納体
出願人
キヤノン株式会社
代理人
弁理士法人秀和特許事務所
主分類
B41J
2/175 20060101AFI20251118BHJP(印刷;線画機;タイプライター;スタンプ)
要約
【課題】インク収納体として高機能かつ高信頼性を保ちつつ、積層シートの各層を分離する必要がない、リサイクル性を向上させたインク収納体。本明細書に記載の技術は脱炭素/循環型社会などの持続可能な社会の実現に貢献し得る。
【解決手段】インク吐出装置で吐出されるインクを収納するインク収納体であって、該インク収納体は、積層シートからなり、内部に該インクを収納するインク収納袋と、該インク収納袋の内部の該インクを該インク吐出装置へ供給するためのインク供給部を備えたインク供給部材と、を有し、該積層シートを構成する樹脂材料が、ポリオレフィン樹脂を90質量%以上含有する。
【選択図】図2
特許請求の範囲
【請求項1】
インク吐出装置で吐出されるインクを収納するインク収納体であって、
該インク収納体は、
積層シートからなり、内部に該インクを収納するインク収納袋と、
該インク収納袋の内部の該インクを該インク吐出装置へ供給するためのインク供給部を備えたインク供給部材と、
を有し、
該積層シートを構成する樹脂材料が、ポリオレフィン樹脂を90質量%以上含有する、ことを特徴とするインク収納体。
続きを表示(約 970 文字)
【請求項2】
前記ポリオレフィン樹脂が、ポリプロピレン樹脂である、請求項1に記載のインク収納体。
【請求項3】
前記ポリオレフィン樹脂が、ポリエチレン樹脂である、請求項1に記載のインク収納体。
【請求項4】
前記積層シートが、保護層を備え、
該保護層が、前記インク収納袋における最外層に配され、
該保護層が、該保護層の配向度60%以上、及び該保護層のゲル分率15%以上の少なくとも一方を満たす、請求項1~3のいずれか1項に記載のインク収納体。
【請求項5】
前記保護層の厚みが、10μm以上150μm以下である、請求項4に記載のインク収納体。
【請求項6】
前記積層シートが、シール層を備え、
該シール層が、前記インク収納袋における最内層に配され、
該シール層が、無延伸ポリプロピレン、中密度ポリエチレン及び低密度ポリエチレンからなる群から選択される少なくとも一を含み、
該シール層が熱溶着されて前記インク収納袋を形成している、請求項1~3のいずれか1項に記載のインク収納体。
【請求項7】
前記シール層の厚みが、30μm以上200μm以下である、請求項6に記載のインク収納体。
【請求項8】
前記積層シートが、前記積層シートの層間の接着層を備え、
該接着層が、ポリプロピレン樹脂及びポリエチレン樹脂からなる群から選択される少なくとも一を含み、
該接着層は、該ポリプロピレン樹脂及び該ポリエチレン樹脂からなる群から選択される少なくとも一の共重合成分として、不飽和カルボン酸及び不飽和カルボン酸無水物に対応するモノマーユニットを含有する、請求項1~3のいずれか1項に記載のインク収納体。
【請求項9】
前記接着層の厚みが、0.05μm以上1.0μm以下である、請求項8に記載のインク収納体。
【請求項10】
前記積層シートが、前記積層シートの層間のバリア層を備え、
該バリア層が、アルミニウム及び無機酸化物からなる群から選択される少なくとも一を含む、請求項1~3のいずれか1項に記載のインク収納体。
(【請求項11】以降は省略されています)
発明の詳細な説明
【技術分野】
【0001】
本開示はインク収納体に関する。
続きを表示(約 1,800 文字)
【背景技術】
【0002】
従来、インクジェット記録装置にインクを供給するためのインク収納体が広く利用されている。例えば、特許文献1に開示されたインク収納体は、樹脂を主体とした積層シートからなり、可撓性を有する袋を備えており、その袋にインクジェット記録装置に供給するためのインクが収容されている。
【先行技術文献】
【特許文献】
【0003】
特開2018-065373号公報
【発明の概要】
【発明が解決しようとする課題】
【0004】
特許文献1において、インク収納体の袋の材質は、特に限定がなく、例えば、ポリエチレンとポリエチレンテレフタレート(PET)など複数種の樹脂材料を使用してインク収納体を形成することができる。
ここで、材料のリサイクルを考えた場合、ポリエチレンとPETは性質が大きく異なるための、リサイクルするためにはそれらを分離する必要がある。しかしながら、各々のシートは接着剤等で強力に接合されているため、容易に分離できず、また、分離を行うためのコストも大きく、インク収納体のリサイクルが困難になる。
そこで本開示は、インク収納体として高機能かつ高信頼性を保ちつつ、積層シートの各層を分離する必要がない、リサイクル性を向上させたインク収納体を提供する。
【課題を解決するための手段】
【0005】
本開示は、インク吐出装置で吐出されるインクを収納するインク収納体であって、
該インク収納体は、
積層シートからなり、内部に該インクを収納するインク収納袋と、
該インク収納袋の内部の該インクを該インク吐出装置へ供給するためのインク供給部を備えたインク供給部材と、
を有し、
該積層シートを構成する樹脂材料が、ポリオレフィン樹脂を90質量%以上含有する、インク収納体に関する。
【発明の効果】
【0006】
本開示によれば、インク収納体として高機能かつ高信頼性を保ちつつ、積層シートの各層を分離する必要がない、リサイクル性を向上させたインク収納体を提供することができる。
【図面の簡単な説明】
【0007】
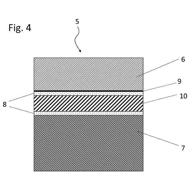
液体吐出装置の模式斜視図である。
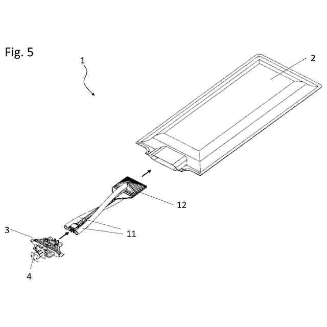
実施例に係るインク収納体の模式斜視図、および模式断面図である。
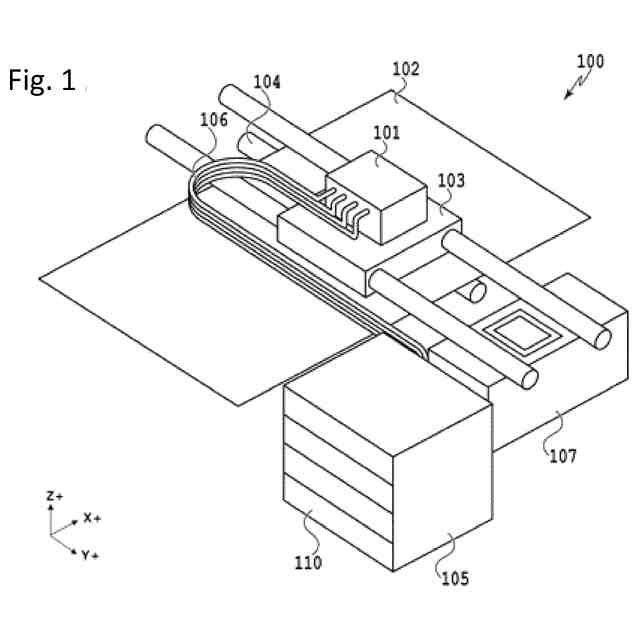
実施例に係るインク収納体を構成する積層シートの模式断面図である。
実施例に係るインク収納体を構成する積層シートの模式断面図である。
実施例に係るインク収納体の模式斜視図である。
実施例に係るインク収納体の模式斜視図である。
【発明を実施するための形態】
【0008】
本開示において、数値範囲を表す「XX以上YY以下」や「XX~YY」の記載は、特に断りのない限り、端点である下限及び上限を含む数値範囲を意味する。数値範囲が段階的に記載されている場合、各数値範囲の上限及び下限は任意に組み合わせることができる。また、本開示において、例えば「XX、YY及びZZからなる群から選択される少なくとも一つ」のような記載は、XX、YY、ZZ、XXとYYとの組合せ、XXとZZとの組合せ、YYとZZとの組合せ、又はXXとYYとZZとの組合せのいずれかを意味する。なお、XXが群の場合はXXから複数を選択してもよく、YY及びZZについても同様である。
【0009】
本開示において、「ポリオレフィン樹脂」とは、オレフィンモノマーに対応するモノマーユニットを、50質量%以上含む樹脂を示す。「モノマーユニット」とは、ポリマー中のモノマー物質の反応した形態をいう。ポリオレフィン樹脂は、オレフィンモノマーの重合体を含んでもよく、オレフィンモノマーを含むモノマー混合物の共重合体を含んでもよい。なお、ポリオレフィン樹脂は、オレフィンモノマーの重合体又は共重合体が100質量%であることが好ましい。
【0010】
以下、本開示の技術を実施するための形態について図面を用いて説明する。なお、以下の実施の形態は特許請求の範囲に係る発明を限定するものでなく、また、実施の形態で説明されている特徴の組み合わせの全てが発明の解決手段に必須のものとは限らない。
(【0011】以降は省略されています)
この特許をJ-PlatPat(特許庁公式サイト)で参照する
関連特許
キヤノン株式会社
容器
27日前
キヤノン株式会社
容器
1か月前
キヤノン株式会社
トナー
19日前
キヤノン株式会社
トナー
1か月前
キヤノン株式会社
電子機器
19日前
キヤノン株式会社
定着装置
12日前
キヤノン株式会社
撮像装置
1か月前
キヤノン株式会社
定着装置
6日前
キヤノン株式会社
記録装置
12日前
キヤノン株式会社
表示装置
27日前
キヤノン株式会社
測距装置
1か月前
キヤノン株式会社
定着装置
12日前
キヤノン株式会社
撮像装置
6日前
キヤノン株式会社
撮像装置
1か月前
キヤノン株式会社
撮像装置
19日前
キヤノン株式会社
撮像装置
6日前
キヤノン株式会社
撮像装置
20日前
キヤノン株式会社
撮像装置
27日前
キヤノン株式会社
雲台装置
19日前
キヤノン株式会社
記録装置
19日前
キヤノン株式会社
撮像装置
1か月前
キヤノン株式会社
定着装置
6日前
キヤノン株式会社
記録装置
1か月前
キヤノン株式会社
現像装置
1か月前
キヤノン株式会社
現像装置
1か月前
キヤノン株式会社
現像容器
1か月前
キヤノン株式会社
撮像装置
今日
キヤノン株式会社
撮像装置
14日前
キヤノン株式会社
現像装置
1か月前
キヤノン株式会社
現像容器
1か月前
キヤノン株式会社
測距装置
21日前
キヤノン株式会社
定着装置
12日前
キヤノン株式会社
記録装置
19日前
キヤノン株式会社
電子機器
14日前
キヤノン株式会社
電子機器
19日前
キヤノン株式会社
露光ヘッド
12日前
続きを見る
他の特許を見る