TOP
|
特許
|
意匠
|
商標
特許ウォッチ
Twitter
他の特許を見る
公開番号
2025166805
公報種別
公開特許公報(A)
公開日
2025-11-06
出願番号
2025068502
出願日
2025-04-18
発明の名称
熱力学システムおよび当該システムを備えた機械
出願人
エイエルアイ グループ ソチエタ ア レスポンサビリタ リミタータ カルピジャーニ
,
ALI GROUP S.r.l.CARPIGIANI
代理人
個人
,
個人
主分類
F25B
1/00 20060101AFI20251029BHJP(冷凍または冷却;加熱と冷凍との組み合わせシステム;ヒートポンプシステム;氷の製造または貯蔵;気体の液化または固体化)
要約
【課題】液体または半液体の食品の熱処理を可能にでき、最適な条件下での動作を保証するシステムを提供する。
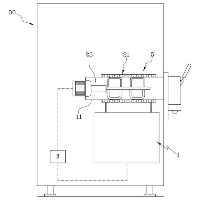
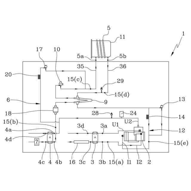
【解決手段】液体又は半液体タイプの食品を収容する第1の容器11を冷却または加熱するための熱力学システム1であって、熱交換流体を使用する回路を備え、熱交換流体用の第1の入口I1及び第1の出口U1と、熱交換流体用の第2の入口I2及び第2の出口U2とを備えた圧縮機2と、圧縮機2の第2の出口U2に接続された熱交換流体用の入口4a、出口4bと、サービス流体用の入口4c、出口4dとを備える第1の熱交換器4と、第1の容器11と関連付けられた第2の熱交換器5と、第1の熱交換器4の熱交換流体用の出口4bから第2の熱交換器5の入口5aまで延びる熱交換流体用の入口ブランチ35と、第2の熱交換器5の出口5bから圧縮機2の第1の入口I1まで延びる熱交換流体用の出口ブランチ36と、制御及び駆動ユニットとを有する。
【選択図】図1
特許請求の範囲
【請求項1】
液体または半液体タイプの食品を収容する少なくとも1つの第1の容器(11)を冷却または加熱するための熱力学システム(1)であって、熱交換流体を、好ましくはトランスクリティカルの熱交換流体を、使用する回路を備え、当該熱力学システムは、少なくとも、
- 前記熱交換流体用の第1の入口(I1)および第1の出口(U1)と、前記熱交換流体用の第2の入口(I2)および第2の出口(U2)とを備えた圧縮機(2)と、
- 前記圧縮機(2)の前記第2の出口(U2)に接続された、前記熱交換流体用の入口(4a)と、前記熱交換流体用の出口(4b)とを備える第1の熱交換器(4)であって、前記熱交換流体とサービス流体との間の熱交換を可能にするように構成されており、また、前記サービス流体用の入口(4c)と、前記サービス流体用の出口(4d)とを備える、第1の熱交換器(4)と、
- 前記少なくとも1つの第1の容器(11)と関連付けられた第2の熱交換器(5)と、
- 前記第1の熱交換器(4)の前記熱交換流体用の前記出口(4b)から前記第2の熱交換器(5)の入口(5a)まで延びる、前記熱交換流体用の入口ブランチ(35)と、
- 前記第2の熱交換器(5)の出口(5b)から前記圧縮機(2)の前記第1の入口(I1)まで延びる、前記熱交換流体用の出口ブランチ(36)と、
- 制御および駆動ユニット(8)とを有し、
当該熱力学システム(1)は、バイパスブランチ(12)とバイパス弁(13)とを備え、前記バイパスブランチ(12)は、前記第2の熱交換器(5)の下流で前記出口ブランチ(36)に沿って配置された前記バイパス弁(13)と平行に配置されており、その結果、前記バイパス弁(13)が非アクティブであるとき、前記熱交換流体は前記バイパスブランチ(12)に流入し、前記バイパスブランチ(12)は、前記バイパスブランチ(12)と動作的に関連付けられた第2の圧力低減要素(14)を有し、前記バイパスブランチ(12)は、前記第2の熱交換器(5)の前記出口(5b)から流出した前記熱交換流体を前記圧縮機(2)の前記第1の入口(I1)に直接搬送するように構成されている、熱力学システム(1)。
続きを表示(約 2,300 文字)
【請求項2】
前記バイパス弁(13)は、前記制御および駆動ユニット(8)を介して動作的にアクティベート可能であり、前記熱交換流体が前記圧縮機(2)の前記第1の入口(I1)に向かって流れることを可能にする、請求項1に記載の熱力学システム(1)。
【請求項3】
前記第1の熱交換器(4)の前記入口(4c)に入る前記サービス流体は水であり、前記第1の熱交換器(4)の前記入口(4c)に入る前記サービス流体の流量は、前記制御および駆動ユニット(8)を介して動作的にアクティベート可能である調節手段(7)によって調節される、請求項1または2に記載の熱力学システム(1)。
【請求項4】
前記入口ブランチ(35)内の前記熱交換流体の流れ方向に対して前記入口ブランチ(35)に沿って前記第1の熱交換器(4)の下流に設置された電子式サーモスタット弁(10)であって、前記制御および駆動ユニット(8)を介して、動作的にアクティベート可能であり、前記第2の熱交換器(5)内の所定の蒸発圧力を調節するために前記熱交換流体の負荷損失を調節する、電子式サーモスタット弁(10)を備える、請求項1から3の一以上に記載の熱力学システム(1)。
【請求項5】
-前記入口ブランチ(35)内を流れる前記熱交換流体の温度を監視するための第1の監視手段(15c)であって、前記入口ブランチ(35)内の前記熱交換流体の流れ方向に対して前記第2の熱交換器(5)の前記入口(5a)の上流に設置されており、熱交換流体の温度データ信号を提供するように構成された、第1の監視手段(15c)と、
-前記出口ブランチ(36)内を流れる前記熱交換流体の温度を監視するための第2の監視手段(15d)であって、前記出口ブランチ(36)内の前記熱交換流体の流れ方向に対して前記第2の熱交換器(5)の前記出口(5b)の下流に設置されており、熱交換流体の温度データ信号を提供するように構成された、第2の監視手段(15d)と、を備える請求項1から4の一以上に記載の熱力学システム(1)。
【請求項6】
-前記圧縮機(2)の前記第2の出口(U2)と前記第1の熱交換器(4)の前記熱交換流体の前記入口(4a)との間を流れる前記熱交換流体の圧力を表す圧力データ信号を生成するように構成された第1の圧力トランスデューサ(28)であって、前記調節手段(7)によって前記熱交換器(4)に入る前記サービス流体の流量を調節する、第1の圧力トランスデューサ(28)と、
-前記第2の監視手段(15d)の下流で前記出口ブランチ(36)に沿って設置され且つ熱交換流体の圧力データ信号を提供するように構成された第2の圧力トランスデューサ(29)とを備え、
前記電子式サーモスタット弁(10)は、前記第1の監視手段(15c)および前記第2の監視手段(15d)からの前記温度データ信号と、前記第2の圧力トランスデューサ(29)からの前記圧力データ信号とに応じて、調整される、請求項1から5のいずれか一項に記載の熱力学システム(1)。
【請求項7】
-前記圧縮機(2)の前記第1の出口(U1)と、前記圧縮機(2)の前記第2の入口(I2)とに接続された第3の熱交換器(3)であって、前記熱交換流体とサービス流体との間の熱交換を可能にするように構成されており、前記サービス流体用の入口(3c)と、前記サービス流体用の出口(3d)とを備える、第3の熱交換器(3)と、
-前記熱交換器(3)に入る前記サービス流体用の前記入口(3c)に接続されており且つ前記第3の熱交換器(3)に入る前記サービス流体の流量を調節するために前記制御および駆動ユニット(8)を介してアクティベート可能であるエレクトロバルブ(16)と、
-前記第3の熱交換器(3)の前記出口(3b)から流出する前記熱交換流体の温度を表す温度データ信号を前記制御および駆動ユニット(8)に提供するように構成された温度センサ(15a)と、を備える請求項1から6のいずれか一項に記載の熱力学システム(1)。
【請求項8】
前記第1の熱交換器(4)の前記熱交換流体の前記出口(4b)と前記第2の熱交換器(5)の前記入口(5a)との間の前記入口ブランチ(35)に沿って設置された脱水フィルタ(18)を備える、請求項1から7のいずれか一項に記載の熱力学システム(1)。
【請求項9】
-高温ガス熱力学サイクルを実行するための高温ガスブランチ(6)であって、前記圧縮機(2)の前記第2の出口(U2)から流出した前記熱交換流体を前記第2の熱交換器(5)の前記入口(5a)に搬送するように構成された、高温ガスブランチ(6)と、
-前記高温ガスブランチ(6)と動作的に関連付けられ且つその内部の熱交換流体の流れを防止するまたは許容するように前記ブランチ(6)を閉鎖および開放するように構成された少なくとも1つの選択的閉鎖要素(17)と、
-前記熱交換流体の流れ方向に対して前記選択的閉鎖要素(17)の上流で前記高温ガスブランチ(6)と動作的に関連付けられた第1の圧力低減要素(20)と、を備える請求項1から8の一以上に記載の熱力学システム(1)。
【請求項10】
前記入口ブランチ(35)に沿って流れる前記熱交換流体と前記出口ブランチ(36)に沿って流れる前記熱交換流体との間の熱交換部分を規定するように構成された再生熱交換器(9)を備える、請求項1から9の一以上に記載の熱力学システム(1)。
(【請求項11】以降は省略されています)
発明の詳細な説明
【技術分野】
【0001】
本発明は、液体または半液体の食品を調製するための機械の技術分野に関する。
続きを表示(約 880 文字)
【0002】
特に、本発明は、熱力学システムおよび本発明のシステムを備えた、液体または半液体の食品用の機械に関する。
【背景技術】
【0003】
液体および半液体の製品用の機械の業界では、例えばアイスクリーム、ペストリー、または類似の産業などの機械の業界では、所定のレシピを実行して完成した液体または半液体の製品を製造するために、ベース製品を熱処理(すなわち、冷却および/または加熱)することが知られている。
【0004】
容器内の製品を熱処理(加熱または冷却)して、その食品/官能的特徴を変化させることを可能にする熱力学的タイプの複数の加熱システムが知られている。
【0005】
実際、専門的なアイスクリーム機械は、アイスクリームの混合物を冷却してバッチ冷凍するだけでなく、最適な衛生状態を保証するためにそれを低温殺菌する必要があるという性質を持っている。
【0006】
したがって、アイスクリーム機械の動作サイクルは、アイスクリームを冷却して製造するステップおよびアイスクリームを加熱、維持、冷却することを含む低温殺菌ステップというさまざまなステップを含む。
【0007】
さらに、アイスクリームが低温殺菌後に再度冷却される場合、それはバッチ冷凍される必要がある。
【0008】
アイスクリームのバッチ冷凍は伝統的に、蒸気圧縮冷凍サイクルと機械的な撹拌を組み合わせることによって実行される。
【0009】
その代わりに、低温殺菌プロセスは、高温ガスを蒸発器に注入することによって、または蒸気圧縮サイクルのヒートポンプ動作によって、実行される。
【0010】
また、ほとんどの熱力学冷却システムは、熱交換流体で作動する熱力学回路によって容器を冷却することを可能にし、すべてが熱交換流体を使用する一対の交換器(蒸発器と凝縮器)、圧縮機および絞り要素を備えることが知られている。
(【0011】以降は省略されています)
この特許をJ-PlatPat(特許庁公式サイト)で参照する
関連特許
株式会社不二工機
膨張弁
23日前
株式会社不二工機
膨張弁
23日前
ホシザキ株式会社
製氷機
1か月前
個人
ヒートポンプ型空気調和機
1か月前
富士電機株式会社
冷却装置
1か月前
フクシマガリレイ株式会社
断熱扉
24日前
ホシザキ株式会社
冷凍装置
28日前
富士電機株式会社
自動販売機
22日前
富士ベンダーサービス株式会社
保管庫
1か月前
フクシマガリレイ株式会社
冷却貯蔵庫
17日前
フクシマガリレイ株式会社
冷却貯蔵庫
28日前
富士電機株式会社
冷却システム
2か月前
ダイキン工業株式会社
冷凍装置
1か月前
株式会社ゼロカラ
冷凍装置
2日前
三菱重工冷熱株式会社
低温冷水供給装置
1か月前
株式会社ゼロカラ
冷凍装置
2日前
フクシマガリレイ株式会社
ショーケース
1か月前
ダイキン工業株式会社
冷媒充填方法
1か月前
アクア株式会社
冷蔵庫
1か月前
シャープ株式会社
冷蔵庫
2か月前
フクシマガリレイ株式会社
商品販売システム
1か月前
シャープ株式会社
冷蔵庫
1か月前
島田工業株式会社
製氷装置及び製氷方法
1か月前
アクア株式会社
冷却ボックス装置
7日前
アクア株式会社
冷却ボックス装置
7日前
株式会社アイシン
冷暖房システム
1か月前
株式会社オカムラ
故障予知システム
1か月前
株式会社富士通ゼネラル
冷凍サイクル装置
29日前
株式会社富士通ゼネラル
冷凍サイクル装置
1か月前
株式会社富士通ゼネラル
冷凍サイクル装置
1か月前
株式会社前川製作所
冷却装置
1か月前
東芝ライフスタイル株式会社
冷却装置
1か月前
東芝ライフスタイル株式会社
冷却装置
1か月前
日本碍子株式会社
空調システム
1か月前
三菱重工冷熱株式会社
冷却装置
1か月前
富士電機株式会社
店舗用冷却装置制御システム
1か月前
続きを見る
他の特許を見る