TOP
|
特許
|
意匠
|
商標
特許ウォッチ
Twitter
他の特許を見る
10個以上の画像は省略されています。
公開番号
2025161971
公報種別
公開特許公報(A)
公開日
2025-10-24
出願番号
2025141437,2023177016
出願日
2025-08-27,2023-10-12
発明の名称
盛土構造、プレキャストコンクリート床版及び盛土構造の構築方法
出願人
株式会社エンバイン
代理人
個人
,
個人
,
個人
主分類
E02D
17/18 20060101AFI20251017BHJP(水工;基礎;土砂の移送)
要約
【課題】発泡樹脂ブロックとコンクリート床版とを備えた盛土構造であって、地震動が発生した場合であっても発泡樹脂ブロックとプレキャストコンクリート床版とのすべりが抑制される盛土構造を提供する。
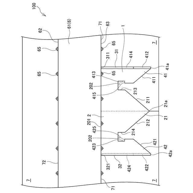
【解決手段】実施形態における盛土構造100は、盛土用の発泡樹脂ブロック7と、発泡樹脂ブロック7に設けられるコンクリート床版6と、を備える盛土構造100であって、コンクリート床版6は、プレキャストコンクリート床版61を有し、プレキャストコンクリート床版61は、発泡樹脂ブロック7と接触する上面及び下面の少なくとも何れか一方に、発泡樹脂ブロック7に埋設されるスパイク65を有することを特徴とする。
【選択図】図3
特許請求の範囲
【請求項1】
盛土用の発泡樹脂ブロックと、前記発泡樹脂ブロックに設けられるコンクリート床版と、を備える盛土構造であって、
前記コンクリート床版は、プレキャストコンクリート床版を有し、
前記プレキャストコンクリート床版は、前記発泡樹脂ブロックと接触する上面及び下面の少なくとも何れか一方に、前記発泡樹脂ブロックに埋設されるスパイクを有すること
を特徴とする盛土構造。
続きを表示(約 1,100 文字)
【請求項2】
前記プレキャストコンクリート床版は、下面に前記スパイクを有すること
を特徴とする請求項1記載の盛土構造。
【請求項3】
前記プレキャストコンクリート床版は、上面に前記スパイクを有すること
を特徴とする請求項1又は2記載の盛土構造。
【請求項4】
前記スパイクは、前記プレキャストコンクリート床版の表面が粗面化処理されて形成されること
を特徴とする請求項1記載の盛土構造。
【請求項5】
前記スパイクは、所定の形状に突出して形成されること
を特徴とする請求項1記載の盛土構造。
【請求項6】
複数の前記発泡樹脂ブロックと、
前記発泡樹脂ブロック同士を連結する連結具と、を備え、
前記連結具は、
板状の連結板部と、
前記連結板部の一方の側端部を折り曲げて形成される第1アンカー板部と、
前記連結板部の他方の側端部を折り曲げて形成される第2アンカー板部と、
前記連結板部と前記第1アンカー板部との折り曲げ箇所の端面が頂部となるように下方に突出される第1爪部と、
前記連結板部と前記第2アンカー板部との折り曲げ箇所の端面が頂部となるように下方に突出される第2爪部と、を有し、
前記連結板部の上端面、前記第1アンカー板部の上端面及び前記第2アンカー板部の上端面は、面一で形成されること
を特徴とする請求項1記載の盛土構造。
【請求項7】
盛土用の発泡樹脂ブロックに設けられるプレキャストコンクリート床版であって、
前記発泡樹脂ブロックと接触する上面及び下面の少なくとも何れか一方に、前記発泡樹脂ブロックに埋設するためのスパイクを有すること
を特徴とするプレキャストコンクリート床版。
【請求項8】
盛土用の発泡樹脂ブロックと、前記発泡樹脂ブロックに設けられるコンクリート床版と、を備える盛土構造の構築方法であって、
前記コンクリート床版は、プレキャストコンクリート床版を有し、
上面及び下面の少なくとも何れか一方にスパイクを有する前記プレキャストコンクリート床版の前記スパイクを前記発泡樹脂ブロックに埋設すること
を特徴とする盛土構造の構築方法。
【請求項9】
前記プレキャストコンクリート床版の下面の前記スパイクを前記発泡樹脂ブロックに埋設すること
を特徴とする請求項8記載の盛土構造の構築方法。
【請求項10】
前記プレキャストコンクリート床版の上面の前記スパイクを前記発泡樹脂ブロックに埋設すること
を特徴とする請求項8記載の盛土構造の構築方法。
発明の詳細な説明
【技術分野】
【0001】
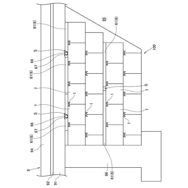
この発明は、盛土用の発泡樹脂ブロックと、前記発泡樹脂ブロックに設けられるコンクリート床版と、を備える盛土構造、プレキャストコンクリート床版及び盛土構造の構築方法に関する。
続きを表示(約 1,700 文字)
【背景技術】
【0002】
従来、発泡樹脂ブロックを用いた盛土構造に関する技術として、特許文献1が開示される。
【0003】
特許文献1の発泡スチロールブロックの耐震緊結構造は、隣接する2つの発泡スチロールブロックが発泡スチロールブロック用耐震緊結金具により緊結され、該緊結金具は、プレート部と、プレート部の周縁に設けられ、プレート部に対して垂直に折り曲げられることで形成された複数の爪部とを有する。プレート部と複数の爪部との間に形成された複数の折り線は、1つの正方形の各辺に沿うように配置されている。
【先行技術文献】
【特許文献】
【0004】
特開2017-2692号公報
【発明の概要】
【発明が解決しようとする課題】
【0005】
ここで、発泡樹脂ブロックを用いた従来の盛土構造は、発泡樹脂ブロックの上面に、特許文献1記載の緊結金具のプレート部が載置され、プレート部から下方に折り曲げられた爪部が発泡樹脂ブロックに差し込まれる。そして、該緊結金具が設けられた発泡樹脂ブロックの上側に、例えばコンクリートを現場で打設したコンクリート床版、発泡樹脂ブロック、芝生、シート材等の上載部材が設置される。
【0006】
該緊結金具を用いた従来の盛土構造は、発泡樹脂ブロックの上側にプレキャストコンクリート床版等の上載部材を設置しようとすると、発泡樹脂ブロックの上面に露出された該緊結金具のプレート部が障害となる。このため、発泡樹脂ブロックの上面に、プレキャスト製のコンクリート床版を設置しようとしても、プレキャスト製のコンクリート床版の下面と発泡樹脂ブロックの上面とが直接接触することができず、金属面に上載するため滑りやすく、適切な擦抵抗力を確保することができない。したがって、従来の盛土構造では、コンクリート床版は現場打ちコンクリートにすることで、該緊結金具を巻き込み発泡樹脂ブロックに直接コンクリート面が接する納りとする事で摩擦抵抗面を確保し対応していた。このように、従来の盛土構造では、コンクリート床版を現場打ちしなければならず、プレキャスト製のコンクリート床版を安全に設置することが困難という事情があった。
【0007】
そこで本発明は、上述した問題に鑑みて案出されたものであり、その目的とするところは、発泡樹脂ブロックとコンクリート床版とを備えた盛土構造であって、地震動が発生した場合であっても発泡樹脂ブロックとプレキャストコンクリート床版とのすべりが抑制される盛土構造、プレキャストコンクリート床版及び盛土構造の構築方法を提供することにある。
【課題を解決するための手段】
【0008】
本発明に係る盛土構造は、盛土用の発泡樹脂ブロックと、前記発泡樹脂ブロックに設けられるコンクリート床版と、を備える盛土構造であって、前記コンクリート床版は、プレキャストコンクリート床版を有し、前記プレキャストコンクリート床版は、前記発泡樹脂ブロックと接触する上面及び下面の少なくとも何れか一方に、前記発泡樹脂ブロックに埋設されるスパイクを有することを特徴とする。
【0009】
本発明に係るプレキャストコンクリート床版は、盛土用の発泡樹脂ブロックに設けられるプレキャストコンクリート床版であって、前記発泡樹脂ブロックと接触する上面及び下面の少なくとも何れか一方に、前記発泡樹脂ブロックに埋設するためのスパイクを有することを特徴とする。
【0010】
本発明に係る盛土構造の構築方法は、盛土用の発泡樹脂ブロックと、前記発泡樹脂ブロックに設けられるコンクリート床版と、を備える盛土構造の構築方法であって、前記コンクリート床版は、プレキャストコンクリート床版を有し、上面及び下面の少なくとも何れか一方にスパイクを有する前記プレキャストコンクリート床版の前記スパイクを前記発泡樹脂ブロックに埋設することを特徴とする。
【発明の効果】
(【0011】以降は省略されています)
この特許をJ-PlatPat(特許庁公式サイト)で参照する
関連特許
個人
バケット
6日前
個人
建物の不同沈下の修正方法
13日前
株式会社大林組
操縦装置
9日前
千代田工営株式会社
回転貫入杭
20日前
株式会社富田製作所
継手部構造
6日前
株式会社熊谷組
山留壁用親杭
26日前
株式会社熊谷組
地盤改良方法
29日前
ヤンマーホールディングス株式会社
作業機械
19日前
ヤンマーホールディングス株式会社
作業機械
19日前
日立建機株式会社
作業機械
20日前
日立建機株式会社
作業機械
26日前
日立建機株式会社
建設機械
27日前
日立建機株式会社
作業車両
22日前
日立建機株式会社
作業機械
26日前
日立建機株式会社
作業機械
27日前
日立建機株式会社
作業機械
26日前
日立建機株式会社
建設機械
27日前
日本車輌製造株式会社
建設機械
22日前
FKS株式会社
擁壁及び擁壁の築造方法
8日前
鹿島建設株式会社
接続方法および接続構造
22日前
ライト工業株式会社
鉄筋保持用治具
27日前
株式会社次世代一次産業実践所
登山道の施工装置
14日前
株式会社三誠
建物の免震構造
13日前
カナデビア株式会社
サクション基礎
27日前
株式会社竹内製作所
作業用車両
26日前
JFEスチール株式会社
鋼管矢板の継手構造
27日前
株式会社竹内製作所
作業用車両
26日前
株式会社竹内製作所
作業用車両
26日前
株式会社竹内製作所
作業用車両
26日前
株式会社日立建機ティエラ
建設機械
28日前
山形新興株式会社
建築物の基礎及び基礎成形型
21日前
清水建設株式会社
遮水層の構築方法
26日前
浙江工業大学
多機能土柱モデル装置及び使用方法
1か月前
コベルコ建機株式会社
施工システム
26日前
個人
アンカーボルト支持装置
19日前
日本車輌製造株式会社
杭打機の表示システム
1日前
続きを見る
他の特許を見る