TOP
|
特許
|
意匠
|
商標
特許ウォッチ
Twitter
他の特許を見る
公開番号
2025161552
公報種別
公開特許公報(A)
公開日
2025-10-24
出願番号
2024064843
出願日
2024-04-12
発明の名称
出力制御方法
出願人
トヨタ自動車株式会社
代理人
弁理士法人明成国際特許事務所
主分類
H01M
8/04 20160101AFI20251017BHJP(基本的電気素子)
要約
【課題】燃料電池システムにおいて、二次電池の出力電圧低下によって燃料電池システムの稼働が阻害されることを抑制する。
【解決手段】負荷に電力を供給する燃料電池システムを制御する出力制御方法であって、燃料電池システムは、燃料電池と、燃料電池と負荷との間に接続され、燃料電池からの供給電力を昇圧するコンバータと、負荷に対して並列に、コンバータを介して燃料電池に接続された二次電池と、コンバータを介して燃料電池に接続されているとともに、二次電池に接続されて二次電池から電力を供給されて駆動する補機と、を備え、出力制御方法は、補機の駆動状況に関連する予め定められた制限条件が成立した場合に、二次電池の出力電圧が予め定められた閾値以下とならない使用許可電力を特定するステップと、使用許可電力に応じて二次電池の出力電力を制御する制限制御を実行するステップと、を備える。
【選択図】図1
特許請求の範囲
【請求項1】
負荷に電力を供給する燃料電池システムを制御する出力制御方法であって、
前記燃料電池システムは、
燃料電池と、
前記燃料電池と前記負荷との間に接続され、前記燃料電池からの供給電力を昇圧するコンバータと、
前記負荷に対して並列に、前記コンバータを介して前記燃料電池に接続された二次電池と、
前記コンバータを介して前記燃料電池に接続されているとともに、前記二次電池に接続されて前記二次電池から電力を供給されて駆動する補機と、
を備え、
前記出力制御方法は、
前記補機の駆動状況に関連する予め定められた制限条件が成立した場合に、前記二次電池の出力電圧が予め定められた閾値以下とならない使用許可電力を特定するステップと、
前記使用許可電力に応じて前記二次電池の出力電力を制限する制限制御を実行するステップと、
を備える、
出力制御方法。
続きを表示(約 510 文字)
【請求項2】
請求項1に記載の出力制御方法であって、
前記制限条件が成立した場合であっても、予め定められた制限緩和条件が成立した場合には、前記制限制御は実行されない、
出力制御方法。
【請求項3】
請求項1または請求項2に記載の出力制御方法であって、
前記制限条件は、前記燃料電池が発電中であり、かつ、前記補機の要求電力が予め定められた閾値以上であるとの条件を含む、
出力制御方法。
【請求項4】
請求項2に記載の出力制御方法であって、
前記補機は、前記燃料電池に冷却媒体を供給する冷却媒体ポンプを含み、
前記制限緩和条件は、
前記二次電池の出力電力の増大により前記二次電池の出力電圧が予め定められた閾値以下となる時間が、予め定められた閾値時間以下であることと、
前記補機の温度が、予め定められた補機閾値温度以下であることと、
前記冷却媒体ポンプにより供給される前記冷却媒体の温度が、予め定められた冷媒閾値温度以下であることと、
のうちの少なくとも1つの条件を含む、
出力制御方法。
発明の詳細な説明
【技術分野】
【0001】
本開示は、出力制御方法に関する。
続きを表示(約 2,500 文字)
【背景技術】
【0002】
従来、燃料電池と二次電池とを備え、二次電池が、コンバータを介さずに駆動モータに接続されている燃料電池システムが知られている(例えば、特許文献1)。燃料電池システムにおいて発電される電力は、駆動モータの他、燃料電池システムを稼働させるための補機に供給される。
【先行技術文献】
【特許文献】
【0003】
特開2023-146166号公報
【発明の概要】
【発明が解決しようとする課題】
【0004】
かかるシステムでは、二次電池からの出力電力が大きい場合など、二次電池の電圧が低下する場合がある。この場合、燃料電池運転に必要な補機の出力が低下するなど燃料電池システムの出力が低下するおそれがある。
【課題を解決するための手段】
【0005】
本開示は、以下の形態として実現することが可能である。
【0006】
(1)本開示の一形態によれば、負荷に電力を供給する燃料電池システムを制御する出力制御方法が提供される。この出力制御方法において、前記燃料電池システムは、燃料電池と、前記燃料電池と前記負荷との間に接続され、前記燃料電池からの供給電力を昇圧するコンバータと、前記負荷に対して並列に、前記コンバータを介して前記燃料電池に接続された二次電池と、前記コンバータを介して前記燃料電池に接続されているとともに、前記二次電池に接続されて前記二次電池から電力を供給されて駆動する補機と、を備え、前記出力制御方法は、前記補機の駆動状況に関連する予め定められた制限条件が成立した場合に、前記二次電池の出力電圧が予め定められた閾値以下とならない使用許可電力を特定するステップと、前記使用許可電力に応じて前記二次電池の出力電力を制限する制限制御を実行するステップと、を備える。
この形態の出力制御方法によれば、制限条件が成立した場合に、二次電池の出力電圧が予め定められた閾値以下とならない使用許可電力を特定し、使用許可電力に応じて二次電池の出力電力を制御する制限制御を実行するので、二次電池の出力電圧が予め定められた閾値以下となって補機の出力が低下することを抑制でき、燃料電池システムの出力が低下することを抑制できる。
(2)上記実施形態において、前記制限条件が成立した場合であっても、予め定められた制限緩和条件が成立した場合には、前記制限制御は実行されなくてもよい。
この形態の出力制御方法によれば、制限条件が成立した場合であっても、予め定められた制限緩和条件が成立した場合には制限制御は実行されないので、制限制御と平常時の制御とが頻繁に切り替わり、燃料電池システムの稼働が不安定になることを抑制できる。
(3)上記実施形態において、前記制限条件は、前記燃料電池が発電中であり、かつ、前記補機の要求電力が予め定められた閾値以上であるとの条件を含んでもよい。
この形態の出力制御方法によれば、制限条件は、燃料電池が発電中であり、かつ、補機の要求電力が予め定められた閾値以上であるとの条件を含むので、補機の要求電力の増大により燃料電池システムの出力が低下することを抑制できる。
(4)上記実施形態において、前記補機は、前記燃料電池に冷却媒体を供給する冷却媒体ポンプを含み、前記制限緩和条件は、前記二次電池の出力電力の増大により前記二次電池の出力電圧が予め定められた閾値以下となる時間が、予め定められた閾値時間以下であることと、前記補機の温度が、予め定められた補機閾値温度以下であることと、前記冷却媒体ポンプにより供給される前記冷却媒体の温度が、予め定められた冷媒閾値温度以下であることと、のうちの少なくとも1つの条件を含んでもよい。
この形態の出力制御方法によれば、二次電池の出力電力の増大により二次電池の出力電圧が予め定められた閾値以下となる時間が、予め定められた閾値時間以下であることと、補機の温度が、予め定められた補機閾値温度以下であることと、冷却媒体ポンプにより供給される冷却媒体の温度が、予め定められた冷媒閾値温度以下であることと、のうちの少なくとも1つの条件が成立した場合には制限制御を実行しないので、かかる場合に、制限制御と平常時の制御とが頻繁に切り替わり、燃料電池システムの稼働が不安定になることを抑制できる。
【図面の簡単な説明】
【0007】
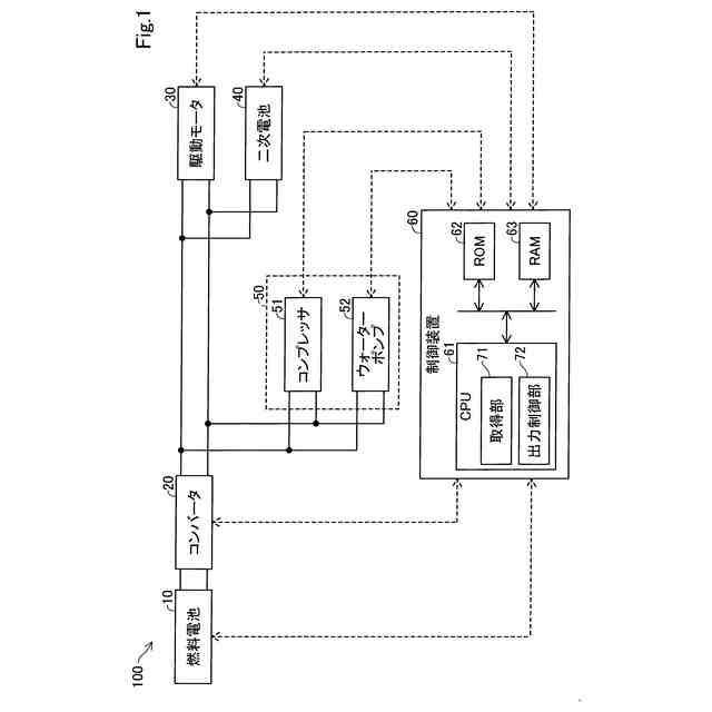
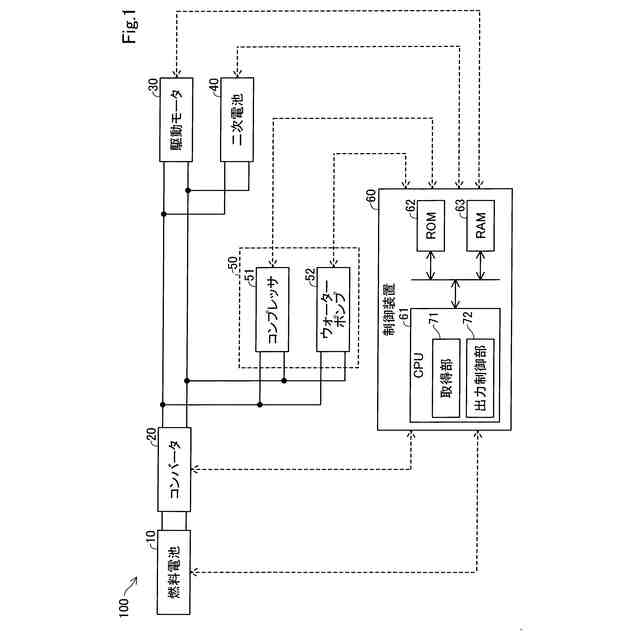
本実施形態の燃料電池システムの概略を示す説明図である。
本実施形態の出力制御方法の手順を示すフローチャートである。
【発明を実施するための形態】
【0008】
A.実施形態:
A-1.システム構成:
本実施形態の燃料電池システム100は、燃料電池車両、例えば、自動車、バス、トラック等に搭載されている。なお、燃料電池システム100は、車両以外の各種移動体、例えば、電車、船舶や飛行機、または、系統電源と独立した定置用燃料電池装置等に搭載されてもよい。
【0009】
図1は、本実施形態の燃料電池システム100の概略を示す説明図である。図1に示すように、燃料電池システム100は、燃料電池10と、コンバータ20と、駆動モータ30と、二次電池40と、補機50と、制御装置60とを備える。制御装置60は、上述した燃料電池10、コンバータ20、駆動モータ30、二次電池40および補機50と互いに通信可能に構成されている。
【0010】
燃料電池10は、複数の燃料電池セルが積層されたスタック構造を有する。燃料電池10は、燃料ガスと酸化ガスとを、複数の燃料電池セル内で化学反応させることによって発電する。本実施例の燃料電池システム100では、燃料ガスとして水素ガスを使用し、酸化ガスとして空気を使用する。なお、図1では、燃料ガスを供給するための燃料ガス供給配管、酸化ガスを供給するための酸化ガス供給配管、および燃料電池10を冷却する冷却媒体としての冷却水の循環のための冷却水循環配管の図示は省略されている。
(【0011】以降は省略されています)
この特許をJ-PlatPat(特許庁公式サイト)で参照する
関連特許
トヨタ自動車株式会社
方法
3日前
トヨタ自動車株式会社
車両
2日前
トヨタ自動車株式会社
方法
2日前
トヨタ自動車株式会社
方法
3日前
トヨタ自動車株式会社
車体
5日前
トヨタ自動車株式会社
方法
4日前
トヨタ自動車株式会社
電池
2日前
トヨタ自動車株式会社
車両
4日前
トヨタ自動車株式会社
車両
3日前
トヨタ自動車株式会社
モータ
4日前
トヨタ自動車株式会社
電動機
2日前
トヨタ自動車株式会社
自動車
3日前
トヨタ自動車株式会社
正極層
2日前
トヨタ自動車株式会社
蓄電装置
3日前
トヨタ自動車株式会社
燃料電池
4日前
トヨタ自動車株式会社
コネクタ
3日前
トヨタ自動車株式会社
蓄電装置
2日前
トヨタ自動車株式会社
充電装置
4日前
トヨタ自動車株式会社
報知装置
4日前
トヨタ自動車株式会社
通知装置
2日前
トヨタ自動車株式会社
蓄電セル
2日前
トヨタ自動車株式会社
駆動装置
3日前
トヨタ自動車株式会社
蓄電装置
2日前
トヨタ自動車株式会社
蓄電装置
5日前
トヨタ自動車株式会社
冷却構造
4日前
トヨタ自動車株式会社
塗工装置
4日前
トヨタ自動車株式会社
蓄電セル
2日前
トヨタ自動車株式会社
塗工装置
2日前
トヨタ自動車株式会社
蓄電セル
2日前
トヨタ自動車株式会社
路側装置
2日前
トヨタ自動車株式会社
バッテリ
2日前
トヨタ自動車株式会社
電気自動車
3日前
トヨタ自動車株式会社
車両下部構造
3日前
トヨタ自動車株式会社
車両前部構造
2日前
トヨタ自動車株式会社
射出成形装置
5日前
トヨタ自動車株式会社
車両制御装置
2日前
続きを見る
他の特許を見る