TOP
|
特許
|
意匠
|
商標
特許ウォッチ
Twitter
他の特許を見る
公開番号
2025160990
公報種別
公開特許公報(A)
公開日
2025-10-24
出願番号
2024063789
出願日
2024-04-11
発明の名称
車両前部構造
出願人
トヨタ自動車株式会社
代理人
弁理士法人あーく事務所
主分類
B60K
11/04 20060101AFI20251017BHJP(車両一般)
要約
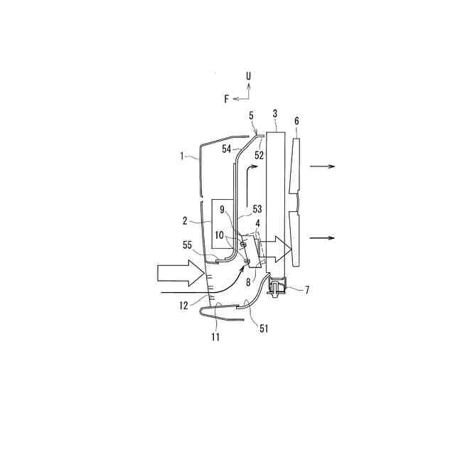
【課題】車両の通常走行時の走行風をダクトからラジエータに安定的に導く一方で、前記ダクトへの高圧水の流入時に前記高圧水を速やかに排水可能とする。
【解決手段】グリル開口11から導入される走行風を第1、第2ラジエータ3,4に導くダクト5を備えている車両前部構造であって、ダクト5の側壁には、排水口8が設けられており、排水口8には、当該排水口8を開閉するための開閉部材9が設けられており、開閉部材9は、ばね10によって閉塞方向に付勢されており、ダクト5に流入する流体の圧力が所定以上のときに開放される。
【選択図】図1
特許請求の範囲
【請求項1】
グリル開口から導入される走行風をラジエータに導くダクトを備えている車両前部構造であって、
前記ダクトの側壁には、排水口が設けられており、前記排水口には、当該排水口を開閉するための開閉部材が設けられており、前記開閉部材は、ばねによって閉塞方向に付勢されており、前記ダクトに流入する流体の圧力が所定以上のときに開放されることを特徴とする車両前部構造。
発明の詳細な説明
【技術分野】
【0001】
本発明は、車両前部構造に関する。
続きを表示(約 1,200 文字)
【背景技術】
【0002】
例えば特許文献1には、「ラジエータの前側で前側バンパーカバーより後側に配置されたダクトであって、ラジエータの前側面に対向する立壁を有し、前記立壁の後側に、グリル開口から導入された走行風を前記ラジエータに導く経路を形成する」ということが記載されている。
【先行技術文献】
【特許文献】
【0003】
特開2022-81237号公報
【発明の概要】
【発明が解決しようとする課題】
【0004】
上記特許文献1では、ダクトに接続されるグリル開口が1つであってラジエータの前が覆われている場合、車両が冠水路を走行する時に水がダクト内から抜けず、車体前部の抵抗が大きくなり、走行性能の低下や、車体前部に配置される部品への負荷が増大することが懸念される。
【0005】
このような事情に鑑み、本発明は、車両の通常走行時の走行風をダクトからラジエータに安定的に導く一方で、前記ダクトへの高圧水の流入時に前記高圧水を速やかに排水可能とする車両前部構造の提供を目的としている。
【課題を解決するための手段】
【0006】
本発明は、グリル開口から導入される走行風をラジエータに導くダクトを備えている車両前部構造であって、前記ダクトの側壁には、排水口が設けられており、前記排水口には、当該排水口を開閉するための開閉部材が設けられており、前記開閉部材は、ばねによって閉塞方向に付勢されており、前記ダクトに流入する流体の圧力が所定以上のときに開放されることを特徴としている。
【0007】
なお、前記流体とは、空気や水のことである。この構成によれば、車両の通常走行時の走行風が前記ダクトに流入したときには前記開閉部材が前記排水口を閉塞したままの状態に保持されるので、前記走行風が前記ラジエータに安定的に導かれるようになる。
【0008】
一方、車両の冠水路の走行時のように前記通常走行時の走行風の圧力よりも高圧の水が前記ダクトに流入した時には前記開閉部材が前記ばねの付勢力に抗して前記排水口を開放する状態になるので、前記水が前記排水口から前記ダクトの外側に速やかに排出されるようになる。これにより、車両前部の抵抗が低減されることになるので、車両の走行性能が低下することを防止できるようになるとともに、車両前部に配置される部品への負荷を軽減できるようになる。
【0009】
ところで、前記排水口は、ダクトの側壁において走行風の導入口寄りに設けられている構成とすることができる。
【発明の効果】
【0010】
本発明によれば、車両の通常走行時の走行風をダクトからラジエータに安定的に導く一方で、前記ダクトへの高圧水の流入時に前記高圧水を速やかに排水可能とする車両前部構造を提供することができる。
【図面の簡単な説明】
(【0011】以降は省略されています)
この特許をJ-PlatPat(特許庁公式サイト)で参照する
関連特許
トヨタ自動車株式会社
車体
11日前
トヨタ自動車株式会社
方法
8日前
トヨタ自動車株式会社
方法
18日前
トヨタ自動車株式会社
方法
18日前
トヨタ自動車株式会社
方法
9日前
トヨタ自動車株式会社
車両
9日前
トヨタ自動車株式会社
車両
17日前
トヨタ自動車株式会社
電池
8日前
トヨタ自動車株式会社
電池
15日前
トヨタ自動車株式会社
椅子
18日前
トヨタ自動車株式会社
車両
2日前
トヨタ自動車株式会社
車両
15日前
トヨタ自動車株式会社
車両
10日前
トヨタ自動車株式会社
方法
10日前
トヨタ自動車株式会社
治具
3日前
トヨタ自動車株式会社
車両
4日前
トヨタ自動車株式会社
方法
9日前
トヨタ自動車株式会社
車両
2日前
トヨタ自動車株式会社
車両
8日前
トヨタ自動車株式会社
車両
22日前
トヨタ自動車株式会社
モータ
10日前
トヨタ自動車株式会社
モータ
16日前
トヨタ自動車株式会社
電動機
8日前
トヨタ自動車株式会社
自動車
9日前
トヨタ自動車株式会社
加熱器
22日前
トヨタ自動車株式会社
モータ
5日前
トヨタ自動車株式会社
サーバ
5日前
トヨタ自動車株式会社
電動車
18日前
トヨタ自動車株式会社
電磁弁
18日前
トヨタ自動車株式会社
飛行体
15日前
トヨタ自動車株式会社
正極層
8日前
トヨタ自動車株式会社
塗工装置
10日前
トヨタ自動車株式会社
電源装置
3日前
トヨタ自動車株式会社
蓄電装置
9日前
トヨタ自動車株式会社
固体電池
5日前
トヨタ自動車株式会社
蓄電装置
11日前
続きを見る
他の特許を見る