TOP
|
特許
|
意匠
|
商標
特許ウォッチ
Twitter
他の特許を見る
10個以上の画像は省略されています。
公開番号
2025159494
公報種別
公開特許公報(A)
公開日
2025-10-21
出願番号
2024062093
出願日
2024-04-08
発明の名称
空調システム、調整装置、調整方法及びプログラム
出願人
三菱電機株式会社
代理人
個人
,
個人
,
個人
,
個人
,
個人
,
個人
主分類
F24F
11/64 20180101AFI20251014BHJP(加熱;レンジ;換気)
要約
【課題】ユーザの嗜好に応じて空調制御を調整する。
【解決手段】空調システム1は、室内空間を空調する空調部203と空調部203を制御する空調制御部202とを備える空気調和機20と、空気調和機20を操作するためのリモコン30と、リモコン30に対するユーザの操作に基づく指令コマンドであって自然言語により表現された指令コマンドの履歴をコマンド履歴として記憶部104に保存する履歴保存部103と、記憶部104に保存されたコマンド履歴を時間帯ごとに分析してユーザの嗜好を推定する嗜好推定部105と、嗜好推定部105により推定されたユーザの嗜好に基づいて空調制御部202による制御を調整する調整部106と、を備える。
【選択図】図1
特許請求の範囲
【請求項1】
室内空間を空調する空調手段と、前記空調手段を制御する空調制御手段と、を備える空気調和機と、
前記空気調和機を操作するためのリモートコントローラと、
前記リモートコントローラに対するユーザの操作に基づく指令コマンドであって自然言語により表現された指令コマンドの履歴をコマンド履歴として記憶手段に保存する履歴保存手段と、
前記記憶手段に保存された前記コマンド履歴を時間帯ごとに分析して前記ユーザの嗜好を推定する嗜好推定手段と、
前記嗜好推定手段により推定された前記ユーザの嗜好に基づいて前記空調制御手段による制御を調整する調整手段と、
を備える空調システム。
続きを表示(約 1,200 文字)
【請求項2】
前記嗜好推定手段は、前記コマンド履歴の分析において、潜在意味解析を行うためのモデルを用いて前記指令コマンドを分類することにより前記ユーザの嗜好を推定する、
請求項1に記載の空調システム。
【請求項3】
前記嗜好推定手段は、前記コマンド履歴の分析において、自然言語処理を行うためのモデルを用いて前記指令コマンドを分類することにより前記ユーザの嗜好を推定する、
請求項1に記載の空調システム。
【請求項4】
前記履歴保存手段はさらに、前記ユーザの住宅内に設置された電気機器に対する前記ユーザの操作の履歴も前記コマンド履歴として前記記憶手段に保存する、
請求項1から3のいずれか1項に記載の空調システム。
【請求項5】
前記嗜好推定手段はさらに、前記コマンド履歴の分析により将来における前記ユーザの嗜好を推定し、
前記調整手段はさらに、前記嗜好推定手段により推定された将来における前記ユーザの嗜好にも基づいて前記空調制御手段による制御を調整する、
請求項1に記載の空調システム。
【請求項6】
前記履歴保存手段はさらに、前記ユーザの住宅の外部の電力ネットワーク網から発信されたデマンドレスポンス制御の履歴も前記コマンド履歴として蓄積する、
請求項1に記載の空調システム。
【請求項7】
前記履歴保存手段はさらに、環境センサにより検出された環境に関する情報の履歴も前記コマンド履歴として前記記憶手段に保存する、
請求項1に記載の空調システム。
【請求項8】
前記履歴保存手段はさらに、前記ユーザの生体信号の履歴も前記コマンド履歴として前記記憶手段に保存する、
請求項1に記載の空調システム。
【請求項9】
空気調和機を操作するためのリモートコントローラに対するユーザの操作に基づく指令コマンドであって自然言語により表現された指令コマンドの履歴をコマンド履歴として記憶手段に保存する履歴保存手段と、
前記記憶手段に保存された前記コマンド履歴を時間帯ごとに分析して前記ユーザの嗜好を推定する嗜好推定手段と、
前記嗜好推定手段により推定された前記ユーザの嗜好に基づいて前記空気調和機の制御を調整する調整手段と、
を備える調整装置。
【請求項10】
空気調和機を操作するためのリモートコントローラに対するユーザの操作に基づく指令コマンドであって自然言語により表現された指令コマンドの履歴をコマンド履歴として記憶手段に保存し、
前記記憶手段に保存された前記コマンド履歴を時間帯ごとに分析して前記ユーザの嗜好を推定し、
推定した前記ユーザの嗜好に基づいて前記空気調和機の制御を調整する、
調整方法。
(【請求項11】以降は省略されています)
発明の詳細な説明
【技術分野】
【0001】
本開示は、空調システム、調整装置、調整方法及びプログラムに関する。
続きを表示(約 1,500 文字)
【背景技術】
【0002】
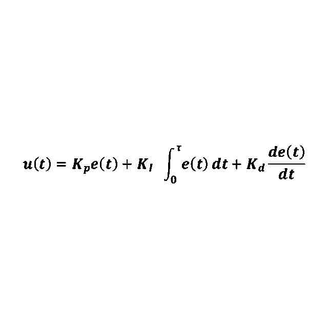
空気調和機の分野では、PID(Proportional-Integral-Differential: 比例積分微分)制御などの制御技術によって吐出する空気の温度、風量を調整して空調対象空間を空調する。
【0003】
制御技術に関連するものとして、例えば特許文献1には、PID制御において、操作量を一定の振幅で振動させる特殊運転を実行し、当該特殊運転中に取得した制御量に基づいて制御パラメータを調整する技術が開示されている。
【先行技術文献】
【特許文献】
【0004】
特開2009-151521号公報
【発明の概要】
【発明が解決しようとする課題】
【0005】
ところで、ユーザが空気調和機の設定をリモートコントローラ(以下「リモコン」)で変更する際には、ユーザの嗜好に従ってリモコンが操作される。ユーザの嗜好として、例えば頻繁に設定温度を変更する、省エネ重視の設定に変更する、などが挙げられる。
【0006】
ここで、ユーザの嗜好に応じて空気調和機の制御を調整することができれば、ユーザの嗜好により適した空調制御をすることができるようになる。
【0007】
本開示の目的は、上記の事情に鑑み、ユーザの嗜好に応じて空調制御を調整可能な空調システム等を提供することにある。
【課題を解決するための手段】
【0008】
上記の目的を達成するため、本開示に係る空調システムは、
室内空間を空調する空調手段と、前記空調手段を制御する空調制御手段と、を備える空気調和機と、
前記空気調和機を操作するためのリモートコントローラと、
前記リモートコントローラに対するユーザの操作に基づく指令コマンドであって自然言語により表現された指令コマンドの履歴をコマンド履歴として記憶手段に保存する履歴保存手段と、
前記記憶手段に保存された前記コマンド履歴を時間帯ごとに分析して前記ユーザの嗜好を推定する嗜好推定手段と、
前記嗜好推定手段により推定された前記ユーザの嗜好に基づいて前記空調制御手段による制御を調整する調整手段と、
を備える。
【発明の効果】
【0009】
本開示によれば、ユーザの嗜好に応じて空調制御を調整できる。
【図面の簡単な説明】
【0010】
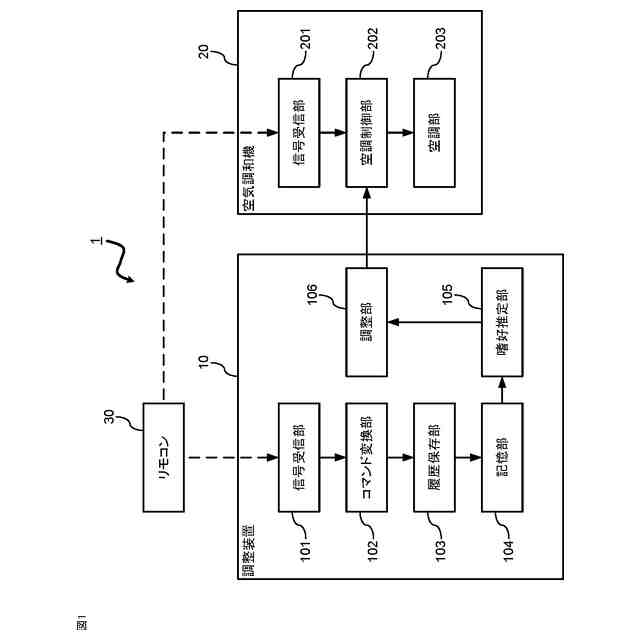
本開示の実施の形態1に係る空調システムの全体構成を示す図
本開示の実施の形態1に係る調整装置にて用いられる指令コマンド変換テーブルの一例を示す図
本開示の実施の形態1に係る調整装置に保存されるコマンド履歴の一例を示す図
本開示の実施の形態1に係る調整装置にて用いられるルールベースのモデルの一例を示す図
本開示の実施の形態1に係る調整装置による嗜好に応じた空調制御の調整内容の一例を示す図
本開示の実施の形態1に係る空調システムにおけるファジィ制御の一例を示す図
本開示の実施の形態1に係る調整装置のハードウェア構成の一例を示す図
本開示の実施の形態1に係る調整装置によるコマンド履歴の保存の動作の一例を示すフローチャート
本開示の実施の形態1に係る調整装置による空調制御の調整の動作の一例を示すフローチャート
本開示の実施の形態4に係る空調システムの全体構成を示す図
本開示の実施の形態4に係る空調システムの全体構成を示す図
【発明を実施するための形態】
(【0011】以降は省略されています)
この特許をJ-PlatPat(特許庁公式サイト)で参照する
関連特許
三菱電機株式会社
増幅器
1日前
三菱電機株式会社
換気扇
10日前
三菱電機株式会社
換気扇
10日前
三菱電機株式会社
換気扇
10日前
三菱電機株式会社
回転電機
26日前
三菱電機株式会社
回転電機
1か月前
三菱電機株式会社
電子機器
11日前
三菱電機株式会社
照明装置
1か月前
三菱電機株式会社
収集装置
8日前
三菱電機株式会社
半導体装置
1か月前
三菱電機株式会社
半導体装置
16日前
三菱電機株式会社
空気調和機
3日前
三菱電機株式会社
加熱調理器
29日前
三菱電機株式会社
給湯システム
29日前
三菱電機株式会社
照明システム
16日前
三菱電機株式会社
空調システム
1日前
三菱電機株式会社
貯湯式給湯機
26日前
三菱電機株式会社
ねじ締め装置
1日前
三菱電機株式会社
誘導加熱調理器
10日前
三菱電機株式会社
樹脂成形用金型
1日前
三菱電機株式会社
送電線保護装置
1か月前
三菱電機株式会社
非常用照明装置
29日前
三菱電機株式会社
電動機制御装置
22日前
三菱電機株式会社
換気空調システム
26日前
三菱電機株式会社
電流切替型DAC
16日前
三菱電機株式会社
風力発電システム
26日前
三菱電機株式会社
道路情報補正装置
3日前
三菱電機株式会社
ヒートポンプ装置
4日前
三菱電機株式会社
空気清浄システム
29日前
三菱電機株式会社
全館空調システム
8日前
三菱電機株式会社
照明制御システム
23日前
三菱電機株式会社
レンズモジュール
8日前
三菱電機株式会社
電池パック及び電池
3日前
三菱電機株式会社
コントロールセンタ
1か月前
三菱電機株式会社
保護継電器及び配電盤
10日前
三菱電機株式会社
照明器具及び照明装置
1か月前
続きを見る
他の特許を見る