TOP
|
特許
|
意匠
|
商標
特許ウォッチ
Twitter
他の特許を見る
公開番号
2025159178
公報種別
公開特許公報(A)
公開日
2025-10-17
出願番号
2025136715,2020160611
出願日
2025-08-20,2020-09-25
発明の名称
カートリッジ、印刷システム、および、印刷装置
出願人
セイコーエプソン株式会社
代理人
弁理士法人明成国際特許事務所
主分類
B41J
2/175 20060101AFI20251009BHJP(印刷;線画機;タイプライター;スタンプ)
要約
【課題】カートリッジ内に消費されずに残留する液体の量を低減する。
【解決手段】カートリッジは、液体を収容する液体収容部と、カートリッジ装着部に挿入される挿入方向側に位置する前壁と、前壁と交差し、前記液体導入部と接続する液体供給部が配置された底壁と、を備える。
【選択図】図11
特許請求の範囲
【請求項1】
液体を受け入れる液体導入部を有する印刷装置のカートリッジ装着部に装着されるカートリッジであって、
前記液体を収容する液体収容部と、
前記カートリッジ装着部に挿入される挿入方向側に位置する前壁と、
前記前壁と交差し、前記液体導入部と接続する液体供給部が配置された底壁と、を備える、カートリッジ。
続きを表示(約 1,100 文字)
【請求項2】
請求項1に記載のカートリッジであって、
前記液体供給部は、前記挿入方向と交差する方向に延びる、カートリッジ。
【請求項3】
請求項1または請求項2に記載のカートリッジであって、さらに、
前記挿入方向に沿って延び、前記カートリッジ装着部によって前記挿入方向に案内されるカートリッジ案内部を有する、カートリッジ。
【請求項4】
請求項3に記載のカートリッジであって、さらに、
前記前壁と前記底壁とに交差する第1側壁と、
前記前壁と前記底壁とに交差し、前記第1側壁と対向する第2側壁と、を有し、
前記カートリッジ案内部は、
前記第1側壁に形成された第1カートリッジ案内部と、
前記第2側壁に形成された第2カートリッジ案内部と、を有する、カートリッジ。
【請求項5】
請求項1から請求項4までのいずれか一項に記載のカートリッジであって、さらに、
前記前壁と前記底壁とが交差するコーナー部と、
前記コーナー部に配置された、前記カートリッジ装着部が有する装置側端子と電気的に接続可能なカートリッジ側端子と、を有する、カートリッジ。
【請求項6】
請求項1から請求項5までのいずれか一項に記載のカートリッジであって、さらに、
前記液体収容部と前記液体供給部とを有する、液体収容体と、
前記液体収容体に取り付けられ、前記底壁を形成するアダプターと、を有し、
前記アダプターは、前記液体供給部を配置する供給部配置室と、前記液体導入部が挿通する挿入開口部と、を有する、カートリッジ。
【請求項7】
請求項5に従属する請求項6に記載のカートリッジであって、
前記アダプターは、前記カートリッジ側端子が配置された前記コーナー部を有する、カートリッジ。
【請求項8】
請求項3または請求項4に従属する請求項6に記載のカートリッジであって、
前記アダプターは、前記カートリッジ案内部を有する、カートリッジ。
【請求項9】
印刷システムであって、
カートリッジが装着されるカートリッジ装着部を有する印刷装置と、
請求項1から請求項8までのいずれか一項に記載の前記カートリッジと、を備える、印刷システム。
【請求項10】
請求項9に記載の印刷システムであって、
前記カートリッジが前記カートリッジ装着部に挿入される挿入方向と、前記カートリッジの前記液体供給部が延びる方向とは交差する、印刷システム。
(【請求項11】以降は省略されています)
発明の詳細な説明
【技術分野】
【0001】
本開示は、カートリッジ、印刷システム、印刷装置についての技術に関する。
続きを表示(約 1,800 文字)
【背景技術】
【0002】
従来、印刷装置に着脱可能に装着されるカートリッジについて、カートリッジを印刷装置に挿入する挿入方向側に位置する前壁に液体供給部を配置する技術が知られている(特許文献1)。
【先行技術文献】
【特許文献】
【0003】
国際公開第2013/105504号
【発明の概要】
【発明が解決しようとする課題】
【0004】
従来の技術では、前壁に液体供給部が配置されているため、液体供給部を介して印刷装置にカートリッジに収容された液体を円滑に供給することができない場合が生じ得る。この場合、カートリッジ内に消費されずに残留する液体の量が増大する可能性がある。
【課題を解決するための手段】
【0005】
本開示の第1形態によれば、液体を受け入れる液体導入部を有する印刷装置のカートリッジ装着部に装着されるカートリッジが提供される。このカートリッジは、前記液体を収容する液体収容部と、前記カートリッジ装着部に挿入される挿入方向側に位置する前壁と、前記前壁と交差し、前記液体導入部と接続する液体供給部が配置された底壁と、を備える。
【0006】
本開示の第2形態によれば、印刷システムが提供される。この印刷システムは、カートリッジが装着されるカートリッジ装着部を有する印刷装置と、上記形態の前記カートリッジとを備える。
【0007】
本開示の第3形態によれば、印刷装置が提供される。この印刷装置は、上記形態のカートリッジが装着されるカートリッジ装着部を備え、前記カートリッジ装着部は、挿入方向に沿ってカートリッジが挿入されて、前記カートリッジを収容する収容室と、前記挿入方向と交差する方向に延びる液体導入部であって、前記カートリッジの液体供給部に接続される液体導入部と、を有する。
【図面の簡単な説明】
【0008】
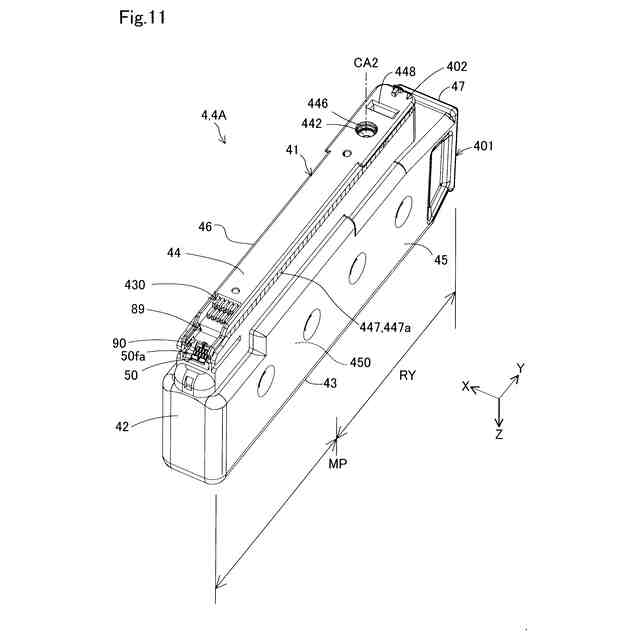
本開示の実施形態としての印刷システムの構成を示す斜視図。
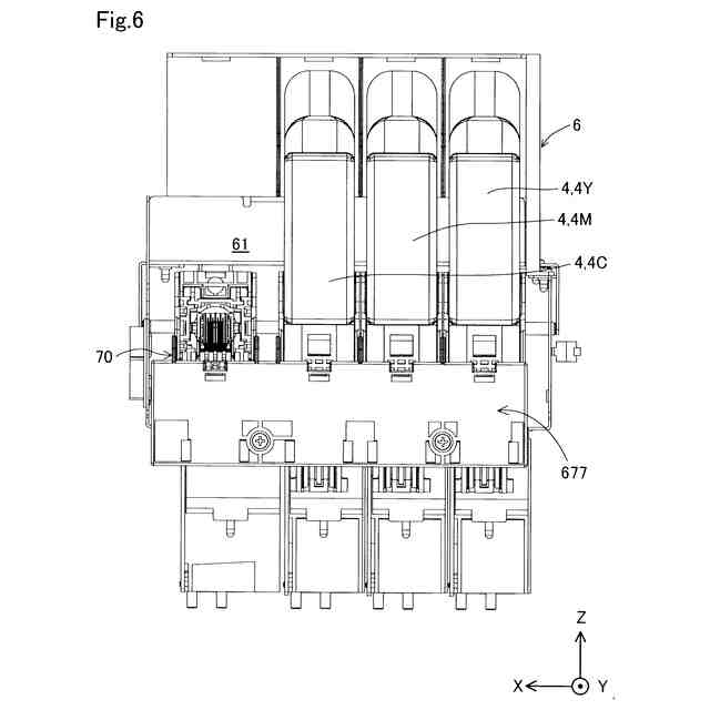
カートリッジ装着部を+Z方向側から見た図。
図2の3-3断面図。
図3の領域R4の拡大図。
カートリッジ装着部を+Y方向側から見た図。
カートリッジ装着部にカートリッジが装着された図。
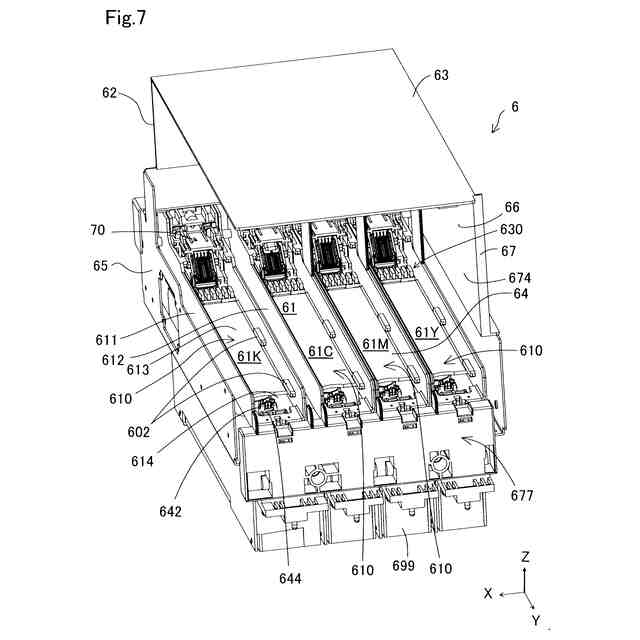
カートリッジ装着部の斜視図。
カートリッジ装着部を+Z方向側から見た図。
カートリッジ装着部の部分拡大図。
装置側端子部の断面模式図。
第1種カートリッジの斜視図。
第1種カートリッジの分解斜視図。
第1種カートリッジの一部を示す第1図。
第1種カートリッジの一部を示す第2図。
第1種カートリッジの第1側面図。
第1種カートリッジ4Aの第2側面図。
第1種カートリッジの正面図。
第1種カートリッジの背面図。
第1種カートリッジの上面図。
第2種カートリッジの斜視図。
第2種カートリッジの正面図。
第2種カートリッジの背面図。
装着過程を説明する第1図。
装着過程を説明する第2図。
図24の断面図。
装着過程を説明する第3図。
図26の断面図。
【発明を実施するための形態】
【0009】
A.実施形態:
A-1.印刷システムの構成:
図1は、本開示の実施形態としての印刷システム1の構成を示す斜視図である。図1には、互いに直交する3つの空間軸であるXYZ軸が描かれている。X軸,Y軸,Z軸の矢印が向いている方向は、それぞれX軸,Y軸,Z軸に沿った正の方向を示している。X軸,Y軸,Z軸に沿った正の方向を、それぞれ+X方向,+Y方向,+Z方向とする。X軸,Y軸,Z軸の矢印が向いている方向と逆の方向が、それぞれX軸,Y軸,Z軸に沿った負の方向である。X軸,Y軸,Z軸に沿った負の方向を、それぞれ-X方向,-Y方向,-Z方向とする。X軸,Y軸,Z軸に沿った方向で正負を問わないものを、それぞれX方向,Y方向,Z方向とよぶ。これ以降に示す図及び説明についても同様である。
【0010】
印刷システム1は、印刷装置10と、印刷装置10に液体であるインクを供給するカートリッジ4とを備える。
(【0011】以降は省略されています)
この特許をJ-PlatPat(特許庁公式サイト)で参照する
関連特許
個人
箔熱転写装置
1か月前
シヤチハタ株式会社
印判
4か月前
東レ株式会社
凸版印刷版原版
10か月前
シヤチハタ株式会社
反転式印判
9か月前
三菱製紙株式会社
感熱記録材料
11か月前
キヤノン株式会社
記録装置
1か月前
独立行政法人 国立印刷局
印刷物
7か月前
三光株式会社
感熱記録材料
6か月前
日本製紙株式会社
感熱記録体
7か月前
株式会社リコー
液体吐出装置
7か月前
株式会社リコー
画像形成装置
21日前
株式会社リコー
液体吐出装置
8か月前
株式会社リコー
画像形成装置
17日前
株式会社リコー
画像形成装置
1か月前
株式会社リコー
液体吐出装置
8か月前
株式会社リコー
液体吐出装置
6か月前
独立行政法人 国立印刷局
記録媒体
8か月前
株式会社リコー
液体吐出装置
5か月前
株式会社リコー
液体吐出装置
2か月前
株式会社リコー
液体吐出装置
4か月前
独立行政法人 国立印刷局
貼付機構
2か月前
株式会社リコー
印刷システム
21日前
株式会社リコー
液体吐出装置
4か月前
独立行政法人 国立印刷局
貼付装置
1か月前
ブラザー工業株式会社
プリンタ
9か月前
キヤノン株式会社
画像形成装置
8か月前
独立行政法人 国立印刷局
潜像形成体
17日前
フジコピアン株式会社
中間転写シート
10か月前
ブラザー工業株式会社
プリンタ
8か月前
キヤノン株式会社
画像形成装置
8か月前
キヤノン株式会社
画像形成装置
8か月前
キヤノン株式会社
印刷制御装置
10か月前
キヤノン株式会社
画像形成装置
8か月前
キヤノン株式会社
情報処理装置
9か月前
フジコピアン株式会社
熱転写記録媒体
11か月前
キヤノン株式会社
画像形成装置
7か月前
続きを見る
他の特許を見る