TOP
|
特許
|
意匠
|
商標
特許ウォッチ
Twitter
他の特許を見る
公開番号
2025159087
公報種別
公開特許公報(A)
公開日
2025-10-17
出願番号
2025133100,2022001104
出願日
2025-08-08,2022-01-06
発明の名称
包装容器内の残存酸素濃度測定方法
出願人
ゼネラルパッカー株式会社
代理人
個人
,
個人
主分類
G01N
21/59 20060101AFI20251009BHJP(測定;試験)
要約
【課題】包装機の下流側アウトラインにおいて包装容器内に残存した酸素の濃度を順次測定することができる包装容器内の残存酸素濃度測定方法を提供する。
【解決手段】本発明の包装容器内の酸素濃度測定方法は、包装機Pの下流側アウトライン11の搬送ライン12に配された搬送コンベア15のコンベアスピードに同期して移動可能な移動部71にレーザー式ガス濃度計Mが設けられ、搬送コンベア15のコンベアスピードに同期して移動部71が移動することでレーザー式ガス濃度計Mにより包装容器H内の残存酸素濃度が測定され、移動部71は、搬送コンベア15の搬送方向に沿って配された単軸ユニットのスライダーであり、レーザー式ガス濃度計Mはスライダーにより、搬送コンベア15の搬送方向に沿って往復動可能に構成されている。
【選択図】図5
特許請求の範囲
【請求項1】
上流側に設けられた包装機にて被包装物を充填しガス置換して包装された包装容器内の残存酸素濃度を下流側アウトラインにて測定する包装容器内の残存酸素濃度測定方法であって、
前記包装機の前記下流側アウトラインに配された搬送コンベアのコンベアスピードに同期して移動可能な移動部にレーザー式ガス濃度計が設けられ、前記搬送コンベアのコンベアスピードに同期して前記移動部が移動することで前記レーザー式ガス濃度計により包装容器内の残存酸素濃度が測定され、
前記移動部は、前記搬送コンベアの搬送方向に沿って配された単軸ユニットのスライダーであり、前記レーザー式ガス濃度計は、前記スライダーにより、前記搬送コンベアの搬送方向に沿って往復動可能に構成されていることを特徴とする包装容器内の残存酸素濃度測定方法。
続きを表示(約 250 文字)
【請求項2】
前記レーザー式ガス濃度計は、前記スライダーに設けられた昇降機構により昇降可能に構成されている請求項1に記載の包装容器内の残存酸素濃度測定方法。
【請求項3】
前記包装容器内の残存酸素濃度測定方法は、前記レーザー式ガス濃度計により包装容器内の残存酸素濃度が測定される工程の後、測定された包装容器内の残存酸素濃度により良品であるか不良品であるかを判定する判定工程と、良品と不良品とを仕分けする仕分け工程を行う請求項1または2に記載の包装容器内の残存酸素濃度測定方法。
発明の詳細な説明
【技術分野】
【0001】
本発明は、上流側に設けられた包装機の下流側アウトラインにおける包装容器内の残存酸素濃度測定方法に関する。
続きを表示(約 1,900 文字)
【背景技術】
【0002】
被包装物が特に食品の場合、保存期間、賞味期限を長くするために、包装時に包装容器内に残留する空気を排除して窒素、二酸化炭素等の不活性ガスを充填するガス置換包装が行われている。例えば特許文献1には、包装容器内に被包装物を投入すると共に、包装容器に挿入したノズルから不活性ガスを充填して不活性ガスと包装容器内の酸素との置換作用を行なう不活性ガス充填方法が開示されている。
【0003】
そして、製品検査において、被包装物を包装した包装容器内に残存する酸素濃度を測定する方法として、本件出願人が、例えば特許文献2にレーザー式ガス濃度測定装置による測定方法を提案している。
【先行技術文献】
【特許文献】
【0004】
特許第3742042号公報
特許第5124719号公報
【発明の概要】
【発明が解決しようとする課題】
【0005】
本願発明者らは、上記レーザー式ガス濃度測定装置による包装容器内の酸素濃度の測定を、上流側に設けられた包装機の下流側アウトラインにおいて行う方法を想起し本発明を成したものであり、すなわち、本発明の課題は、包装機の下流側アウトラインにおいて包装容器内に残存した酸素の濃度を順次測定することができる包装容器内の残存酸素濃度測定方法を提供することにある。
【課題を解決するための手段】
【0006】
上記課題を解決するものは、上流側に設けられた包装機にて被包装物を充填しガス置換して包装された包装容器内の残存酸素濃度を下流側アウトラインにて測定する包装容器内の残存酸素濃度測定方法であって、前記包装機の前記下流側アウトラインに配された搬送コンベアのコンベアスピードに同期して移動可能な移動部にレーザー式ガス濃度計が設けられ、前記搬送コンベアのコンベアスピードに同期して前記移動部が移動することで前記レーザー式ガス濃度計により包装容器内の残存酸素濃度が測定され、前記移動部は、前記搬送コンベアの搬送方向に沿って配された単軸ユニットのスライダーであり、前記レーザー式ガス濃度計は、前記スライダーにより、前記搬送コンベアの搬送方向に沿って往復動可能に構成されていることを特徴とする包装容器内の残存酸素濃度測定方法である(請求項1)。
【0007】
前記レーザー式ガス濃度計は、前記スライダーに設けられた昇降機構により昇降可能に構成されていることが好ましい(請求項2)。
【0008】
前記包装容器内の残存酸素濃度測定方法は、前記レーザー式ガス濃度計により包装容器内の残存酸素濃度が測定される工程の後、測定された包装容器内の残存酸素濃度により良品であるか不良品であるかを判定する判定工程と、良品と不良品とを仕分けする仕分け工程を行うことが好ましい(請求項3)。
【発明の効果】
【0009】
請求項1に記載の包装容器内の残存酸素濃度測定方法によれば、包装機の下流側アウトラインにおいて搬送中に包装容器内に残存した酸素の濃度を順次測定することができる。また、レーザー式ガス濃度計が搬送コンベアの搬送方向に沿って戻る動作を繰り返すことで、順次搬送されてくる包装容器内の残存酸素濃度を測定することができる。
請求項2に記載の包装容器内の残存酸素濃度測定方法によれば、レーザー式ガス濃度計を昇降させることで、順次搬送されてくる包装容器内の残存酸素濃度をより確実に測定することができる。
請求項3に記載の包装容器内の残存酸素濃度測定方法によれば、上記請求項2または3の効果に加え、良品判定の後、良品と不良品とを仕分けすることができる。
【図面の簡単な説明】
【0010】
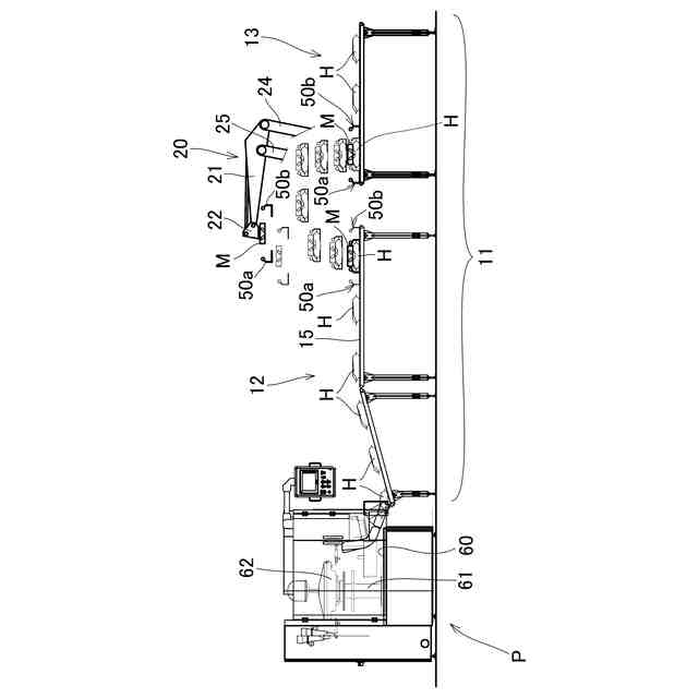
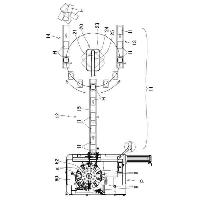
本発明の包装容器内の残存酸素濃度測定方法(第1の発明)の一実施例を説明するための平面概略図である。
図1に示した包装容器内の残存酸素濃度測定方法を説明するための正面概略図である。
図1に示した包装容器内の残存酸素濃度測定方法においてレーザー式ガス濃度計を組み込んだロボットハンドを説明するための説明図である。
本発明の包装容器内の残存酸素濃度測定方法(第2の発明)の一実施例を説明するための平面概略図である。
図4に示した包装容器内の残存酸素濃度測定方法を説明するための正面概略図である。
図4に示した包装容器内の残存酸素濃度測定方法を説明するための右側面概略図である。
【発明を実施するための形態】
(【0011】以降は省略されています)
この特許をJ-PlatPat(特許庁公式サイト)で参照する
関連特許
日本精機株式会社
検出装置
1日前
個人
採尿及び採便具
7日前
個人
アクセサリー型テスター
23日前
個人
高精度同時多点測定装置
22日前
甲神電機株式会社
電流検出装置
1日前
株式会社ミツトヨ
測定器
13日前
アズビル株式会社
電磁流量計
16日前
ダイキン工業株式会社
監視装置
27日前
トヨタ自動車株式会社
監視装置
28日前
愛知時計電機株式会社
ガスメータ
13日前
長崎県
形状計測方法
23日前
個人
システム、装置及び実験方法
16日前
TDK株式会社
磁気センサ
28日前
大和製衡株式会社
組合せ計量装置
10日前
大和製衡株式会社
組合せ計量装置
10日前
愛知電機株式会社
軸部材の外観検査装置
10日前
双庸電子株式会社
誤配線検査装置
2日前
ローム株式会社
半導体装置
21日前
ローム株式会社
半導体装置
21日前
日本特殊陶業株式会社
センサ
27日前
日本特殊陶業株式会社
センサ
27日前
ダイハツ工業株式会社
移動支援装置
28日前
日本特殊陶業株式会社
センサ
27日前
日本特殊陶業株式会社
センサ
27日前
日本特殊陶業株式会社
センサ
13日前
日本特殊陶業株式会社
センサ
27日前
日東精工株式会社
振動波形検査装置
2日前
株式会社デンソー
電流センサ
21日前
中国電力株式会社
電柱管理システム
27日前
トヨタ自動車株式会社
測定システム
20日前
アンリツ株式会社
X線検査装置
13日前
株式会社電巧社
試験装置及び試験方法
2日前
コイト電工株式会社
座席濡れ検知装置
27日前
住鉱潤滑剤株式会社
液体導電率測定装置
27日前
株式会社不二越
X線測定システム
22日前
株式会社トプコン
測定装置
27日前
続きを見る
他の特許を見る