TOP
|
特許
|
意匠
|
商標
特許ウォッチ
Twitter
他の特許を見る
10個以上の画像は省略されています。
公開番号
2025158349
公報種別
公開特許公報(A)
公開日
2025-10-17
出願番号
2024060816
出願日
2024-04-04
発明の名称
モータ
出願人
ミネベアミツミ株式会社
代理人
弁理士法人NYTパートナーズ
主分類
H02K
3/50 20060101AFI20251009BHJP(電力の発電,変換,配電)
要約
【課題】導線の結合の機械的な強度を向上させることができるモータを提供する。
【解決手段】モータ1は、コイル28を形成する導線28aと、分岐した2つの部分46b、46bを有する第1導電部材46と、第2導電部材50と、を備え、前記導線28aの一部分は前記2つの部分46b、46bに挟まれ、前記第2導電部材50は、前記2つの部分46b、46b及び前記導線28aの一部分を圧着している。
【選択図】図5
特許請求の範囲
【請求項1】
コイルを形成する導線と、
分岐した2つの部分を有する第1導電部材と、
第2導電部材と、を備え、
前記導線の一部分は前記2つの部分に挟まれ、
前記第2導電部材は、前記2つの部分及び前記導線の一部分を圧着している、モータ。
続きを表示(約 260 文字)
【請求項2】
前記第2導電部材は、孔部を備え、
前記導線は前記孔部を通過している、請求項1に記載のモータ。
【請求項3】
前記第2導電部材は前記2つの部分を囲んでいる、請求項1又は2に記載のモータ。
【請求項4】
前記第2導電部材は、前記2つの部分のうち、一方の前記部分から他方の前記部分に向かって延在している、請求項1から3のいずれかに記載のモータ。
【請求項5】
前記第2導電部材は、前記導線が延在する方向に延在している、請求項4に記載のモータ。
発明の詳細な説明
【技術分野】
【0001】
本発明は、モータに関する。
続きを表示(約 1,800 文字)
【背景技術】
【0002】
例えば特許文献1には、モータにおいて、コイルの引き出し線と接続端子との間の結合を容易にする技術が開示されている。
【先行技術文献】
【特許文献】
【0003】
特開2009-38938号公報
【発明の概要】
【発明が解決しようとする課題】
【0004】
引き出し線と接続端子との間の電気的な接続のさらなる向上にあたって、引き出し線と接続端子との間の機械的な結合の強度を向上させることが必要である。
【0005】
そこで、本発明は、導線の結合の機械的な強度を向上させることができるモータを提供することを目的とする。
【課題を解決するための手段】
【0006】
本発明の一態様に係るモータは、コイルを形成する導線と、分岐した2つの部分を有する第1導電部材と、第2導電部材と、を備え、前記導線の一部分は前記2つの部分に挟まれ、前記第2導電部材は、前記2つの部分及び前記導線の一部分を圧着している。
【図面の簡単な説明】
【0007】
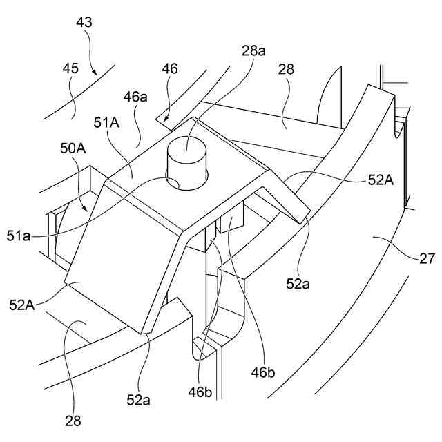
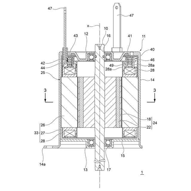
本発明の一実施形態に係るモータ1の構造を概略的に示す斜視図である。
図1の2-2線に沿った断面図である。
図2の3-3線に沿った断面図である。
一具体例に係るステータアセンブリ25の構造を概略的に示す斜視図である。
バスバーユニット40とコイル28との間の電気的な接続の一例を示す上側から見た斜視図である。
バスバーユニット40とコイル28との間の電気的な接続の一例を示す下側から見た斜視図である。
図5の7-7線に沿った断面図である。
外側端子46及び導線28aに導電部材50を取り付ける場面を説明するための斜視図である。
外側端子46とコイル28との間の電気的な接続の別の一例を示す上側から見た斜視図である。
外側端子46とコイル28との間の電気的な接続の別の一例を示す下側から見た斜視図である。
外側端子46及び導線28aに導電部材60を取り付ける場面を説明するための斜視図である。
外側端子46とコイル28との間の電気的な接続のさらに別の一例を示す上側から見た斜視図である。
外側端子46とコイル28との間の電気的な接続のさらに別の一例を示す下側から見た斜視図である。
外側端子46及び導線28aに導電部材70を取り付ける場面を説明するための斜視図である。
【発明を実施するための形態】
【0008】
以下、添付図面を参照して、本発明の一実施形態について説明する。図1は、本発明の一実施形態に係るモータ1の構造を概略的に示す斜視図である。図2は、本発明の一実施形態に係るモータ1の構造を概略的に示す垂直断面図である。図3は、本発明の一実施形態に係るモータ1の構造を概略的に示す水平断面図である。なお、図2は、モータ1の回転軸心を構成する軸線xを含む仮想平面に沿った、図1の2-2線に沿った断面図に相当する。また、図3は、軸線xに直交する仮想平面に沿った、図2の3-3線に沿った断面図に相当する。
【0009】
なお、以下のモータ1の実施形態の説明において、軸線xに沿った方向(以下、「軸方向」という。)における一方の側を上側、一方の側の反対の他方の側を下側と規定する。軸方向において規定されるこれら上側及び下側は、重力方向における上下関係とは必ずしも一致しない。また、軸線xに垂直な方向にモータ1の径方向が規定される。この径方向において、軸線xから遠ざかる側を径方向における外側(外周側)と規定する一方で、軸線xに近づく方向を径方向における内側(内周側)と規定する。さらに、軸線x周りにモータ1の周方向が規定される。
【0010】
図1~図3を併せて参照すると、モータ1は、例えば軸線xを中心軸線とする円柱状のシャフト10を備えている。シャフト10は、ハウジング11に固定される2つの軸受12、13に回転自在に支持されている。軸受12、13は、シャフト10とハウジング11との間に例えば圧入などにより取り付けられている。軸受12、13は例えば玉軸受である。この例では、シャフト10は、ハウジング11の上端から上側よりも、ハウジング11の下端から下側により大きく突出している。
(【0011】以降は省略されています)
この特許をJ-PlatPat(特許庁公式サイト)で参照する
関連特許
ミネベアミツミ株式会社
モータ
11日前
ミネベアミツミ株式会社
起歪体、トルクセンサおよび回転機器
3日前
ミネベアミツミ株式会社
ひずみゲージ
3日前
ミネベアミツミ株式会社
ひずみゲージ
5日前
個人
単極モータ
27日前
個人
電気を重力で発電装置
4日前
キヤノン電子株式会社
モータ
11日前
キヤノン電子株式会社
モータ
3日前
株式会社アイシン
ロータ
27日前
株式会社アイシン
ロータ
1か月前
日本精機株式会社
サージ保護回路
1か月前
日星電気株式会社
ケーブル組立体
19日前
コーセル株式会社
電源装置
12日前
トヨタ自動車株式会社
固定子
1か月前
トヨタ自動車株式会社
モータ
3日前
株式会社デンソー
回転機
25日前
トヨタ自動車株式会社
製造装置
1か月前
個人
連続ガウス加速器形磁力増幅装置
1か月前
カヤバ株式会社
筒型リニアモータ
1か月前
株式会社アイシン
ステータ
1か月前
株式会社アイシン
ステータ
1か月前
株式会社アイシン
ステータ
1か月前
株式会社ダイヘン
充電装置
1か月前
株式会社ミツバ
ブラシレスモータ
1か月前
株式会社ダイヘン
充電装置
1か月前
株式会社ダイヘン
充電装置
1か月前
個人
太陽エネルギー収集システム
1か月前
東京瓦斯株式会社
通信装置
1か月前
株式会社アイシン
ステータ
1か月前
株式会社ダイヘン
充電装置
1か月前
株式会社kaisei
発電システム
27日前
個人
二次電池繰返パルス放電器用印刷基板
17日前
トヨタ自動車株式会社
被膜形成装置
1か月前
東京瓦斯株式会社
給電システム
1か月前
株式会社デンソー
電力変換装置
18日前
株式会社ミツバ
回転電機
24日前
続きを見る
他の特許を見る