TOP
|
特許
|
意匠
|
商標
特許ウォッチ
Twitter
他の特許を見る
10個以上の画像は省略されています。
公開番号
2025164050
公報種別
公開特許公報(A)
公開日
2025-10-30
出願番号
2024067776
出願日
2024-04-18
発明の名称
モータ
出願人
ミネベアミツミ株式会社
代理人
アインゼル・フェリックス=ラインハルト
,
個人
,
個人
主分類
H02K
11/215 20160101AFI20251023BHJP(電力の発電,変換,配電)
要約
【課題】例えば、センサへの金属粉の付着が防止されたモータの提供。
【解決手段】例えば、回転軸(S)と、非磁性体で形成されたブラケット(2)と、回転軸(S)をブラケット(2)に対して回転可能に支持する軸受(32)と、整流子(34)と、回転軸(S)に固定されたマグネット(7)と、回転軸方向において、ブラケット(2)の一方の面(2a)に配置されたセンサ(6)と、回転軸方向において、ブラケット(2)の他方の面(2b)に配置されたブラシ(35)と、を備え、センサ(6)は、マグネット(7)の磁束を検出する、モータ(1)。
【選択図】図11
特許請求の範囲
【請求項1】
回転軸と、
非磁性体で形成されたブラケットと、
前記回転軸を前記ブラケットに対して回転可能に支持する軸受と、
整流子と、
前記回転軸に固定されたマグネットと、
回転軸方向において、前記ブラケットの一方の面に配置されたセンサと、
回転軸方向において、前記ブラケットの他方の面に配置されたブラシと、を備え、
前記センサは、前記マグネットの磁束を検出する、モータ。
続きを表示(約 580 文字)
【請求項2】
前記ブラケットの前記一方の面に配置された基板を備え、
前記センサが前記基板に電気接続されている、請求項1に記載のモータ。
【請求項3】
前記ブラケットには、前記センサを収容するポケットが設けられており、
前記ポケットは、前記ブラケットの前記一方の面の側に開口し、
前記ポケットは、
径方向において前記マグネットに対向する内周部と、
側部と、
底部と、を備え、
前記センサは、前記ポケットの前記内周部、前記側部、前記底部に囲まれている、請求項1または2に記載のモータ。
【請求項4】
前記センサは、本体と、配線と、を備え、
前記ポケットは、前記センサの前記本体を収容する部分と、前記センサの前記配線を収容する部分と、を備える、請求項3に記載のモータ。
【請求項5】
前記センサの前記配線は、前記ブラケットの前記他方の面から前記一方の面に向かう方向に延在して基板に電気接続されている、請求項4に記載のモータ。
【請求項6】
径方向において、前記ブラケットは、前記整流子に対向する壁を備え、
前記ポケットの前記内周部は、前記壁に対して前記マグネット側にある、請求項3から5のいずれかに記載のモータ。
発明の詳細な説明
【技術分野】
【0001】
本発明は、モータに関する。
続きを表示(約 2,400 文字)
【背景技術】
【0002】
ブラシ付きDCモータとして、モータの回転を検出するセンサを備えるものが知られている。例えば、特許文献1には、基体に成形されたポケット内にパルス受信器が挿入されたモータが開示されている。
【先行技術文献】
【特許文献】
【0003】
特表2003-501997号公報
【発明の概要】
【発明が解決しようとする課題】
【0004】
ブラシ付きDCモータにおいて、ブラシと整流子との摩擦により発生した金属粉がセンサに付着すると、例えば端子間のショートが発生する可能性がある。本発明は、センサへの金属粉の付着が防止されたモータの提供を課題の一例とする。
【課題を解決するための手段】
【0005】
本発明の一例であるモータは、回転軸と、非磁性体で形成されたブラケットと、前記回転軸を前記ブラケットに対して回転可能に支持する軸受と、整流子と、前記回転軸に固定されたマグネットと、回転軸方向において、前記ブラケットの一方の面に配置されたセンサと、回転軸方向において、前記ブラケットの他方の面に配置されたブラシと、を備え、前記センサは、前記マグネットの磁束を検出する。
【図面の簡単な説明】
【0006】
本発明の一例である実施の形態にかかるモータの斜視図である。
本発明の一例である実施の形態にかかるモータが備えるブラケットの斜視図である。
本発明の一例である実施の形態にかかるモータが備えるブラケットの他の斜視図である。
本発明の一例である実施の形態にかかるモータが備えるブラケットのポケットを拡大して示す斜視図である。
本発明の一例である実施の形態にかかるモータが備えるセンサの斜視図である。
本発明の一例である実施の形態にかかるモータにおいて、センサがブラケットのポケットに収容される態様の例を示す斜視図である。
本発明の一例である実施の形態にかかるモータにおいて、センサの配線が基板に接続される態様の例を示す斜視図である。
本発明の一例である実施の形態にかかるモータが備えるブラケットにおいて、ブラシが配置される態様の例を示す斜視図である。
本発明の一例である実施の形態にかかるモータにおける、センサとブラシの配置の例を示す断面斜視図である。
本発明の一例である実施の形態にかかるモータにおいて、整流子とブラシの配置の例を示す断面斜視図である。
本発明の一例である実施の形態にかかるモータにおいて、回転軸に沿った面で切断して得られる面を示す断面斜視図である。
【発明を実施するための形態】
【0007】
本発明の実施の形態の説明において、説明の便宜上、回転軸Sに沿った方向を回転軸方向とする。回転軸方向において、モータ本体3からブラケット2に向かう方向(矢印a方向)を一方側、その反対方向(矢印b方向)を他方側とする。また、回転軸Sに直交する矢印cd方向を径方向と称し、回転軸Sから離れる矢印c方向を径方向における外側または一方側、回転軸Sに近づく矢印d方向を径方向における内側または他方側と称する。ある部材または部分において、径方向における外側(矢印c方向)の面を外周面、径方向における内側(矢印d方向)の面を内周面と称することがある。さらに、回転軸Sの周りに回転する方向を周方向と称することがある。
【0008】
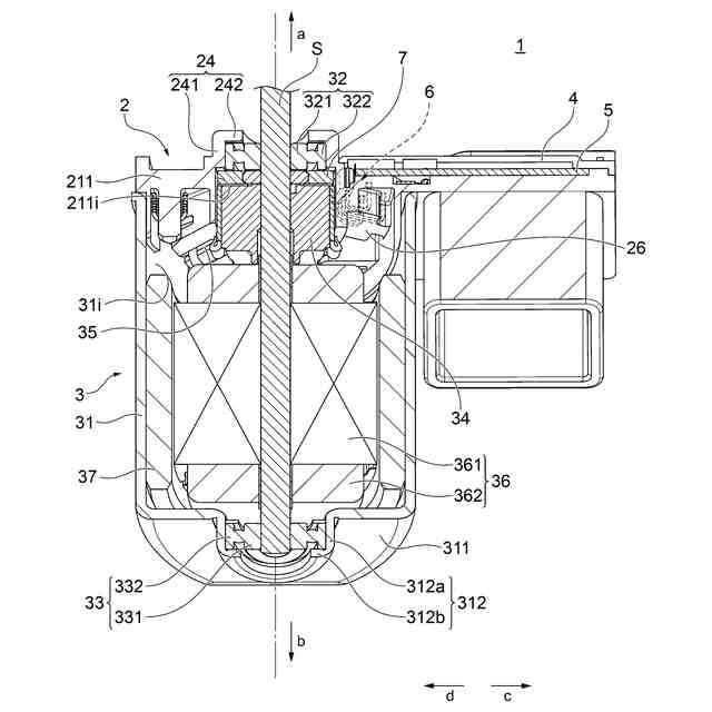
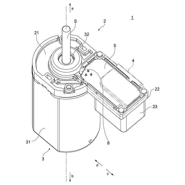
以下、本発明の一例である実施の形態について図面(図1~図11)を参照しながら説明する。図1は、本実施の形態にかかるモータ1の全体構成を示す斜視図である。図2は、モータ1が備えるブラケット2の斜視図であり、ブラケット2の一方の面2aを視認しやすいように示した図である。図3は、ブラケット2の他の斜視図であり、ブラケット2の他方の面2bを視認しやすいように示した図である。図4は、ブラケット2のポケット26の、回転軸方向における他方側を視認しやすいように拡大して示した斜視図である。なお、図4では、ポケット26の内部に収容され、隠れているセンサ6を破線で示している。図5は、モータ1が備えるセンサ6の斜視図である。図6は、センサ6がブラケット2のポケット26に収容される態様の例を示す斜視図である。図7は、センサ6の配線62が基板5に接続される態様の例を示す斜視図である。図8は、ブラケット2にブラシ35が配置される態様の例を示す斜視図である。図9は、センサ6およびブラシ35の配置の例を示す断面斜視図である。図10は、整流子34とブラシ35の配置の例を示す断面斜視図である。図11は、モータ1において、回転軸Sの中心線に沿った面で切断して得られる面を示す断面斜視図である。
【0009】
図1に示すように、モータ1は、回転軸Sと、ブラケット2と、モータ本体3と、カバー4(仮想線で示されている)と、基板5と、センサ6と、を備える。モータ本体3は、筒状のケース31を備える。回転軸方向において、ブラケット2は、モータ本体3の一方側(矢印a方向)に配置されている。ブラケット2は、モータ本体3のケース31の、回転軸方向における一方側(矢印a方向)を覆っている。
【0010】
ブラケット2は、モータ本体3の筒状のケース31を覆う部分(以下、蓋部21と称する)と、蓋部21から径方向における外側(矢印c方向)に突出した部分(以下、板状部22と称する)と、板状部22から回転軸方向における他方側(矢印b方向)に向かって突出するハウジング(以下、コネクタハウジング23と称する)と、を有する。
(【0011】以降は省略されています)
この特許をJ-PlatPat(特許庁公式サイト)で参照する
関連特許
個人
電気を重力で発電装置
25日前
個人
高圧電気機器の開閉器
12日前
キヤノン電子株式会社
モータ
24日前
キヤノン電子株式会社
モータ
1か月前
コーセル株式会社
電源装置
1か月前
日星電気株式会社
ケーブル組立体
1か月前
株式会社アイドゥス企画
減反モータ
12日前
トヨタ自動車株式会社
モータ
24日前
株式会社デンソー
回転機
1か月前
株式会社デンソー
端子台
5日前
個人
二次電池繰返パルス放電器用印刷基板
1か月前
株式会社デンソー
電力変換装置
1か月前
株式会社ミツバ
回転電機
1か月前
ローム株式会社
半導体集積回路
3日前
株式会社日立製作所
回転電機
3日前
株式会社TMEIC
制御装置
4日前
株式会社デンソー
非接触受電装置
1か月前
トヨタ自動車株式会社
固定子の加熱装置
1か月前
矢崎総業株式会社
電源回路
11日前
矢崎総業株式会社
給電装置
4日前
日産自動車株式会社
ロータシャフト
19日前
山洋電気株式会社
モータ
1か月前
ローム株式会社
モータドライバ回路
19日前
個人
非対称鏡像力を有する4層PWB電荷搬送体
19日前
日産自動車株式会社
ロータシャフト
19日前
大和ハウス工業株式会社
敷設用機器
4日前
トヨタ自動車株式会社
ステータの製造装置
25日前
株式会社アイシン
電力変換装置
24日前
トヨタ自動車株式会社
可変界磁ロータ
27日前
株式会社マキタ
電動作業機
1か月前
株式会社TMEIC
電力変換装置
4日前
個人
電線盗難防止方法及び電線盗難防止装置
1か月前
株式会社土井製作所
ケーブル保護管路
3日前
トヨタ紡織株式会社
ロータの製造装置
1か月前
株式会社明治ゴム化成
ワイヤレス給電用部品
1か月前
京商株式会社
模型用非接触電力供給システム
12日前
続きを見る
他の特許を見る