TOP
|
特許
|
意匠
|
商標
特許ウォッチ
Twitter
他の特許を見る
公開番号
2025166170
公報種別
公開特許公報(A)
公開日
2025-11-05
出願番号
2025135072,2023132342
出願日
2025-08-14,2018-06-21
発明の名称
ひずみゲージ
出願人
ミネベアミツミ株式会社
代理人
弁理士法人ITOH
主分類
G01B
7/16 20060101AFI20251028BHJP(測定;試験)
要約
【課題】信号対雑音比(S/N)を向上することが可能なひずみゲージを提供する。
【解決手段】可撓性を有する樹脂製の基材10と、基材10の両面に直接、金属、合金、又は、金属の化合物から形成された機能層と、抵抗体30とを有し、抵抗体30は、Cr、CrN、及びCr
2
Nを含む膜から形成され、α-Crを主成分とする、ひずみを受けて抵抗変化を生じる受感部31S、32Sとを含み、機能層は、α-Crの結晶成長を促進させ、α-Crを主成分とする膜を成膜する機能を有し、抵抗体30の厚さは、0.05μm以上2μm以下であり、機能層の厚さは、1nm以上100nm以下であり、受感部31S、32Sとは略同一パターンであり、基材10を挟んで対向する位置に配置されている。
【選択図】図3
特許請求の範囲
【請求項1】
可撓性を有する樹脂製の基材と、
前記基材の一方の面に直接、金属、合金、又は、金属の化合物から形成された第1機能層と、
前記基材の他方の面に直接、金属、合金、又は、金属の化合物から形成された第2機能層と、
抵抗体と、を有し、
前記抵抗体は、
前記第1機能層の一方の面に直接、Cr、CrN、及びCr
2
Nを含む膜から形成され、α-Crを主成分とする、ひずみを受けて抵抗変化を生じる第1受感部と、
前記第2機能層の他方の面に直接、Cr、CrN、及びCr
2
Nを含む膜から形成され、α-Crを主成分とする、ひずみを受けて抵抗変化を生じる第2受感部と、を含み、
前記第1機能層及び前記第2機能層は、前記α-Crの結晶成長を促進させ、前記α-Crを主成分とする膜を成膜する機能を有し、
前記抵抗体の厚さは、0.05μm以上2μm以下であり、
前記第1機能層及び前記第2機能層の厚さは、1nm以上100nm以下であり、
前記第1受感部と前記第2受感部とは略同一パターンであり、前記基材を挟んで対向する位置に配置されているひずみゲージ。
続きを表示(約 69 文字)
【請求項2】
前記第1受感部及び前記第2受感部の少なくとも一方を被覆する絶縁樹脂層を有する請求項1に記載のひずみゲージ。
発明の詳細な説明
【技術分野】
【0001】
本発明は、ひずみゲージに関する。
続きを表示(約 1,500 文字)
【背景技術】
【0002】
測定対象物に貼り付けて、測定対象物のひずみを検出するひずみゲージが知られている。ひずみゲージは、ひずみを検出する抵抗体を備えており、抵抗体の材料としては、例えば、Cr(クロム)やNi(ニッケル)を含む材料が用いられている。又、例えば、絶縁樹脂からなる基材の一つの面に、一つの抵抗体が形成されている(例えば、特許文献1参照)。
【先行技術文献】
【特許文献】
【0003】
特開2016-74934号公報
【発明の概要】
【発明が解決しようとする課題】
【0004】
ところで、ひずみゲージを起歪体に接着して抵抗体の抵抗値変化を検出する際に、ひずみゲージの出力に電磁波等による外乱ノイズや電源ノイズが重畳する場合がある。この場合、ひずみゲージにおいて、信号対雑音比(S/N)が低下し、センサ感度が低下してしまう。
【0005】
本発明は、上記の点に鑑みてなされたもので、信号対雑音比(S/N)を向上することが可能なひずみゲージを提供することを目的とする。
【課題を解決するための手段】
【0006】
本ひずみゲージは、可撓性を有する樹脂製の基材と、前記基材の一方の面に直接、金属、合金、又は、金属の化合物から形成された第1機能層と、前記基材の他方の面に直接、金属、合金、又は、金属の化合物から形成された第2機能層と、抵抗体と、を有し、前記抵抗体は、前記第1機能層の一方の面に直接、Cr、CrN、及びCr
2
Nを含む膜から形成され、α-Crを主成分とする、ひずみを受けて抵抗変化を生じる第1受感部と、前記第2機能層の他方の面に直接、Cr、CrN、及びCr
2
Nを含む膜から形成され、α-Crを主成分とする、ひずみを受けて抵抗変化を生じる第2受感部と、を含み、前記第1機能層及び前記第2機能層は、前記α-Crの結晶成長を促進させ、前記α-Crを主成分とする膜を成膜する機能を有し、前記抵抗体の厚さは、0.05μm以上2μm以下であり、前記第1機能層及び前記第2機能層の厚さは、1nm以上100nm以下であり、前記第1受感部と前記第2受感部とは略同一パターンであり、前記基材を挟んで対向する位置に配置されている。
【発明の効果】
【0007】
開示の技術によれば、信号対雑音比(S/N)を向上することが可能なひずみゲージを提供できる。
【図面の簡単な説明】
【0008】
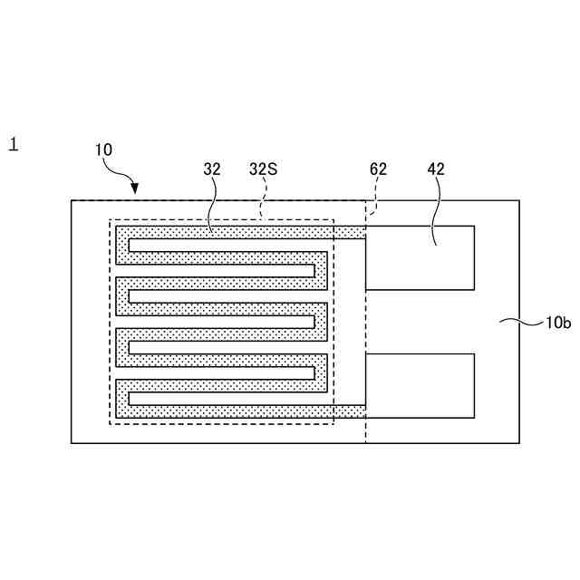
第1の実施の形態に係るひずみゲージを例示する平面図である。
第1の実施の形態に係るひずみゲージを例示する底面図である。
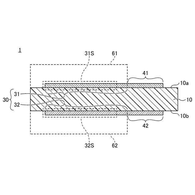
第1の実施の形態に係るひずみゲージを例示する断面図である。
【発明を実施するための形態】
【0009】
以下、図面を参照して発明を実施するための形態について説明する。各図面において、同一構成部分には同一符号を付し、重複した説明を省略する場合がある。
【0010】
〈第1の実施の形態〉
図1は、第1の実施の形態に係るひずみゲージを例示する平面図であり、ひずみゲージを基材の上面側から視た様子を示している。図2は、第1の実施の形態に係るひずみゲージを例示する底面図であり、ひずみゲージを基材の下面側から視た様子を示している。図3は、第1の実施の形態に係るひずみゲージを例示する断面図であり、図1のA-A線に沿う断面を示している。図1~図3を参照するに、ひずみゲージ1は、基材10と、抵抗体30(抵抗部31及び32)と、端子部41及び42とを有している。
(【0011】以降は省略されています)
この特許をJ-PlatPat(特許庁公式サイト)で参照する
関連特許
ミネベアミツミ株式会社
モータ
3日前
ミネベアミツミ株式会社
モータ
5日前
ミネベアミツミ株式会社
モータ
1か月前
ミネベアミツミ株式会社
受信装置
11日前
ミネベアミツミ株式会社
角度センサ
1か月前
ミネベアミツミ株式会社
空中表示装置
11日前
ミネベアミツミ株式会社
ダイヤフラムポンプ
20日前
ミネベアミツミ株式会社
回転機の固定子の構造
3日前
ミネベアミツミ株式会社
バッテリ保持構造及び筐体ユニット
11日前
ミネベアミツミ株式会社
起歪体、トルクセンサおよび回転機器
24日前
ミネベアミツミ株式会社
モータ
3日前
ミネベアミツミ株式会社
ひずみゲージ
24日前
ミネベアミツミ株式会社
ひずみゲージ
26日前
ミネベアミツミ株式会社
ひずみ検出システム
13日前
個人
採尿及び採便具
1か月前
日本精機株式会社
検出装置
26日前
個人
高精度同時多点測定装置
1か月前
個人
計量機能付き容器
21日前
個人
アクセサリー型テスター
1か月前
株式会社ミツトヨ
測定器
1か月前
株式会社カクマル
境界杭
11日前
日本精機株式会社
発光表示装置
4日前
甲神電機株式会社
電流検出装置
26日前
株式会社トプコン
測量装置
3日前
アズビル株式会社
電磁流量計
1か月前
ダイキン工業株式会社
監視装置
1か月前
大成建設株式会社
風洞実験装置
21日前
個人
非接触による電磁パルスの測定方法
24日前
ローム株式会社
半導体装置
1か月前
ローム株式会社
半導体装置
1か月前
日本特殊陶業株式会社
ガスセンサ
3日前
大和製衡株式会社
組合せ計量装置
1か月前
愛知電機株式会社
軸部材の外観検査装置
1か月前
大和製衡株式会社
組合せ計量装置
1か月前
愛知時計電機株式会社
ガスメータ
1か月前
双庸電子株式会社
誤配線検査装置
27日前
続きを見る
他の特許を見る