TOP
|
特許
|
意匠
|
商標
特許ウォッチ
Twitter
他の特許を見る
公開番号
2025175103
公報種別
公開特許公報(A)
公開日
2025-11-28
出願番号
2025150693,2021163007
出願日
2025-09-10,2021-10-01
発明の名称
モータ
出願人
ミネベアミツミ株式会社
代理人
アインゼル・フェリックス=ラインハルト
,
個人
,
個人
主分類
H02K
9/06 20060101AFI20251120BHJP(電力の発電,変換,配電)
要約
【課題】発熱を抑制することができるモータを提供する。
【解決手段】モータ(1)は、ロータ(15)と、ロータ(15)と対向するステータ(13)と、ロータ(15)を回転自在に支持する軸受(19a,19b)と、ロータ(15)の軸(X)方向一方側に取り付けられる羽根(2)と、軸受(19a,19b)を保持する保持部(11)と、を備え、保持部(11)は、外部機器(3)が取り付けられる取付部(112)と、ステータ(13)と接触する接触部(113)と、を有し、取付部(112)の軸(X)方向一方側の端面(112a)は、接触部(113)の軸(X)方向他方側の端面(113b)よりも軸(X)方向他方側に配置される。
【選択図】図4
特許請求の範囲
【請求項1】
ロータと、
前記ロータと対向するステータと、
前記ロータを回転自在に支持する軸受と、
前記ロータの軸方向一方側に取り付けられる羽根と、
前記軸受を保持する保持部と、を備え、
前記保持部は、前記軸受を保持する内壁部と、外部機器が取り付けられる取付部と、前記ステータを保持する外壁部と、前記ステータと接触する接触部と、前記取付部と前記外壁部を接続する複数の接続部と、を有し、
前記取付部は、前記内壁部に設けられ、
前記取付部の軸方向一方側の端面は、前記接触部の軸方向他方側の端面よりも軸方向他方側に配置され、
前記複数の接続部は、軸方向よりも径方向内側に傾斜して配置され、
前記複数の接続部のうち、隣接する2つの接続部の間には開口が形成されている、
モータ。
続きを表示(約 400 文字)
【請求項2】
前記ステータは、コイルを有し、
前記コイルの軸方向他方側の端面は、前記接触部の軸方向他方側の端面よりも軸方向他方側に配置される、
請求項1に記載のモータ。
【請求項3】
ヒートシンクは、径方向において、前記保持部を介して前記ステータに対向する、
請求項1または2に記載のモータ。
【請求項4】
前記ヒートシンクは、軸方向において、前記取付部および前記接続部に対向している、
請求項3に記載のモータ。
【請求項5】
前記ヒートシンクは軸方向に突出する突出部を有し、
前記突出部は、軸方向において、前記取付部と対向する、
請求項3または4に記載のモータ。
【請求項6】
前記ヒートシンクは、前記内壁部と前記外壁部との間に配置されている、
請求項3または4に記載のモータ。
発明の詳細な説明
【技術分野】
【0001】
本発明は、モータに関する。
続きを表示(約 1,800 文字)
【背景技術】
【0002】
ベース部に開口が形成され、プロペラが回転することで発生する風がベース部の開口を通過することにより、モータを冷却することができるモータが知られている(例えば、特許文献1参照。)。
【先行技術文献】
【特許文献】
【0003】
特開2019-68604号公報
【発明の概要】
【発明が解決しようとする課題】
【0004】
しかしながら、モータの冷却効率を高めて、モータの発熱を抑制したいという要望があった。
【0005】
本発明は、以上の背景に鑑みてなされたものであり、発熱を抑制することができるモータを提供する。
【課題を解決するための手段】
【0006】
上記課題は、以下の本発明により解決される。すなわち、本発明のモータは、ロータと、前記ロータと対向するステータと、前記ロータを回転自在に支持する軸受と、前記ロータの軸方向一方側に取り付けられる羽根と、前記軸受を保持する保持部と、を備え、前記保持部は、外部機器が取り付けられる取付部と、前記ステータと接触する接触部と、を有し、前記取付部の軸方向一方側の端面は、前記接触部の軸方向他方側の端面よりも軸方向他方側に配置される。
【図面の簡単な説明】
【0007】
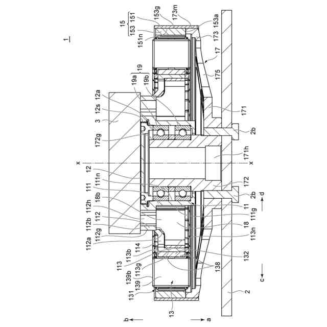
本発明の一実施の形態にかかるアウターロータ型のモータの全体構成を示す上方からの斜視図である。
本発明の一実施の形態にかかるアウターロータ型のモータの全体構成を示す下方からの斜視図である。
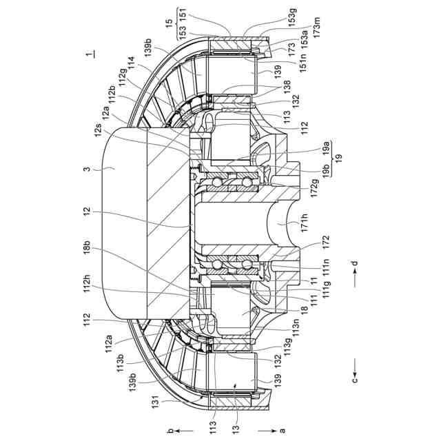
本発明の一実施の形態にかかるモータの斜視断面図である。
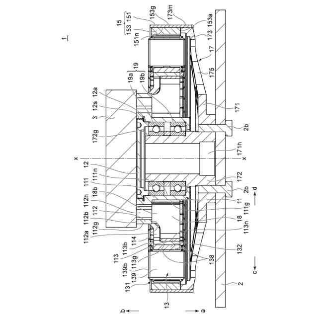
本発明の一実施の形態にかかるモータの断面図である。
本発明の一実施の形態にかかるモータのホルダの構成を示す斜視図である。
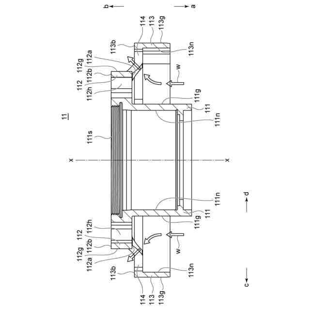
本発明の一実施の形態にかかるモータのホルダの構成を示す断面図である。
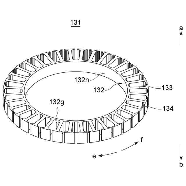
本発明の一実施の形態にかかるモータのステータコアの構成を示す斜視図である。
【発明を実施するための形態】
【0008】
本発明の実施の形態について、図面を参照しながら説明する。図1は、本発明の一実施の形態にかかるアウターロータ型のモータの全体構成を示す上方からの斜視図である。図2は、本発明の一実施の形態にかかるアウターロータ型のモータの全体構成を示す下方からの斜視図である。図3は、本発明の一実施の形態にかかるモータの斜視断面図である。図4は、本発明の一実施の形態にかかるモータの断面図である。図5は、本発明の一実施の形態にかかるモータのホルダの構成を示す斜視図である。図6は、本発明の一実施の形態にかかるモータのホルダの構成を示す断面図である。図7は、本発明の一実施の形態にかかるモータのステータコアの構成を示す斜視図である。
【0009】
なお、本実施の形態の説明において、以下の説明では、便宜上、モータ1が回転する際の軸Xが延びる方向を軸方向(回転軸方向)とする。また、以下の説明では、便宜上、軸方向において矢印a方向を上側または上方、矢印b方向を下側または下方とする。軸Xに垂直な径方向において、軸Xから遠ざかる矢印c方向を外周側または外側とし、軸Xに近づく矢印d方向を内周側または内側とする。上側から見たモータ1の周方向において矢印e方向を時計回り方向とし、矢印f方向を反時計回り方向とする。以下の説明において、上側(矢印a方向)および下側(矢印b方向)は、図面上におけるモータ1の上下関係を意味し、重力方向における上下関係とは、必ずしも一致しない。
【0010】
図1~図7に示すように、モータ1は、例えば、ドローン(図示せず)などの浮遊式移動体に搭載されるアウターロータ型のブラシレスモータである。
図1~図4に示すように、モータ1は、上側(矢印a方向)にあるロータハウジング17にドローンのプロペラ(羽根)2(図4参照)が取り付けられ、下側(矢印b方向)にあるホルダ11にドローンの機体(外部機器)3が取り付けられる。図3、図4に示すように、モータ1は、主に、ホルダ11と、ステータ13と、ロータ15と、ロータハウジング17と、ヒートシンク18と、軸受19と、を有している。
(【0011】以降は省略されています)
この特許をJ-PlatPat(特許庁公式サイト)で参照する
関連特許
個人
高圧電気機器の開閉器
12日前
個人
電気を重力で発電装置
25日前
キヤノン電子株式会社
モータ
1か月前
キヤノン電子株式会社
モータ
24日前
日星電気株式会社
ケーブル組立体
1か月前
コーセル株式会社
電源装置
1か月前
株式会社アイドゥス企画
減反モータ
12日前
トヨタ自動車株式会社
モータ
24日前
株式会社デンソー
端子台
5日前
個人
二次電池繰返パルス放電器用印刷基板
1か月前
株式会社デンソー
電力変換装置
1か月前
ローム株式会社
半導体集積回路
3日前
株式会社ミツバ
回転電機
1か月前
矢崎総業株式会社
電源回路
11日前
株式会社デンソー
非接触受電装置
1か月前
トヨタ自動車株式会社
固定子の加熱装置
1か月前
矢崎総業株式会社
給電装置
4日前
株式会社日立製作所
回転電機
3日前
株式会社TMEIC
制御装置
4日前
日産自動車株式会社
ロータシャフト
19日前
日産自動車株式会社
ロータシャフト
19日前
トヨタ自動車株式会社
ステータの製造装置
25日前
個人
非対称鏡像力を有する4層PWB電荷搬送体
19日前
大和ハウス工業株式会社
敷設用機器
4日前
ローム株式会社
モータドライバ回路
19日前
山洋電気株式会社
モータ
1か月前
株式会社TMEIC
電力変換装置
1か月前
株式会社アイシン
電力変換装置
24日前
株式会社マキタ
電動作業機
1か月前
トヨタ自動車株式会社
可変界磁ロータ
27日前
株式会社明治ゴム化成
ワイヤレス給電用部品
1か月前
個人
電線盗難防止方法及び電線盗難防止装置
1か月前
トヨタ紡織株式会社
ロータの製造装置
1か月前
株式会社土井製作所
ケーブル保護管路
3日前
株式会社TMEIC
電力変換装置
4日前
京商株式会社
模型用非接触電力供給システム
12日前
続きを見る
他の特許を見る