TOP
|
特許
|
意匠
|
商標
特許ウォッチ
Twitter
他の特許を見る
公開番号
2025173764
公報種別
公開特許公報(A)
公開日
2025-11-28
出願番号
2024079511
出願日
2024-05-15
発明の名称
モータ
出願人
ミネベアミツミ株式会社
代理人
アインゼル・フェリックス=ラインハルト
,
個人
,
個人
主分類
H02K
5/173 20060101AFI20251120BHJP(電力の発電,変換,配電)
要約
【課題】性能が安定したモータを提供する。
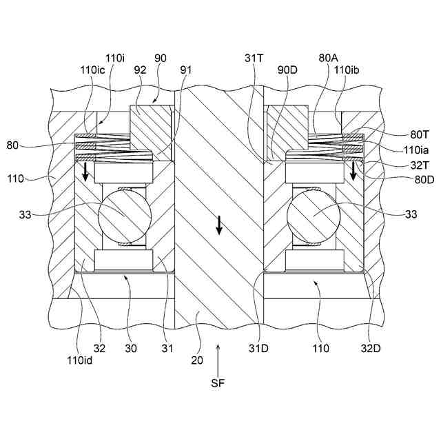
【解決手段】モータ1は、回転軸20と、回転軸20に固定されたリング90と、内周部110iを有するハウジング10と、バネ80と、転動体33と回転軸方向においてそれぞれがバネ80の側にある一方の端部31T,32Tと他方の端部31D,32Dとを有する内輪31及び外輪32とを有する軸受30と、を備え、外輪32の一方の端部32Tは、回転軸方向において、ハウジング10の内周部110iにバネ80を介して弾性的に支持され、回転軸方向において、内輪31の一方の端部31Tがリング90に固定され、内輪31の他方の端部31D及び外輪32の他方の端部32Dは、回転軸20とともに移動できる。
【選択図】図3
特許請求の範囲
【請求項1】
回転軸と、
前記回転軸に固定されたリングと、
内周部を有するハウジングと、
バネと、
転動体と、前記回転軸の方向においてそれぞれが前記バネの側にある一方の端部と前記一方の端部とは反対側の他方の端部とを有する内輪及び外輪と、を有する軸受と、
を備え、
前記外輪の前記一方の端部は、前記回転軸の方向において、前記ハウジングの前記内周部に前記バネを介して弾性的に支持され、
前記回転軸の方向において、前記内輪の前記一方の端部が前記リングに固定され、
前記内輪の前記他方の端部及び前記外輪の前記他方の端部は、前記回転軸とともに移動できる、モータ。
続きを表示(約 280 文字)
【請求項2】
前記回転軸の方向において、前記ハウジングの前記内周部は、前記内輪の前記他方の端部及び前記外輪の前記他方の端部に対して開放された空間を形成している、請求項1に記載のモータ。
【請求項3】
前記軸受を第1軸受として、
第2軸受と、
ステータと、
ロータと、
を備え、
前記回転軸の方向において、前記第1軸受と前記第2軸受との間に、前記ステータと前記ロータが配置され、
前記第2軸受に支持される前記回転軸の部分は、前記バネにより回転軸方向に付勢されている、請求項1又は2に記載のモータ。
発明の詳細な説明
【技術分野】
【0001】
本発明は、モータに関する。
続きを表示(約 1,400 文字)
【背景技術】
【0002】
インペラと、軸受と、インペラの回転によって生じるスラスト力に対して軸受に予圧を付与する予圧バネとを備えるモータが知られている(例えば、特許文献1参照)。
【先行技術文献】
【特許文献】
【0003】
特開2015-7451号公報
【発明の概要】
【発明が解決しようとする課題】
【0004】
上記特許文献1に記載されたようなモータにおいて、予圧バネが変形すると、モータの性能の安定性が損なわれるおそれがある。
【0005】
そこで、本発明は、性能が安定したモータを提供することを課題の一つとする。
【課題を解決するための手段】
【0006】
(1):本発明に係るモータは、回転軸と、前記回転軸に固定されたリングと、内周部を有するハウジングと、バネと、転動体と前記回転軸の方向においてそれぞれが前記バネの側にある一方の端部と前記一方の端部とは反対側の他方の端部とを有する内輪及び外輪とを有する軸受と、を備え、前記外輪の前記一方の端部は、前記回転軸の方向において、前記ハウジングの前記内周部に前記バネを介して弾性的に支持され、前記回転軸の方向において、前記内輪の前記一方の端部が前記リングに固定され、前記内輪の前記他方の端部及び前記外輪の前記他方の端部は、前記回転軸とともに移動できる。
【0007】
(2):(1)のモータにおいて、前記回転軸の方向において、前記ハウジングの前記内周部は、前記内輪の前記他方の端部及び前記外輪の前記他方の端部に対して開放された空間を形成していてもよい。
【0008】
(3):(1)又は(2)のモータにおいて、前記軸受を第1軸受として、第2軸受と、ステータと、ロータと、を備え、前記回転軸の方向において、前記第1軸受と前記第2軸受との間に、前記ステータと前記ロータが配置され、前記第2軸受に支持される前記回転軸の部分は、前記バネにより回転軸方向に付勢されていてもよい。
【図面の簡単な説明】
【0009】
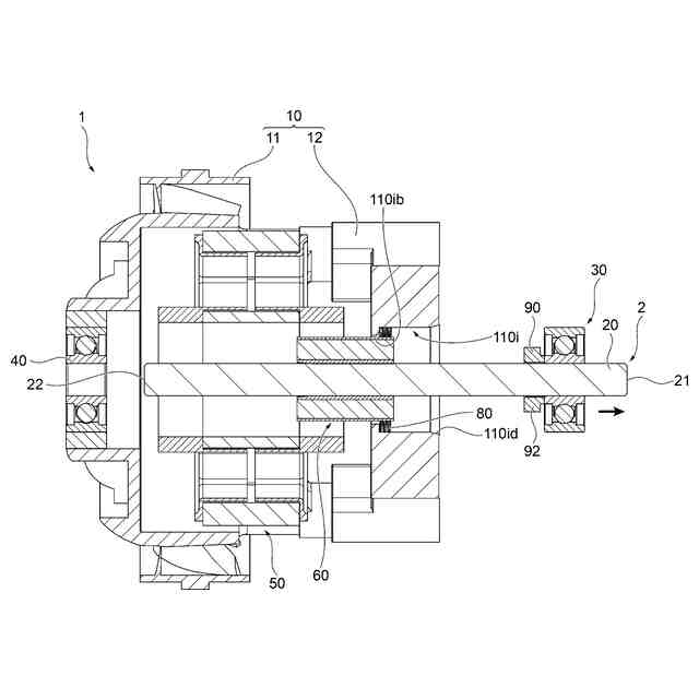
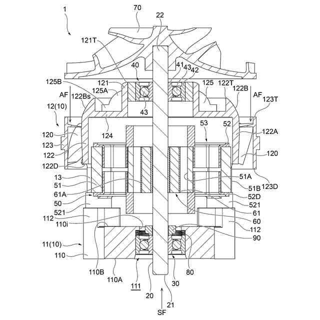
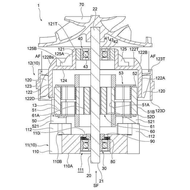
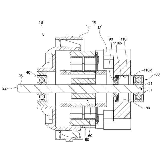
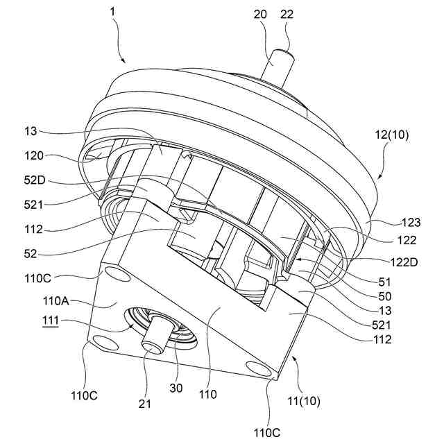
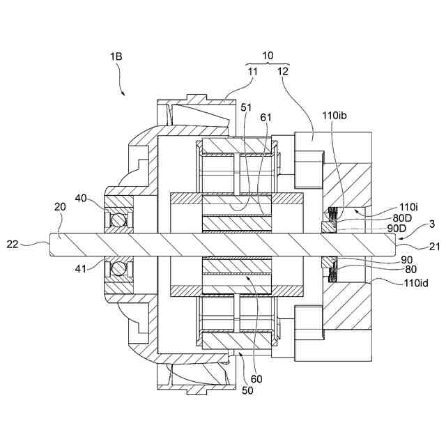
本発明の実施形態におけるモータを回転軸方向における一方側から見た斜視図である。
図1に示すモータを回転軸方向における他方側から見た斜視図である。
図1に示すモータの回転軸方向に沿った断面図である。
図3に示すモータのハウジングの一部である第1ハウジングの内周部近傍を拡大して示す図である。
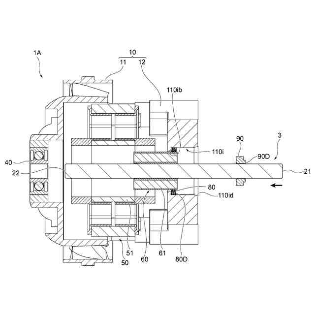
図3に示すモータの第1軸受等が取り外されている様子を示す図である。
図3に示すモータの回転軸等を取り付ける様子を示す図である。
図3に示すモータの回転軸等の取り付けが完了した様子を示す図である。
図3に示すモータの第1軸受が取り付けられている様子を示す図である。
【発明を実施するための形態】
【0010】
以下、本発明に係るモータを実施するための形態が添付図面とともに例示される。以下に例示する実施形態は、本発明の理解を容易にするためのものであり、本発明を限定して解釈するためのものではない。本発明は、その趣旨を逸脱することなく、以下の実施形態から変更、改良することができる。また、上記添付図面では、理解を容易にするために各部材の寸法が誇張又は縮小して示されていたり、ハッチングが省略されて示されていたりする場合がある。
(【0011】以降は省略されています)
この特許をJ-PlatPat(特許庁公式サイト)で参照する
関連特許
ミネベアミツミ株式会社
モータ
3日前
ミネベアミツミ株式会社
モータ
5日前
ミネベアミツミ株式会社
モータ
1か月前
ミネベアミツミ株式会社
受信装置
11日前
ミネベアミツミ株式会社
空中表示装置
11日前
ミネベアミツミ株式会社
ダイヤフラムポンプ
20日前
ミネベアミツミ株式会社
回転機の固定子の構造
3日前
ミネベアミツミ株式会社
バッテリ保持構造及び筐体ユニット
11日前
ミネベアミツミ株式会社
起歪体、トルクセンサおよび回転機器
24日前
ミネベアミツミ株式会社
モータ
3日前
ミネベアミツミ株式会社
ひずみゲージ
24日前
ミネベアミツミ株式会社
ひずみゲージ
26日前
ミネベアミツミ株式会社
ひずみ検出システム
13日前
個人
電気を重力で発電装置
25日前
個人
高圧電気機器の開閉器
12日前
キヤノン電子株式会社
モータ
24日前
キヤノン電子株式会社
モータ
1か月前
コーセル株式会社
電源装置
1か月前
日星電気株式会社
ケーブル組立体
1か月前
トヨタ自動車株式会社
モータ
24日前
株式会社アイドゥス企画
減反モータ
12日前
株式会社デンソー
回転機
1か月前
株式会社デンソー
端子台
5日前
個人
二次電池繰返パルス放電器用印刷基板
1か月前
ローム株式会社
半導体集積回路
3日前
株式会社ミツバ
回転電機
1か月前
株式会社デンソー
電力変換装置
1か月前
株式会社デンソー
電力変換装置
1か月前
株式会社TMEIC
制御装置
4日前
株式会社日立製作所
回転電機
3日前
株式会社ダイヘン
インバータ装置
1か月前
矢崎総業株式会社
電源回路
11日前
株式会社デンソー
非接触受電装置
1か月前
矢崎総業株式会社
給電装置
4日前
トヨタ自動車株式会社
固定子の加熱装置
1か月前
トヨタ自動車株式会社
ステータの製造装置
25日前
続きを見る
他の特許を見る