TOP
|
特許
|
意匠
|
商標
特許ウォッチ
Twitter
他の特許を見る
10個以上の画像は省略されています。
公開番号
2025168593
公報種別
公開特許公報(A)
公開日
2025-11-07
出願番号
2025149916,2021095633
出願日
2025-09-10,2021-06-08
発明の名称
ひずみゲージ
出願人
ミネベアミツミ株式会社
代理人
弁理士法人ITOH
主分類
G01B
7/00 20060101AFI20251030BHJP(測定;試験)
要約
【課題】耐ひずみ性を向上可能なひずみゲージを提供する。
【解決手段】本ひずみゲージは、可撓性を有する基材と、前記基材上に、Cr、CrN、及びCr
2
Nを含む膜から形成された抵抗体と、を有し、測定対象物のひずみ方向に対して前記抵抗体のグリッド方向が直交するように、前記測定対象物に貼り付けられる。
【選択図】図1
特許請求の範囲
【請求項1】
可撓性を有する基材と、
前記基材上に、Cr、CrN、及びCr
2
Nを含む膜から形成された抵抗体と、
前記基材上に形成され、配線を介して前記抵抗体と電気的に接続された一対の電極と、を有し、
前記配線は、前記抵抗体のグリッド方向に対して傾斜する部分を含む、ひずみゲージ。
続きを表示(約 290 文字)
【請求項2】
前記配線は、前記抵抗体のグリッド方向に対して垂直方向に伸びる部分を含む、請求項1に記載のひずみゲージ。
【請求項3】
測定対象物のひずみ方向に対して前記抵抗体のグリッド方向が平行になるように、前記測定対象物に貼り付けられる、請求項1又は2に記載のひずみゲージ。
【請求項4】
前記電極は、前記抵抗体を挟んで前記ひずみ方向と直交する方向の両側に配置されている、請求項3に記載のひずみゲージ。
【請求項5】
前記配線は、前記電極と接続される部分に折り返し部を有する、請求項1乃至4の何れか一項に記載のひずみゲージ。
発明の詳細な説明
【技術分野】
【0001】
本発明は、ひずみゲージに関する。
続きを表示(約 1,300 文字)
【背景技術】
【0002】
測定対象物に貼り付けて、測定対象物のひずみを検出するひずみゲージが知られている。ひずみゲージは、ひずみを検出する抵抗体を備えており、抵抗体は、例えば、絶縁性樹脂上に形成されている。抵抗体は、例えば、配線を介して、電極と接続されている(例えば、特許文献1参照)。
【先行技術文献】
【特許文献】
【0003】
特開2016-74934号公報
【発明の概要】
【発明が解決しようとする課題】
【0004】
ひずみゲージは起歪体へ貼り付けられ、起歪体の動きに追従し伸び縮みすることで、起歪体のひずみ量を検出する。そのため、より大きなひずみ量を検出するためには、伸び縮みの過程でひずみゲージ自身が破損してはならず、より高い耐ひずみ性が求められている。
【0005】
本発明は、上記の点に鑑みてなされたもので、耐ひずみ性を向上可能なひずみゲージを提供することを目的とする。
【課題を解決するための手段】
【0006】
本ひずみゲージは、可撓性を有する基材と、前記基材上に、Cr、CrN、及びCr
2
Nを含む膜から形成された抵抗体と、前記基材上に形成され、配線を介して前記抵抗体と電気的に接続された一対の電極と、を有し、前記配線は、前記抵抗体のグリッド方向に対して傾斜する部分を含む。
【発明の効果】
【0007】
開示の技術によれば、耐ひずみ性を向上可能なひずみゲージを提供できる。
【図面の簡単な説明】
【0008】
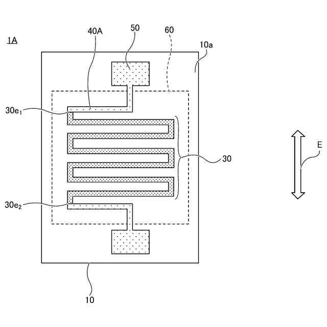
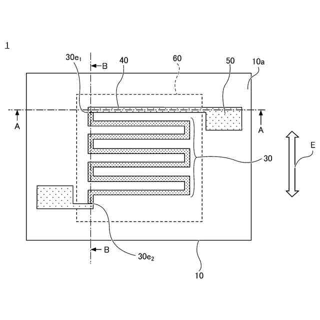
第1実施形態に係るひずみゲージを例示する平面図である。
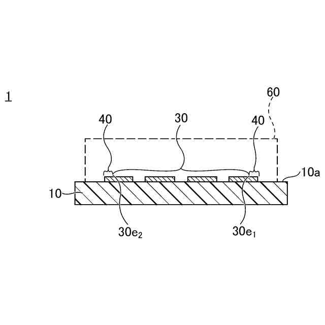
第1実施形態に係るひずみゲージを例示する断面図(その1)である。
第1実施形態に係るひずみゲージを例示する断面図(その2)である。
ひずみゲージの貼り付け方向について説明する図(その1)である。
第1実施形態に係るひずみゲージを例示する断面図(その3)である。
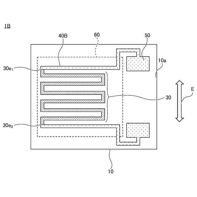
第1実施形態の変形例1に係るひずみゲージを例示する平面図である。
ひずみゲージの貼り付け方向について説明する図(その2)である。
第1実施形態の変形例2に係るひずみゲージを例示する平面図(その1)である。
第1実施形態の変形例2に係るひずみゲージを例示する平面図(その2)である。
【発明を実施するための形態】
【0009】
以下、図面を参照して発明を実施するための形態について説明する。各図面において、同一構成部分には同一符号を付し、重複した説明を省略する場合がある。
【0010】
〈第1実施形態〉
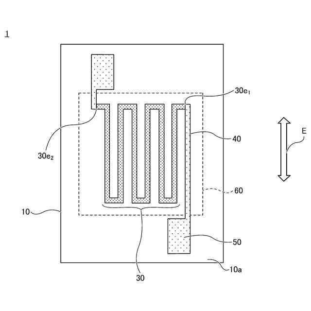
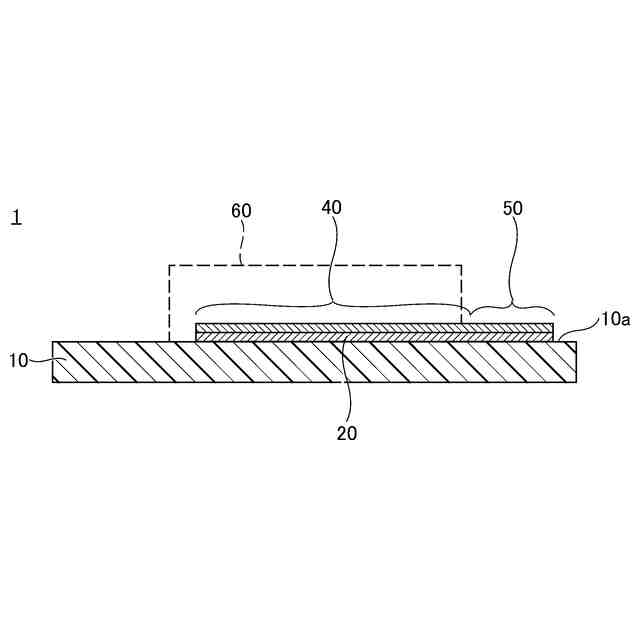
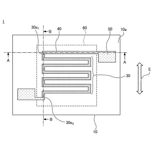
図1は、第1実施形態に係るひずみゲージを例示する平面図である。図2は、第1実施形態に係るひずみゲージを例示する断面図(その1)であり、図1のA-A線に沿う断面を示している。図3は、第1実施形態に係るひずみゲージを例示する断面図(その2)であり、図1のB-B線に沿う断面を示している。なお、図1に示す矢印Eは、ひずみゲージ1が貼り付けられる測定対象物のひずみ方向(伸縮方向)を示している。
(【0011】以降は省略されています)
この特許をJ-PlatPat(特許庁公式サイト)で参照する
関連特許
日本精機株式会社
検出装置
26日前
個人
採尿及び採便具
1か月前
個人
計量機能付き容器
21日前
日本精機株式会社
発光表示装置
4日前
株式会社ミツトヨ
測定器
1か月前
株式会社カクマル
境界杭
11日前
甲神電機株式会社
電流検出装置
26日前
株式会社トプコン
測量装置
3日前
大成建設株式会社
風洞実験装置
21日前
双庸電子株式会社
誤配線検査装置
27日前
大和製衡株式会社
組合せ計量装置
1か月前
大和製衡株式会社
組合せ計量装置
1か月前
愛知電機株式会社
軸部材の外観検査装置
1か月前
愛知時計電機株式会社
ガスメータ
1か月前
日本特殊陶業株式会社
ガスセンサ
3日前
個人
計量具及び計量機能付き容器
21日前
個人
非接触による電磁パルスの測定方法
24日前
日本信号株式会社
距離画像センサ
24日前
日本特殊陶業株式会社
ガスセンサ
19日前
日本特殊陶業株式会社
センサ
1か月前
日本特殊陶業株式会社
センサ
5日前
日東精工株式会社
振動波形検査装置
27日前
キーコム株式会社
画像作成システム
11日前
株式会社タイガーカワシマ
揚穀装置
3日前
個人
液位検視及び品質監視システム
19日前
株式会社不二越
X線測定装置
24日前
理研計器株式会社
ガス検知装置
11日前
株式会社電巧社
試験装置及び試験方法
27日前
株式会社エルメックス
希釈液収容容器
21日前
株式会社マグネア
磁界検出素子
24日前
アンリツ株式会社
X線検査装置
1か月前
住友化学株式会社
電気化学センサ
1か月前
株式会社川島製作所
海苔の異物検査装置
17日前
合同会社画像技術研究所
カラーチャート
17日前
日本特殊陶業株式会社
化学センサ
26日前
IMV株式会社
振動試験システム
24日前
続きを見る
他の特許を見る