TOP
|
特許
|
意匠
|
商標
特許ウォッチ
Twitter
他の特許を見る
10個以上の画像は省略されています。
公開番号
2025173603
公報種別
公開特許公報(A)
公開日
2025-11-28
出願番号
2024079207
出願日
2024-05-15
発明の名称
回転機の固定子の構造
出願人
ミネベアミツミ株式会社
代理人
アインゼル・フェリックス=ラインハルト
,
個人
,
個人
主分類
H02K
3/34 20060101AFI20251120BHJP(電力の発電,変換,配電)
要約
【課題】高い効率を実現することが可能な回転機の固定子の構造を提供すること。
【解決手段】固定子10は、軸方向に直交する2つの面116、117と、径方向に延在する面113と、を有する磁性体11と、前記磁性体11を覆う絶縁体12、13と、前記磁性体11の前記径方向に延在する面113に対向するように巻き付けられたコイル14と、を備えており、前記絶縁体12、13は、第1の絶縁体12と、第2の絶縁体13と、を有しており、前記第1の絶縁体12の厚さは、前記第2の絶縁体13の厚さよりも薄く形成されている、前記第1の絶縁体12は、前記磁性体11の周方向に延在する面112と、前記径方向に延在する面113と、前記軸方向に直交する2つの面116、117のうち一方の面116とを覆うことで得られる。
【選択図】図13
特許請求の範囲
【請求項1】
軸方向に直交する2つの面と、径方向に延在する面と、を有する磁性体と、
前記磁性体を覆う絶縁体と、
前記磁性体の前記径方向に延在する面に対向するように巻き付けられたコイルと、
を備えており、
前記絶縁体は、第1の絶縁体と、第2の絶縁体と、を有しており、
前記第1の絶縁体の厚さは、前記第2の絶縁体の厚さよりも薄く形成されている、
前記第1の絶縁体は、前記磁性体の周方向に延在する面と、前記径方向に延在する面と、前記軸方向に直交する2つの面のうち一方の面とを覆う、
固定子。
続きを表示(約 1,000 文字)
【請求項2】
請求項1に記載の固定子において、
前記第1の絶縁体は、前記径方向に延在する面と対向する面と、前記軸方向に直交する2つの面のうち一方の面と対向する面とを有し、
前記第2の絶縁体は、前記軸方向に直交する2つの面のうち他方の面と対向する面を有し、
前記第1の絶縁体における前記磁性体の前記軸方向に直交する面と対向する面の厚さは、前記第2の絶縁体における前記磁性体の前記軸方向に直交する面のうち他方の面と対向する面の厚さよりも薄く形成されている、
固定子。
【請求項3】
請求項2に記載の固定子において、
前記第1の絶縁体のうち、前記磁性体の前記径方向に延在する面を覆う面は、前記第2の絶縁体のうち、コイルの内面と対向する面を更に覆う、
固定子。
【請求項4】
請求項2に記載の固定子において、
前記第2の絶縁体は、前記軸方向において前記磁性体から離れる方向に延在するように形成された突出部を有している、
固定子。
【請求項5】
請求項4に記載の固定子において、
前記第2の絶縁体と対向する面を有する回路基板を更に備えており、
前記突出部は、前記回路基板と対向する、
固定子。
【請求項6】
請求項3に記載の固定子において、
前記磁性体は、内周面の一部の領域において周辺の領域よりも前記径方向に窪んだ凹状の領域を有する、
固定子。
【請求項7】
請求項3に記載の固定子において、
前記第1の絶縁体は、内周面の一部の領域において周辺の領域よりも前記径方向に突出した凸状の領域を有する
固定子。
【請求項8】
請求項5に記載の固定子において、
前記第2の絶縁体は、内周面の一部の領域において周辺の領域よりも前記軸方向に窪んだ切欠領域を有しており、
前記回路基板は、内周面の一部の領域において周辺の領域よりも前記径方向に突出した突出領域を有しており、
前記第2の絶縁体と、前記回路基板は、前記切欠領域と、前記突出領域と、によって互いに係合する、
固定子。
【請求項9】
電動機または発電機として用いられる回転機であって、
回転軸と、
前記回転軸に固定される回転子と、
前記回転子と同一軸上に位置する請求項1~8に記載の固定子を備える、
回転機。
発明の詳細な説明
【技術分野】
【0001】
本発明は、発電機、電動機を含む回転機の固定子の構造に関する。
続きを表示(約 2,200 文字)
【背景技術】
【0002】
従来、回転機の効率を向上させるためには巻線の抵抗成分により発生する銅損を低減させる必要があることが知られている。一方で、銅損を低減させるために巻線の高密度化を図る場合、絶縁距離を確保するために一定の制約があることも知られている。例えば、特許文献1には、積層鉄心と、前記積層鉄心の極歯部に集中巻した巻線とを備え、隣合う前記巻線間に絶縁シートを介在させ樹脂成形した電動機の固定子が開示されている(例えば、特許文献1参照)。
【先行技術文献】
【特許文献】
【0003】
特開2000-333399号公報
【発明の概要】
【発明が解決しようとする課題】
【0004】
ところで、特許文献1に開示された電動機の固定子において、積層鉄心の両端に配置される絶縁体は、積層鉄心と対向する面に対して互いに対称となる形状として成型されている。
しかしながら、上記のような形状を有する絶縁体を利用すると、積層鉄心の積層方向において、巻線を巻きつける領域に一定の制約が生じることから、効率の向上には一定の制約が生じることを課題の一例とする。
【0005】
本発明は、上記課題に鑑みてなされたものであり、高い効率を実現することが可能な回転機の固定子の構造を提供することを目的とする。
【課題を解決するための手段】
【0006】
本発明の代表的な実施の形態に係る回転機の固定子は、軸方向に直交する2つの面と、径方向に延在する面と、を有する磁性体と、前記磁性体を覆う絶縁体と、前記磁性体の前記径方向に延在する面に対向するように巻き付けられたコイルと、を備えており、前記絶縁体は、第1の絶縁体と、第2の絶縁体と、を有しており、前記第1の絶縁体の厚さは、前記第2の絶縁体の厚さよりも薄く形成されている、前記第1の絶縁体は、前記磁性体の周方向に延在する面と、前記径方向に延在する面と、前記軸方向に直交する2つの面のうち一方の面とを覆うことを特徴とする。
【図面の簡単な説明】
【0007】
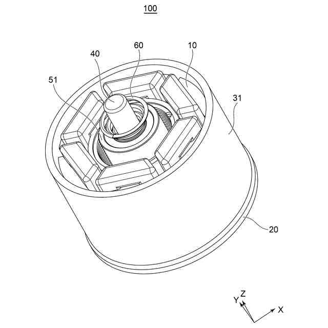
本発明の実施の形態に係る回転機の構造を示す斜視図である。
本発明の実施の形態に係る回転機のうち、ヨークを取り除いた構造を示す斜視図である。
図2の回転機の構造を異なる方向から示した斜視図である。
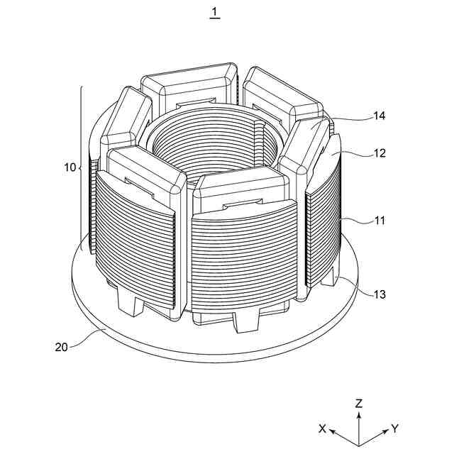
本発明の実施の形態に係る回転機の固定子の組立体の構造を示す斜視図である。
本発明の実施の形態に係る固定子の磁性体の構造を示す斜視図である。
図5の磁性体の構造を異なる方向から示した斜視図である。
本発明の実施の形態に係る固定子の第1の絶縁体の構造を示す斜視図である。
図7の第1の絶縁体の構造を異なる方向から示した斜視図である。
本発明の実施の形態に係る固定子の第2の絶縁体の構造を示す斜視図である。
図9の第2の絶縁体の構造を異なる方向から示した斜視図である。
本発明の実施の形態に係る回路基板の構造を示す斜視図である。
本発明の実施の形態に係る固定子の磁性体と第2の絶縁体との結合領域の構造を示す図である。
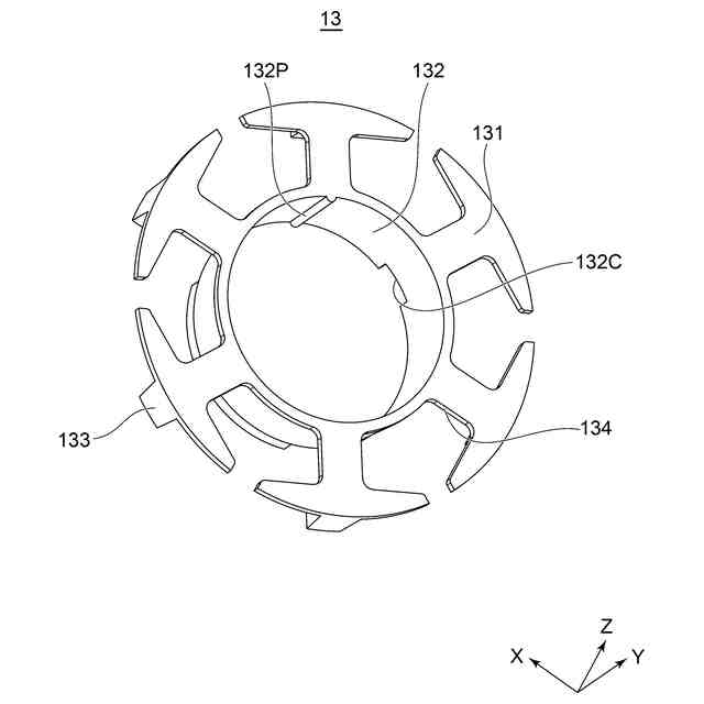
本発明の実施の形態に係る固定子の磁性体と第1の絶縁体と第2の絶縁体との結合領域の構造を示す図である。
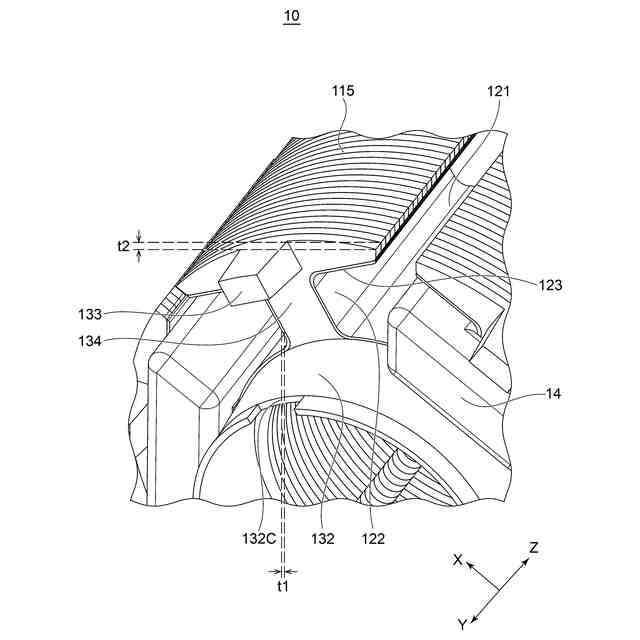
本発明の実施の形態に係る固定子の回路基板との結合に関わる領域の構造を示す図である。
図14の回路基板との結合に関わる領域の構造を異なる方向から示した斜視図である。
【発明を実施するための形態】
【0008】
先ず、本願において開示される発明の代表的な実施の形態について概要を説明する。また、図面は模式的なものであり、各要素の寸法の関係、各要素の比率などは、現実と異なる場合があることに留意する必要がある。図面の相互間においても、互いの寸法の関係や比率が異なる部分が含まれている場合がある。
【0009】
[回転機の構成]
図1は、本発明の実施の形態に係る回転機の構造を示す斜視図である。
図2は、本発明の実施の形態に係る回転機のうち、ヨークを取り除いた構造を示す斜視図である。
図3は、図2の回転機の構造を異なる方向から示した斜視図である。
図4は、本発明の実施の形態に係る回転機の固定子の組立体の構造を示す斜視図である。
【0010】
図1から図3に示すように、本発明の実施の形態に係る回転機100は、電動機または発電機として用いられる回転機100であり、回転軸40と、回転軸40に固定される回転子30と、回転子30と同一軸上に位置する固定子10と、コイル14と、回転軸40を支持する第1軸受51および第2軸受52と、弾性体としてのコイルばね60と、基板としての回路基板20と、を備える。
電動機としての回転機100は、外部から供給された電気エネルギーを回転エネルギーに変換し、回転軸40に接続された機器に回転エネルギーを供給することができる。また、発電機としての回転機100は、回転軸40に接続された機器で発生した回転エネルギーを電気エネルギーに変換し、外部へ電気エネルギーを供給することができる。
(【0011】以降は省略されています)
この特許をJ-PlatPat(特許庁公式サイト)で参照する
関連特許
個人
電気を重力で発電装置
25日前
個人
高圧電気機器の開閉器
12日前
キヤノン電子株式会社
モータ
24日前
キヤノン電子株式会社
モータ
1か月前
コーセル株式会社
電源装置
1か月前
日星電気株式会社
ケーブル組立体
1か月前
株式会社アイドゥス企画
減反モータ
12日前
トヨタ自動車株式会社
モータ
24日前
株式会社デンソー
回転機
1か月前
株式会社デンソー
端子台
5日前
個人
二次電池繰返パルス放電器用印刷基板
1か月前
株式会社デンソー
電力変換装置
1か月前
株式会社ミツバ
回転電機
1か月前
株式会社デンソー
電力変換装置
1か月前
ローム株式会社
半導体集積回路
3日前
矢崎総業株式会社
給電装置
4日前
矢崎総業株式会社
電源回路
11日前
株式会社TMEIC
制御装置
4日前
株式会社デンソー
非接触受電装置
1か月前
トヨタ自動車株式会社
固定子の加熱装置
1か月前
株式会社日立製作所
回転電機
3日前
日産自動車株式会社
ロータシャフト
19日前
日産自動車株式会社
ロータシャフト
19日前
ローム株式会社
モータドライバ回路
19日前
個人
非対称鏡像力を有する4層PWB電荷搬送体
19日前
トヨタ自動車株式会社
ステータの製造装置
25日前
山洋電気株式会社
モータ
1か月前
大和ハウス工業株式会社
敷設用機器
4日前
株式会社TMEIC
電力変換装置
1か月前
トヨタ自動車株式会社
可変界磁ロータ
27日前
株式会社土井製作所
ケーブル保護管路
3日前
株式会社TMEIC
電力変換装置
4日前
個人
電線盗難防止方法及び電線盗難防止装置
1か月前
京商株式会社
模型用非接触電力供給システム
12日前
株式会社明治ゴム化成
ワイヤレス給電用部品
1か月前
株式会社アイシン
電力変換装置
24日前
続きを見る
他の特許を見る