TOP
|
特許
|
意匠
|
商標
特許ウォッチ
Twitter
他の特許を見る
10個以上の画像は省略されています。
公開番号
2025172424
公報種別
公開特許公報(A)
公開日
2025-11-26
出願番号
2024077925
出願日
2024-05-13
発明の名称
モータ
出願人
ミネベアミツミ株式会社
代理人
弁理士法人NYTパートナーズ
主分類
H02K
3/52 20060101AFI20251118BHJP(電力の発電,変換,配電)
要約
【課題】小型化を図ることができるモータを提供する。
【解決手段】モータ1は、コイル28を形成する導線28aと、複数のバスバー50A~50Cと、を備え、前記複数のバスバー50A~50Cに、前記導線28aが電気的に接続されており、軸方向において、前記複数のバスバー50A~50Cのうち、第1バスバー50Cの段部に第2バスバー50Bの一部分が重なっている。
【選択図】図7
特許請求の範囲
【請求項1】
コイルを形成する導線と、
複数のバスバーと、を備え、
前記複数のバスバーに、前記導線が電気的に接続されており、
軸方向において、前記複数のバスバーのうち、第1バスバーの段部に第2バスバーの一部分が重なっている、モータ。
続きを表示(約 370 文字)
【請求項2】
前記第2バスバーの一部分には前記導線が接続されている、請求項1に記載のモータ。
【請求項3】
前記第1バスバー及び前記第2バスバーは、周方向において、両端部を備える、請求項1又は2に記載のモータ。
【請求項4】
前記複数のバスバーは、第3バスバーを備え、
径方向において、前記第3バスバーは、周方向に延在する壁部を備え、
前記第3バスバーの壁部は、径方向において、前記第1バスバー又は前記第2バスバーに対向する、請求項1から3のいずれかに記載のモータ。
【請求項5】
前記第1バスバーは、外部と接続する端子を備え、
径方向において、前記第1バスバーの端子は、前記第2バスバーの外周部に隣接して配置されている、請求項1から4のいずれかに記載のモータ。
発明の詳細な説明
【技術分野】
【0001】
本発明は、モータに関する。
続きを表示(約 1,700 文字)
【背景技術】
【0002】
例えば特許文献1には、モータへの電流の供給にあたって、軸方向に積層された複数のバスバーユニットが用いられる。各バスバーユニットは、バスバーと、バスバーを保持する樹脂製のホルダと、を有している。
【先行技術文献】
【特許文献】
【0003】
特開2017-085456号公報
【発明の概要】
【発明が解決しようとする課題】
【0004】
こうしたモータでは、高電流に対応するためにバスバーの厚さを増大させる必要がある。その場合、軸方向に積層された枚数分だけ、軸方向にバスバーユニットを大型化しなければならない。その結果、モータは大型化してしまう。
【0005】
そこで、本発明は、小型化を図ることができるモータを提供することを目的とする。
【課題を解決するための手段】
【0006】
本発明の一態様に係るモータは、コイルを形成する導線と、複数のバスバーと、を備え、前記複数のバスバーに、前記導線が電気的に接続されており、回転軸方向において、前記複数のバスバーのうち、第1バスバーの段部に前記第2バスバーの一部分が重なっている。
【図面の簡単な説明】
【0007】
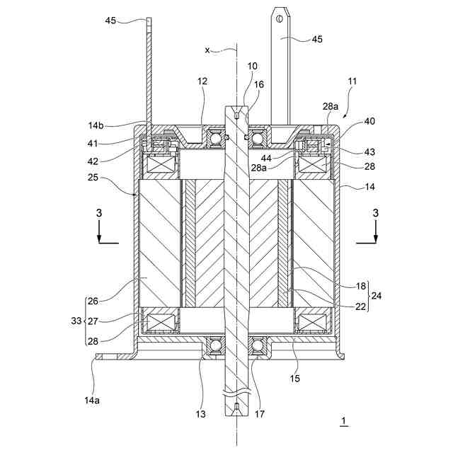
本発明の一実施形態に係るモータ1の構造を概略的に示す斜視図である。
図1の2-2線に沿った断面図である。
図1の2-2線に沿った断面図である。
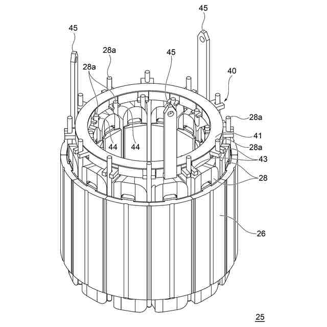
一具体例に係るステータアセンブリ25の構造を概略的に示す斜視図である。
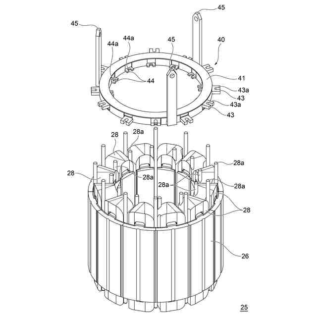
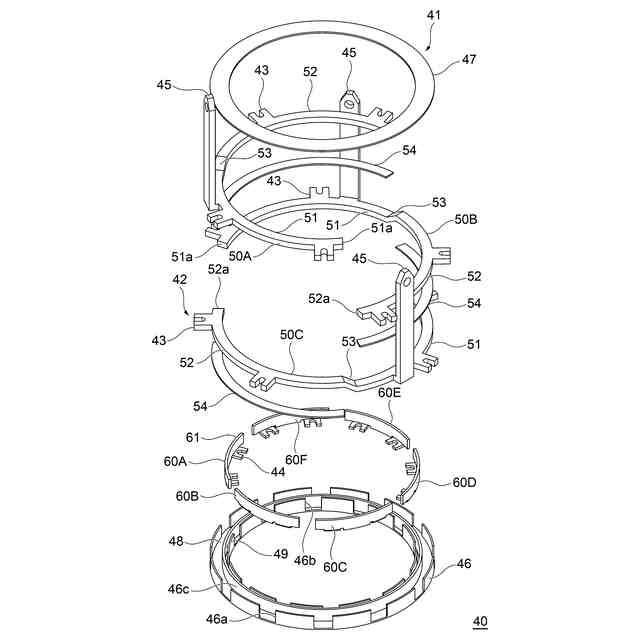
一具体例に係るステータアセンブリ25の構造を概略的に示す分解斜視図である。
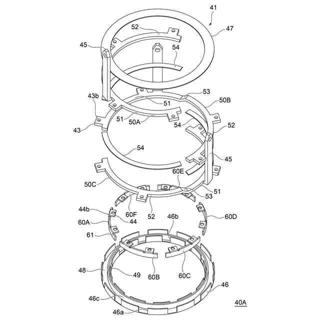
一具体例に係るバスバーユニット40の構造を概略的に示す分解斜視図である。
一具体例に係るバスバー群42の構造を概略的に示す斜視図である。
他の具体例に係るバスバーユニット40Aの構造を概略的に示す斜視図である。
他の具体例に係るバスバーユニット40Aの構造を概略的に示す分解斜視図である。
他の具体例に係るバスバー群42Aの構造を概略的に示す斜視図である。
図8の11-11線に沿った部分拡大断面図である。
【発明を実施するための形態】
【0008】
以下、添付図面を参照して、本発明の一実施形態について説明する。図1は、本発明の一実施形態に係るモータ1の構造を概略的に示す斜視図である。図2は、本発明の一実施形態に係るモータ1の構造を概略的に示す垂直断面図である。図3は、本発明の一実施形態に係るモータ1の構造を概略的に示す水平断面図である。なお、図2は、モータ1の回転軸心を構成する軸線xを含む仮想平面に沿った、図1の2-2線に沿った断面図に相当する。また、図3は、軸線xに直交する仮想平面に沿った、図2の3-3線に沿った断面図に相当する。
【0009】
なお、以下のモータ1の実施形態の説明において、軸線xに沿った方向(以下、「軸方向」という。)における一方の側を上側、一方の側の反対の他方の側を下側と規定する。軸方向において規定されるこれら上側及び下側は、重力方向における上下関係とは必ずしも一致しない。また、軸線xに垂直な方向にモータ1の径方向が規定される。この径方向において、軸線xから遠ざかる側を径方向における外側(外周側)と規定する一方で、軸線xに近づく方向を径方向における内側(内周側)と規定する。さらに、軸線x周りにモータ1の周方向が規定される。
【0010】
図1~図3を併せて参照すると、モータ1は、例えば軸線xを中心軸線とする円柱状のシャフト10を備えている。シャフト10は、ハウジング11に固定される2つの軸受12、13に回転自在に支持されている。軸受12、13は、シャフト10とハウジング11との間に例えば圧入などにより取り付けられている。軸受12、13は例えば玉軸受である。この例では、シャフト10は、ハウジング11の上端より上側よりも、ハウジング11の下端よりも下側により大きく突出している。
(【0011】以降は省略されています)
この特許をJ-PlatPat(特許庁公式サイト)で参照する
関連特許
個人
高圧電気機器の開閉器
12日前
個人
電気を重力で発電装置
25日前
キヤノン電子株式会社
モータ
24日前
キヤノン電子株式会社
モータ
1か月前
日星電気株式会社
ケーブル組立体
1か月前
コーセル株式会社
電源装置
1か月前
株式会社アイドゥス企画
減反モータ
12日前
トヨタ自動車株式会社
モータ
24日前
株式会社デンソー
端子台
5日前
個人
二次電池繰返パルス放電器用印刷基板
1か月前
株式会社デンソー
電力変換装置
1か月前
ローム株式会社
半導体集積回路
3日前
株式会社日立製作所
回転電機
3日前
矢崎総業株式会社
電源回路
11日前
株式会社TMEIC
制御装置
4日前
矢崎総業株式会社
給電装置
4日前
トヨタ自動車株式会社
固定子の加熱装置
1か月前
株式会社デンソー
非接触受電装置
1か月前
トヨタ自動車株式会社
ステータの製造装置
25日前
山洋電気株式会社
モータ
1か月前
大和ハウス工業株式会社
敷設用機器
4日前
個人
非対称鏡像力を有する4層PWB電荷搬送体
19日前
日産自動車株式会社
ロータシャフト
19日前
日産自動車株式会社
ロータシャフト
19日前
ローム株式会社
モータドライバ回路
19日前
株式会社アイシン
電力変換装置
24日前
株式会社明治ゴム化成
ワイヤレス給電用部品
1か月前
トヨタ紡織株式会社
ロータの製造装置
1か月前
京商株式会社
模型用非接触電力供給システム
12日前
トヨタ自動車株式会社
可変界磁ロータ
27日前
株式会社TMEIC
電力変換装置
4日前
株式会社マキタ
電動作業機
1か月前
個人
電線盗難防止方法及び電線盗難防止装置
1か月前
株式会社土井製作所
ケーブル保護管路
3日前
ニデック株式会社
回転電機
24日前
本田技研工業株式会社
回転電機用ロータ
12日前
続きを見る
他の特許を見る