TOP
|
特許
|
意匠
|
商標
特許ウォッチ
Twitter
他の特許を見る
公開番号
2025167502
公報種別
公開特許公報(A)
公開日
2025-11-07
出願番号
2024072179
出願日
2024-04-26
発明の名称
起歪体、トルクセンサおよび回転機器
出願人
ミネベアミツミ株式会社
代理人
アインゼル・フェリックス=ラインハルト
,
個人
,
個人
主分類
G01L
3/10 20060101AFI20251030BHJP(測定;試験)
要約
【課題】例えば、加工性に優れた起歪体、ならびに、それを備えるトルクセンサおよび回転機器の提供。
【解決手段】例えば、径方向に延在する第1部分(111)と、第1部分(111)の端部から周方向に延在する第2部分(120)と、第1部分(111)と第2部分(120)とを連結する連結部(13)と、を備える、起歪体(1);起歪体(1)を備えるトルクセンサ(10);トルクセンサ(10)を備える回転機器(100)。
【選択図】図1
特許請求の範囲
【請求項1】
径方向に延在する第1部分と、
前記第1部分の端部から周方向に延在する第2部分と、
前記第1部分と前記第2部分とを連結する連結部と、
を備える、起歪体。
続きを表示(約 610 文字)
【請求項2】
前記連結部は周方向に延在している、請求項1に記載の起歪体。
【請求項3】
前記第1部分と前記第2部分との間にはスリットが形成されている、請求項1または2に記載の起歪体。
【請求項4】
前記スリットは、径方向に延在する部分および周方向に延在する部分を有する、請求項3に記載の起歪体。
【請求項5】
前記第1部分と、前記第2部分と、前記連結部と、に囲まれた空間が形成されており、
前記空間は前記スリットの一部である、請求項4に記載の起歪体。
【請求項6】
内周部および外周部を備え、
前記内周部は、径方向に延在する複数の部分により構成される第1部分群を備え、前記第1部分群は、前記第1部分を含み、
前記外周部は、周方向に延在する複数の部分により構成される第2部分群を備え、前記第2部分群は、前記第2部分を含む、請求項1から5のいずれかに記載の起歪体。
【請求項7】
請求項6に記載の起歪体と、
前記起歪体に取り付けられたひずみセンサと、
を備える、トルクセンサ。
【請求項8】
請求項7に記載のトルクセンサと、
前記起歪体の前記内周部に取り付けられた軸受と、
前記起歪体の前記第2部分に取り付けられた外部装置と、
を備える、回転機器。
発明の詳細な説明
【技術分野】
【0001】
本発明は、起歪体、トルクセンサおよび回転機器に関する。
続きを表示(約 1,800 文字)
【背景技術】
【0002】
検出装置として、変形可能な部材にひずみセンサを取り付けたものが知られている。例えば、特許文献1には、四隅に固定部を有する四角形状の基板と、固定部の近傍で基板上に配置された四つのひずみセンサとを備え、ひずみセンサの形状を帯状かつ円弧状とし、ひずみセンサの幅方向の両側に沿って電極を設けた入力装置が開示されている。
【先行技術文献】
【特許文献】
【0003】
特開2001-265518号公報
【発明の概要】
【発明が解決しようとする課題】
【0004】
起歪体とひずみセンサを組み合わせた検出装置を回転機器等のトルクセンサに応用すると、起歪体の形状が複雑なものとなり、その製造のために煩雑な加工工程を要する場合がある。本発明は、加工性に優れた起歪体、ならびに、それを備えるトルクセンサおよび回転機器の提供を課題の一例とする。
【課題を解決するための手段】
【0005】
本発明の起歪体は、例えば、径方向に延在する第1部分と、前記第1部分の端部から周方向に延在する第2部分と、前記第1部分と前記第2部分とを連結する連結部と、を備える。
【図面の簡単な説明】
【0006】
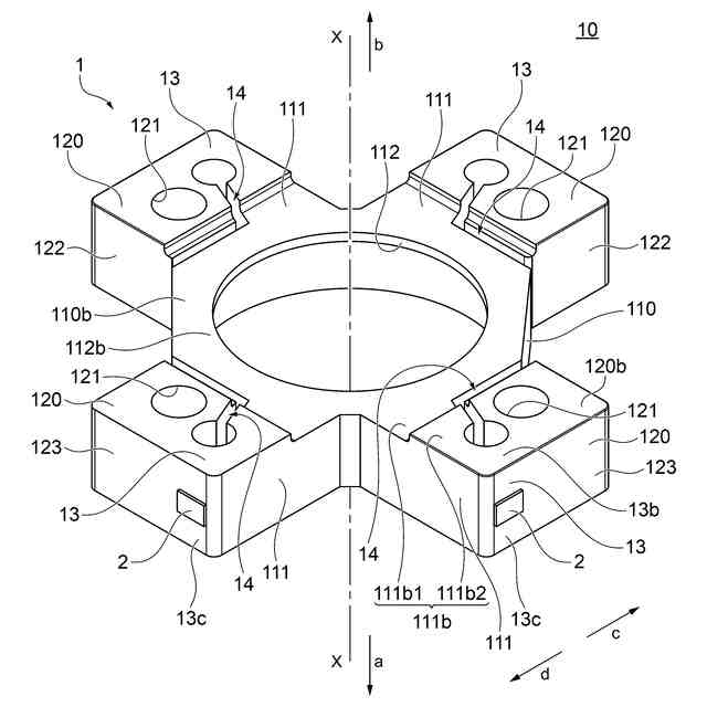
本発明の一例である実施の形態にかかるトルクセンサを示す斜視図である。
本発明の一例である実施の形態にかかるトルクセンサを示す他の斜視図である。
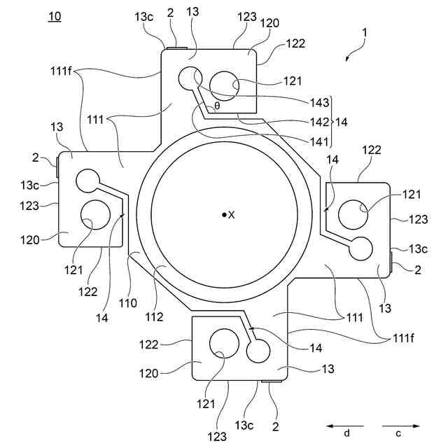
本発明の一例である実施の形態にかかるトルクセンサを示す平面図である。
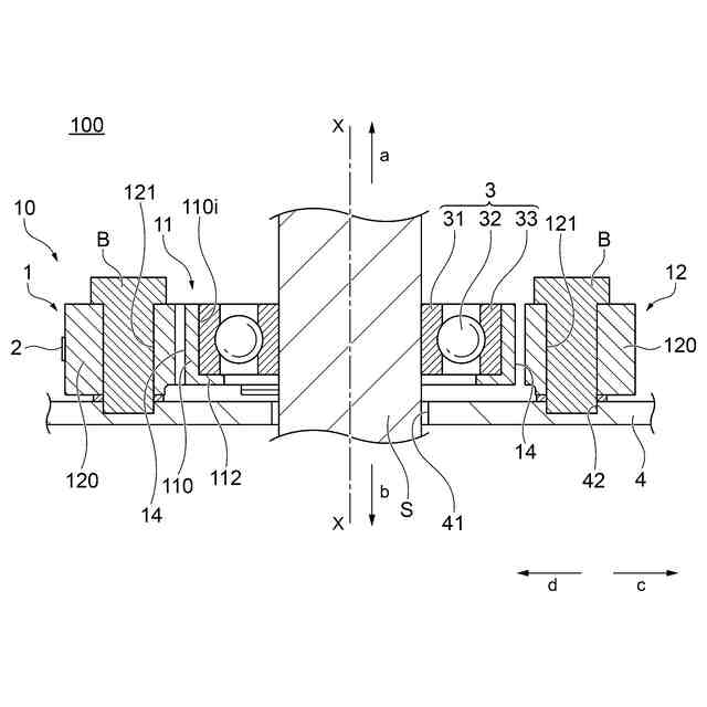
本発明の一例である実施の形態にかかる回転機器の一部分を模式的に示す断面図である。
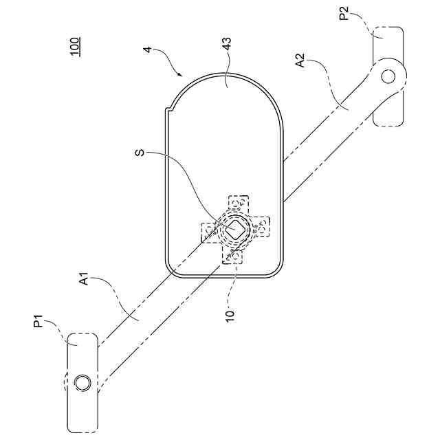
本発明の一例である実施の形態にかかる回転機器の模式図である。
【発明を実施するための形態】
【0007】
本発明の実施の形態の説明において、説明の便宜上、軸X(シャフトSの中心軸)に沿った矢印a方向を軸方向における一方側とする。軸Xに沿った矢印b方向を軸方向における他方側とする。ここで、矢印ab方向を軸方向と称する。また、軸Xに直交する矢印cd方向を径方向と称し、軸Xから離れる矢印c方向を径方向における外側または一方側、軸Xに近づく矢印d方向を径方向における内側または他方側と称する。さらに、軸Xの周りに回転する方向を周方向と称する。ただし、「周方向に延在する」と示す場合、軸方向から見て、軸Xを中心とする円に接する直線に沿った方向または概ね沿った方向に延在することを意味することがある。
【0008】
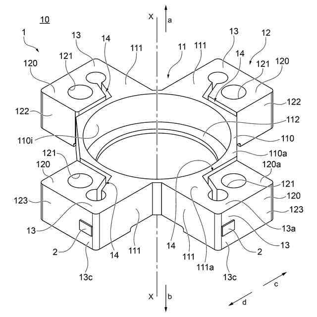
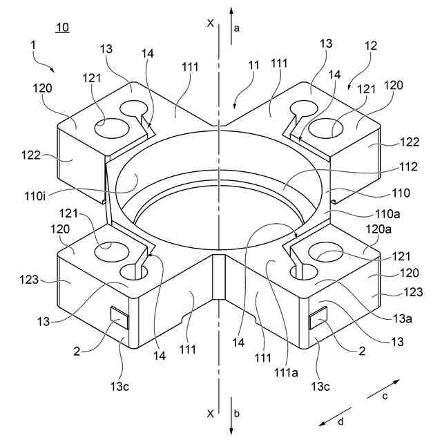
以下、本発明の一例である実施の形態について図面を参照しながら説明する。図1は、本実施の形態にかかる起歪体1にひずみセンサ2が取り付けられたトルクセンサ10を示す斜視図である。図2は、トルクセンサ10を示す他の斜視図である。図3は、トルクセンサ10を示す平面図である。
【0009】
図1に示すように、起歪体1は、内周部11および外周部12を備える。内周部11は、保持部110と、保持部110から径方向に延在する複数の部分からなる第1部分群(第1部分111、第1部分111、・・・)と、を備える。外周部12は、第1部分111のそれぞれの端部から周方向に延在する複数の部分からなる第2部分群(第2部分120、第2部分120、・・・)を備える。第1部分群に属する1つの第1部分111と、当該第1部分111の端部から周方向に延在する1つの第2部分120とは、連結部13によって連結されている。本実施の形態において、起歪体1は、連結部13および第2部分120のそれぞれを、起歪体1が備える第1部分111の数(本実施の形態においては、4つ)と等しい数備える。
【0010】
保持部110は、軸方向に延びる筒状の部分である。保持部110は、軸Xの周りに円筒状の内周面110iを有する。保持部110は、後述する軸受3を介してシャフトSを支持する部分である。図1において、保持部110の外形(径方向における外側の輪郭線がなす形状)は、軸方向から見て環状の形状(略六角形)となっているが、保持部110の外形は略六角形に限られず、円形、略円形、楕円形、略楕円形、四角形、略四角形、多角形、複雑な凹凸を含む形状等、いかなる形状であってもよい。
(【0011】以降は省略されています)
この特許をJ-PlatPat(特許庁公式サイト)で参照する
関連特許
日本精機株式会社
検出装置
26日前
個人
採尿及び採便具
1か月前
個人
アクセサリー型テスター
1か月前
個人
計量機能付き容器
21日前
個人
高精度同時多点測定装置
1か月前
株式会社カクマル
境界杭
11日前
日本精機株式会社
発光表示装置
4日前
甲神電機株式会社
電流検出装置
26日前
株式会社ミツトヨ
測定器
1か月前
株式会社トプコン
測量装置
3日前
アズビル株式会社
電磁流量計
1か月前
大成建設株式会社
風洞実験装置
21日前
日本特殊陶業株式会社
ガスセンサ
19日前
日本信号株式会社
距離画像センサ
24日前
個人
システム、装置及び実験方法
1か月前
日本特殊陶業株式会社
ガスセンサ
3日前
個人
計量具及び計量機能付き容器
21日前
愛知電機株式会社
軸部材の外観検査装置
1か月前
愛知時計電機株式会社
ガスメータ
1か月前
双庸電子株式会社
誤配線検査装置
27日前
ローム株式会社
半導体装置
1か月前
ローム株式会社
半導体装置
1か月前
大和製衡株式会社
組合せ計量装置
1か月前
大和製衡株式会社
組合せ計量装置
1か月前
個人
非接触による電磁パルスの測定方法
24日前
株式会社タイガーカワシマ
揚穀装置
3日前
株式会社不二越
X線測定装置
24日前
日東精工株式会社
振動波形検査装置
27日前
キーコム株式会社
画像作成システム
11日前
日本特殊陶業株式会社
センサ
1か月前
日本特殊陶業株式会社
センサ
5日前
株式会社デンソー
電流センサ
1か月前
個人
液位検視及び品質監視システム
19日前
トヨタ自動車株式会社
測定システム
1か月前
株式会社電巧社
試験装置及び試験方法
27日前
株式会社マグネア
磁界検出素子
24日前
続きを見る
他の特許を見る