TOP
|
特許
|
意匠
|
商標
特許ウォッチ
Twitter
他の特許を見る
公開番号
2025159699
公報種別
公開特許公報(A)
公開日
2025-10-21
出願番号
2025024879
出願日
2025-02-19
発明の名称
角度センサ
出願人
ミネベアミツミ株式会社
代理人
弁理士法人NYTパートナーズ
主分類
H02K
24/00 20060101AFI20251014BHJP(電力の発電,変換,配電)
要約
【課題】カバーの強度を損なうことなくステータスタックの厚さのばらつきを吸収してステータスタックを固定することができる角度センサを提供する
【解決手段】回転軸方向を中心とする周方向に延在するステータ100と、中心に対して距離をなす径方向においてステータ100と対向するロータ30と、ステータ100に装着されたインシュレータ120と、インシュレータ120に巻回されたコイル126と、ステータ100の一部を覆うカバー50と、Oリング40とを備えたレゾルバ1である。回転軸方向において、Oリング40は、ステータ100とカバー50に挟まれている。
【選択図】図1
特許請求の範囲
【請求項1】
回転軸方向を中心とする周方向に延在するステータと、
前記中心に対して距離をなす径方向において前記ステータと対向するロータと、
前記ステータに固定された絶縁部材と、
前記絶縁部材に巻回された導線と、
前記ステータの一部を覆うカバーと、
弾性体と、
を備え、
前記回転軸方向において、前記弾性体は、前記ステータと前記カバーに挟まれている、
角度センサ。
続きを表示(約 770 文字)
【請求項2】
前記弾性体は、前記カバーによって前記ステータに向かって付勢されている、
請求項1に記載の角度センサ。
【請求項3】
前記ステータを収容するハウジングを備え、
前記ハウジングは、前記回転軸方向において、一方の端部と他方の端部を備え、
前記回転軸方向において、前記ハウジングの前記他方の端部の面と前記ステータは接触しており、
前記回転軸方向において、前記ハウジングの前記一方の端部の面は、前記ステータに隣接して前記弾性体に対向する、
請求項1または2に記載の角度センサ。
【請求項4】
前記軸方向において、前記ハウジングの前記一方の端部の面は前記弾性体を介して前記カバーと対向する、
請求項3に記載の角度センサ。
【請求項5】
前記絶縁部材は、環状の壁を備え、
前記ハウジングは、前記絶縁部材の前記環状の壁を囲む、環状の壁を備え、
径方向において、前記絶縁部材の環状の壁は、前記ハウジングの環状の壁に前記弾性体を介して対向する、
請求項1または2に記載の角度センサ。
【請求項6】
前記カバーは、径方向に延在する部分と、当該部分を囲む筒とを備え、
回転軸方向において、前記径方向に延在する部分は前記弾性体と接触している、
請求項3に記載の角度センサ。
【請求項7】
径方向において、前記径方向に延在する部分は前記導線と対向する、
請求項6に記載の角度センサ。
【請求項8】
前記筒は、径方向に延びる係合部を備え、
前記ハウジングは、前記係合部と係合する被係合部を備える、
請求項6または7に記載の角度センサ。
発明の詳細な説明
【技術分野】
【0001】
本発明は、レゾルバ等の角度センサに係り、特に、ステータの固定構造の改良に関する。
続きを表示(約 1,600 文字)
【背景技術】
【0002】
従来、モータや発電機などの回転電機の回転角を検出する手段として、レゾルバが知られている。レゾルバは、ケースにステータを固定し、ステータの内側にロータを配置して構成されている。ステータは、ステータスタックに、インシュレータを装着して導線を巻回して構成されている。
【0003】
ステータスタックは、板状のステータコアを積層して互いにカシメ固定したものであるため、厚さにばらつきが生じることがある。したがって、ステータスタックの厚さのばらつきを吸収できるステータの固定構造が要望されている。特許文献1に開示されたレゾルバでは、ケース12に検出ステータ32を固定するに際して、リング状の係止部材51で検出ステータ32の縁部をケース12の一部に押圧することで検出ステータ32をケース12に固定している。
【先行技術文献】
【特許文献】
【0004】
特開2003-23761号公報
【発明の概要】
【発明が解決しようとする課題】
【0005】
特許文献1におけるレゾルバでは、多段状の凹部40に、凹部40の形状に合わせた形状の係止部材51を装着し、平板状のフランジ部54に形成した複数の切欠部57の間の可撓部58で検出ステータ32の縁部を押圧する構成である。このため、可撓部58の強度が低下して検出ステータ32の固定の信頼性に欠けるという懸念がある。また、係止部材51のようなカバーに、オイルや塵埃などの異物混入対策の機能を持たせたいとの要望があった。
【0006】
本発明は、上記事情に鑑みてなされたもので、カバーの強度を損なうことなくステータスタックの厚さのばらつきを吸収してステータスタックを固定することができ、さらに、カバーに異物混入対策の機能を持たることが可能な角度センサを提供することを目的としている。
【課題を解決するための手段】
【0007】
本発明は、回転軸方向を中心とする周方向に延在するステータと、前記中心に対して距離をなす径方向において前記ステータと対向するロータと、前記ステータに装着された絶縁部材と、前記絶縁部材に巻回された導線と、前記ステータの一部を覆うカバーと、弾性体と、を備え、前記回転軸方向において、前記弾性体は、前記ステータと前記カバーに挟まれている、角度センサである。
【0008】
本発明によれば、ステータが弾性体により押圧されるので、ステータスタックの厚さのばらつきを吸収しつつステータを固定することができる。
【図面の簡単な説明】
【0009】
本発明の実施形態のレゾルバを示す分解斜視図である。
実施形態のレゾルバの斜視図である。
(A)は実施形態の端子ピンカバーを外した状態のレゾルバを示す斜視図であり、(B)は(A)の矢印Bで示す部分の拡大図である。
(A)実施形態のレゾルバの断面図であり、(B)は(A)の矢印Bで示す部分の拡大図である。
実施形態におけるハウジングの平面図である。
実施形態におけるハウジングの斜視図である。
実施形態におけるカバーの裏面図である。
実施形態におけるカバーの裏面側から視た斜視図である。
【発明を実施するための形態】
【0010】
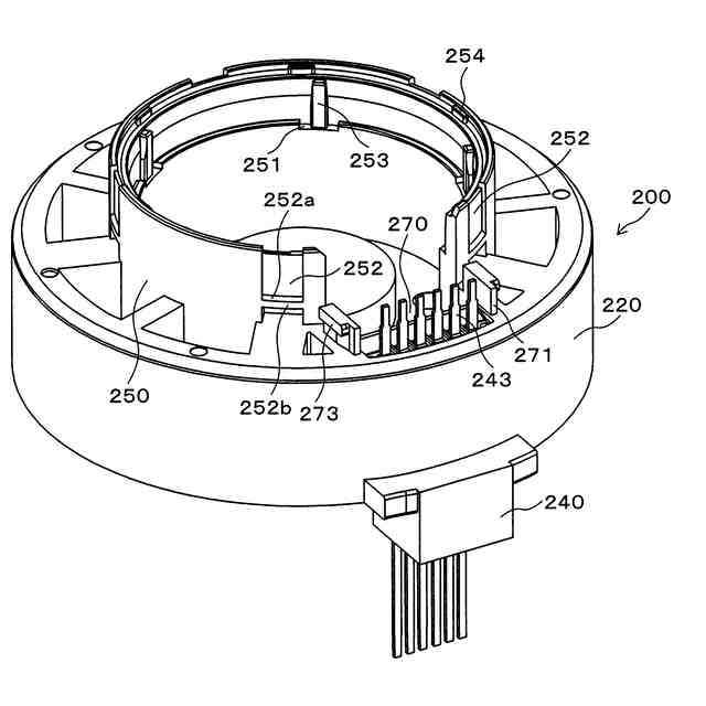
1.レゾルバの全体構成
図1に本発明の実施形態のレゾルバ(角度センサ)1を示す。レゾルバ1は、VR(バリアブルリラクタンス)型レゾルバである。レゾルバ1は、ハウジング200を備えている。ハウジング200にはステータ100が固定され、ステータ100の内側にはロータ30が配置されている。また、ステータ100にはOリング40を介してカバー50が装着されている。以下、各構成要素の詳細について説明する。
(【0011】以降は省略されています)
この特許をJ-PlatPat(特許庁公式サイト)で参照する
関連特許
個人
高圧電気機器の開閉器
18日前
個人
電気を重力で発電装置
1か月前
キヤノン電子株式会社
モータ
1か月前
キヤノン電子株式会社
モータ
1か月前
コーセル株式会社
電源装置
1か月前
日星電気株式会社
ケーブル組立体
1か月前
株式会社アイドゥス企画
減反モータ
18日前
トヨタ自動車株式会社
モータ
1か月前
株式会社デンソー
端子台
11日前
株式会社デンソー
回転電機
2日前
個人
二次電池繰返パルス放電器用印刷基板
1か月前
株式会社ダイヘン
送配電装置
2日前
株式会社不二越
空冷式油圧装置
2日前
本田技研工業株式会社
回転電機
4日前
ローム株式会社
半導体集積回路
9日前
株式会社デンソー
電力変換装置
1か月前
富士電機株式会社
電力変換装置
2日前
富士電機株式会社
電力変換装置
2日前
矢崎総業株式会社
給電装置
10日前
株式会社TMEIC
制御装置
10日前
株式会社日立製作所
回転電機
9日前
トヨタ自動車株式会社
固定子の加熱装置
1か月前
矢崎総業株式会社
電源回路
17日前
大和ハウス工業株式会社
敷設用機器
10日前
株式会社イノコンバンク
無線給電システム
2日前
日産自動車株式会社
ロータシャフト
25日前
日産自動車株式会社
ロータシャフト
25日前
個人
非対称鏡像力を有する4層PWB電荷搬送体
25日前
トヨタ自動車株式会社
ステータの製造装置
1か月前
山洋電気株式会社
モータ
1か月前
ローム株式会社
モータドライバ回路
25日前
トヨタ自動車株式会社
可変界磁ロータ
1か月前
個人
電線盗難防止方法及び電線盗難防止装置
1か月前
サンデン株式会社
モータ
3日前
サンデン株式会社
モータ
3日前
株式会社TMEIC
電力変換装置
10日前
続きを見る
他の特許を見る