TOP
|
特許
|
意匠
|
商標
特許ウォッチ
Twitter
他の特許を見る
10個以上の画像は省略されています。
公開番号
2025157797
公報種別
公開特許公報(A)
公開日
2025-10-16
出願番号
2024060037
出願日
2024-04-03
発明の名称
芳香器
出願人
小林製薬株式会社
代理人
弁理士法人三枝国際特許事務所
主分類
F21V
33/00 20060101AFI20251008BHJP(照明)
要約
【課題】固形の芳香材を収容する容器を芳香器から取り外してユーザの手元に配置できる芳香器の提供を目的とする。
【解決手段】芳香器100は、固形の芳香材が載せられる底面部10を備えた容器1と、容器1に着脱自在に取り付けられる蓋2と、容器1が着脱自在に設置される設置部3と、設置部3に設置された容器1の底面部10を加熱する加熱器4と、を少なくとも備え、蓋2には、一つ又は複数の放散孔22が形成される、ことを特徴としている。
【選択図】図1
特許請求の範囲
【請求項1】
固形の芳香材が載せられる底面部を備えた容器と、前記容器に着脱自在に取り付けられる蓋と、前記容器が着脱自在に設置される設置部と、前記設置部に設置された前記容器の前記底面部を下方から加熱する加熱器と、を少なくとも備え、
前記蓋には、一つ又は複数の放散孔が形成される、芳香器。
続きを表示(約 950 文字)
【請求項2】
前記芳香材は、天然素材である、請求項1に記載の芳香器。
【請求項3】
前記加熱器は、ヒータープレートであり、
前記ヒータープレートは、前記設置部に固定され、
前記容器は、前記底面部の下面が前記ヒータープレートの上面と接するように前記設置部に設置される、請求項1に記載の芳香器。
【請求項4】
前記容器は、前記底面部の外周縁から立ち上がる周面部と、前記周面部の上縁から外側に突き出るフランジ部と、をさらに備え、
前記設置部は、前記ヒータープレートの周囲に、前記フランジ部が載せられる支持部を備え、
前記支持部は、断熱性を有する、請求項3に記載の芳香器。
【請求項5】
前記蓋は、外周縁部を前記容器に載せることで、前記容器に取り付けられ、
前記蓋の前記外周縁部又は前記容器において前記蓋の前記外周縁部が載せられる部分には、鉛直方向を向く少なくとも一つの突起が設けられる、請求項1に記載の芳香器。
【請求項6】
前記蓋は、外周縁部を前記容器に載せることで、前記容器に取り付けられ、
前記容器は、前記蓋の前記外周縁部を囲む囲繞壁部をさらに備える、請求項1又は5に記載の芳香器。
【請求項7】
前記蓋の前記外周縁部又は前記容器の前記囲繞壁部には、水平方向を向く少なくとも一つの突起が設けられる、請求項6に記載の芳香器。
【請求項8】
前記容器は、前記囲繞壁部に設けられた把手をさらに備える、請求項6に記載の芳香器。
【請求項9】
前記蓋は、外周縁部を前記容器に載せることで、前記容器に取り付けられ、
前記蓋は、鉛直断面が外周縁よりも中央の方が高く盛り上がる形状をなすように形成され、かつ、平面視における中央部に設けられた把手をさらに備える、請求項1に記載の芳香器。
【請求項10】
前記容器は、前記底面部の外周縁から立ち上がる周面部と、前記周面部の上縁から外側に突き出るフランジ部と、をさらに備え、
前記蓋は、前記外周縁部を前記フランジ部に載せることで、前記容器に取り付けられる、請求項9に記載の芳香器。
発明の詳細な説明
【技術分野】
【0001】
本開示は、固形の芳香材を加熱して香りを拡散させる芳香器に関する。
続きを表示(約 1,000 文字)
【背景技術】
【0002】
従来より、アロマオイルなどの液状の芳香材を加熱することで香りを拡散させる芳香器が知られている(例えば特許文献1を参照)。芳香器から拡散される香りの効果により、ユーザはリラックス効果、リフレッシュ効果などの種々の効果を得られる。
【0003】
従来の芳香器では、芳香材が受け皿に入れられ、例えば受け皿の下方に設置されたろうそくの炎、あるいは、電球又はLEDの点灯時の熱によって芳香材が加熱される。これにより、芳香材が気化することで香りが拡散する。
【先行技術文献】
【特許文献】
【0004】
特開2004-55360号公報
【発明の概要】
【発明が解決しようとする課題】
【0005】
従来の芳香器では、受け皿を芳香器から取り外すことができない。そのため、受け皿に芳香材を入れる際及び容器から使用済みの芳香材を取り除く際に、受け皿をユーザの手元に置くためには芳香器ごと置かなければならない。この場合、受け皿は芳香器において高い位置にあるため、芳香材を入れ替えなどがしにくいとの課題がある。また、香りの成分が異なる芳香材を受け皿に入れる際には、受け皿を洗って受け皿に付着した汚れなどを落とす必要がある。しかし、受け皿を芳香器から取り外すことができないと、受け皿を容易に洗うことができず、メンテナンスしにくいとの課題がある。
【0006】
本開示は、上記課題を解決できる芳香器の提供を目的とする。
【課題を解決するための手段】
【0007】
本開示の芳香器は、上記課題を解決するため、以下の項1に記載の芳香器を主題として包含する。
【0008】
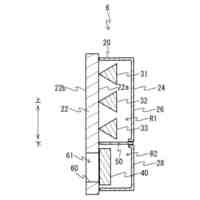
項1.固形の芳香材が載せられる底面部を備えた容器と、前記容器に着脱自在に取り付けられる蓋と、前記容器が着脱自在に設置される設置部と、前記設置部に設置された前記容器の前記底面部を加熱する加熱器と、を少なくとも備え、
前記蓋には、一つ又は複数の放散孔が形成される、芳香器。
【0009】
また、本開示の芳香器は、上記項1に記載の芳香器の好ましい態様として、以下の項2に記載の芳香器を包含する。
【0010】
項2.前記芳香材は、天然素材である、項1に記載の芳香器。
(【0011】以降は省略されています)
この特許をJ-PlatPat(特許庁公式サイト)で参照する
関連特許
個人
照明装置
13日前
個人
消火器設置表示装置
24日前
株式会社小糸製作所
車両用灯具
16日前
株式会社小糸製作所
車両用灯具
27日前
株式会社小糸製作所
車両用灯具
27日前
株式会社小糸製作所
車両用灯具
28日前
株式会社小糸製作所
車両用灯具
1か月前
スタンレー電気株式会社
車両用灯具
21日前
市光工業株式会社
車両用灯具
13日前
市光工業株式会社
車両用灯具
6日前
豊田合成株式会社
車両用外装品
23日前
豊田合成株式会社
車両用外装品
21日前
株式会社トリニティ
電子発光仏具の発光方法
6日前
豊田合成株式会社
車両用発光装置
13日前
豊田合成株式会社
車両用発光装置
13日前
国立研究開発法人物質・材料研究機構
照明装置
1日前
豊田合成株式会社
車両用発光装置
13日前
矢崎総業株式会社
照明装置
23日前
アイリスオーヤマ株式会社
照明装置
23日前
株式会社ファルテック
車両用外装部品
13日前
日亜化学工業株式会社
発光装置
16日前
市光工業株式会社
車両用灯具
8日前
DNライティング株式会社
長尺LED照明装置
21日前
コイズミ照明株式会社
照明器具
22日前
いすゞ自動車株式会社
車両用灯具
8日前
コイズミ照明株式会社
照明器具
8日前
コイズミ照明株式会社
照明器具
8日前
株式会社レイマック
テレセントリックレンズ用同軸照明装置
27日前
パナソニックIPマネジメント株式会社
照明装置
13日前
市光工業株式会社
車両用灯具
8日前
三菱電機株式会社
光源デバイス
14日前
株式会社小糸製作所
車輌用灯具
27日前
YKK AP株式会社
採光装置
8日前
日亜化学工業株式会社
発光モジュール及びモバイルデバイス
13日前
サノフイ
GLP-1Rアゴニスト/FGF21融合タンパク質
7日前
ウニベルシダッド アウトノマ デ バルセロナ
線維芽細胞増殖因子21(FGF21)遺伝子療法
1日前
続きを見る
他の特許を見る