TOP
|
特許
|
意匠
|
商標
特許ウォッチ
Twitter
他の特許を見る
公開番号
2025168877
公報種別
公開特許公報(A)
公開日
2025-11-12
出願番号
2024073703
出願日
2024-04-30
発明の名称
車両用灯具
出願人
いすゞ自動車株式会社
代理人
弁理士法人創光国際特許事務所
主分類
F21S
45/00 20180101AFI20251105BHJP(照明)
要約
【課題】ハウジング内の測定ユニットの温度上昇を抑制する。
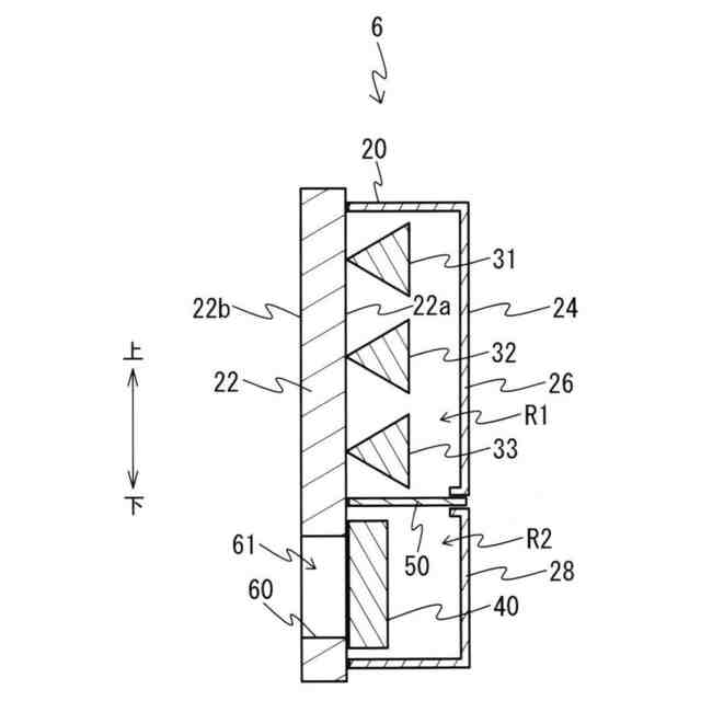
【解決手段】リアランプ6は、ハウジング20と、ハウジング20内に設けられハウジング20内を第1領域R1と第2領域R2に分ける仕切り部50と、第1領域R1に設けられた灯具ユニット31~33と、第2領域R2に設けられた測定ユニット40を備える。ハウジング20は、第2領域R2とハウジング20の外部とを連通する開口61が設けられた開口部60を有する。
【選択図】図2
特許請求の範囲
【請求項1】
ハウジングと、
前記ハウジング内に設けられ、前記ハウジング内を第1領域と第2領域に分ける仕切り部と、
前記第1領域に設けられた灯具ユニットと、
前記第2領域に設けられた測定ユニットと、
を備え、
前記ハウジングは、前記第2領域と前記ハウジングの外部とを連通する開口が設けられた開口部を有する、
車両用灯具。
続きを表示(約 730 文字)
【請求項2】
前記ハウジングは、前記灯具ユニット及び前記測定ユニットを支持する支持部を有し、
前記開口部は、前記支持部に設けられている、
請求項1に記載の車両用灯具。
【請求項3】
前記開口部の前記開口は、前記支持部の前記測定ユニットの背面に対向している部分に位置する、
請求項2に記載の車両用灯具。
【請求項4】
前記開口部の前記開口は、前記測定ユニットの背面全体よりも大きく、前記測定ユニットと対向するように位置する、
請求項3に記載の車両用灯具。
【請求項5】
前記ハウジングは、前記灯具ユニット及び前記測定ユニットを覆っているカバー部材を有し、
前記第1領域は、前記支持部と前記カバー部材と前記仕切り部とによって密閉された領域である、
請求項2に記載の車両用灯具。
【請求項6】
前記カバー部材は、
前記灯具ユニットを覆っている第1カバー部と、
前記測定ユニットを覆っており、電磁波の透過率が前記第1カバー部の電磁波の透過率と異なる第2カバー部と、を有する、
請求項5に記載の車両用灯具。
【請求項7】
前記ハウジングは、車両の後部に着脱可能に取り付けられており、
前記灯具ユニットは、ブレーキランプ、ウインカーランプ、及びテールランプの内、少なくとも一つを含む、
請求項1乃至6のいずれか1項に記載の車両用灯具。
【請求項8】
前記測定ユニットは、出力した電磁波を受信するレーダユニットである、
請求項1乃至6のいずれか1項に記載の車両用灯具。
発明の詳細な説明
【技術分野】
【0001】
本発明は、車両用灯具に関する。
続きを表示(約 1,000 文字)
【背景技術】
【0002】
下記の特許文献1には、ランプユニットを収容するハウジング内に測定ユニット(具体的には、ミリ波レーダユニット)が設けられた車両用灯具が開示されている。ランプユニットの防水の観点から、ハウジング内は密閉されている。
【先行技術文献】
【特許文献】
【0003】
特開2010-15721号公報
【発明の概要】
【発明が解決しようとする課題】
【0004】
ところで、測定ユニットの性能を発揮するためには、測定ユニットの温度を所定温度以下に抑える必要がある。しかし、ハウジング内が密閉されているため、外気温が高い場合等には、ハウジング内の測定ユニットの温度が高くなってしまう。この結果、測定ユニットによる測定性能が低下するおそれがある。
【0005】
そこで、本発明はこれらの点に鑑みてなされたものであり、ハウジング内の測定ユニットの温度上昇を抑制することを目的とする。
【課題を解決するための手段】
【0006】
本発明の一の態様においては、ハウジングと、前記ハウジング内に設けられ、前記ハウジング内を第1領域と第2領域に分ける仕切り部と、前記第1領域に設けられた灯具ユニットと、前記第2領域に設けられた測定ユニットと、を備え、前記ハウジングは、前記第2領域と前記ハウジングの外部とを連通する開口が設けられた開口部を有する、車両用灯具を提供する。
【0007】
また、前記ハウジングは、前記灯具ユニット及び前記測定ユニットを支持する支持部を有し、前記開口部は、前記支持部に設けられていることとしてもよい。
【0008】
また、前記開口部の前記開口は、前記支持部の前記測定ユニットの背面に対向している部分に位置することとしてもよい。
【0009】
また、前記開口部の前記開口は、前記測定ユニットの背面全体よりも大きく、前記測定ユニットと対向するように位置することとしてもよい。
【0010】
また、前記ハウジングは、前記灯具ユニット及び前記測定ユニットを覆っているカバー部材を有し、前記第1領域は、前記支持部と前記カバー部材と前記仕切り部とによって密閉された領域であることとしてもよい。
(【0011】以降は省略されています)
この特許をJ-PlatPat(特許庁公式サイト)で参照する
関連特許
いすゞ自動車株式会社
車両用灯具
9日前
いすゞ自動車株式会社
排気処理装置
1日前
いすゞ自動車株式会社
姿勢補正装置
14日前
いすゞ自動車株式会社
ガス処理装置
29日前
いすゞ自動車株式会社
ガス処理装置
29日前
いすゞ自動車株式会社
バッテリ取付構造
9日前
いすゞ自動車株式会社
バッテリー交換台車
9日前
いすゞ自動車株式会社
バッテリの組立構造
9日前
いすゞ自動車株式会社
バッテリの支持構造
9日前
いすゞ自動車株式会社
バッテリの支持構造
9日前
いすゞ自動車株式会社
バッテリの支持構造
9日前
いすゞ自動車株式会社
電動車両の制御システム
9日前
いすゞ自動車株式会社
電動車両の制御システム
9日前
いすゞ自動車株式会社
電動車両の制御システム
9日前
いすゞ自動車株式会社
モータのコイルの製造方法
29日前
いすゞ自動車株式会社
バッテリ取付装置、及び車両
9日前
いすゞ自動車株式会社
バッテリ取付装置、及び車両
9日前
いすゞ自動車株式会社
ピストン、エンジン、及び車両
1か月前
いすゞ自動車株式会社
電動車両のバッテリ交換システム
9日前
いすゞ自動車株式会社
シリンダブロック、エンジン、及び車両
1か月前
いすゞ自動車株式会社
詰まり判定装置及び詰まり判定システム
1か月前
いすゞ自動車株式会社
詰まり判定装置及び詰まり判定システム
1か月前
いすゞ自動車株式会社
モータのコイルの製造方法、及びモータのコイル
29日前
いすゞ自動車株式会社
基板取付構造およびフレキシブルプリント回路基板
29日前
いすゞ自動車株式会社
バッテリコネクタの組付構造、バッテリユニット、および、バッテリユニットの支持構造
9日前
個人
照明装置
14日前
個人
室外機器
5か月前
個人
照明システム
4か月前
個人
消火器設置表示装置
25日前
個人
車載機器の通気構造
2か月前
個人
気泡を用いた遊具。
7か月前
株式会社遠藤照明
照明装置
2か月前
株式会社遠藤照明
照明器具
6か月前
株式会社小糸製作所
車両用灯具
1か月前
デンカ株式会社
照明装置
5か月前
個人
LEDライト
4か月前
続きを見る
他の特許を見る